TOP
|
特許
|
意匠
|
商標
特許ウォッチ
Twitter
他の特許を見る
公開番号
2025110210
公報種別
公開特許公報(A)
公開日
2025-07-28
出願番号
2024004015
出願日
2024-01-15
発明の名称
清掃方法、清掃用スポンジ及び清掃装置
出願人
株式会社石野製作所
代理人
弁理士法人秀和特許事務所
主分類
B08B
9/023 20060101AFI20250718BHJP(清掃)
要約
【課題】本発明は、複数の搬送ローラによって形成された搬送路を容易に清掃可能な清掃方法及び清掃用スポンジを提供することを目的とする。
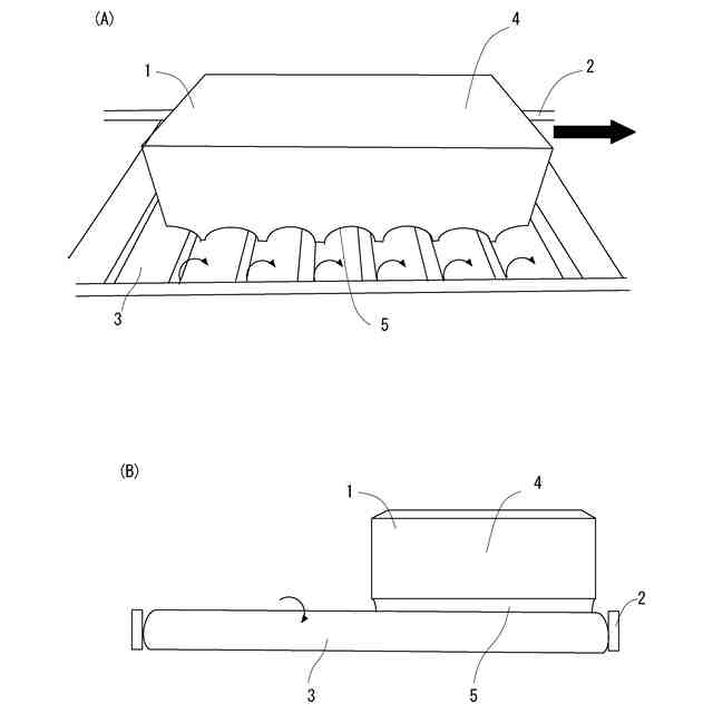
【解決手段】搬送物を搬送する搬送路を清掃する清掃方法であって、本体部4と、本体部4の一面において、本体部4の長手方向に沿って複数設けられ、厚み方向に円弧状に凹む凹部5を備え、凹部5は、本体部の一端から他端まで延在する清掃用スポンジ1の凹部5が搬送路2を形成する搬送ローラ3の外周面と接するように清掃用スポンジ1を配置する配置工程と、配置工程によって清掃用スポンジ1が搬送路を形成する搬送ローラ3の外周面と接するように配置された状態で、清掃用スポンジ1を搬送路2の幅方向に動かし、搬送ローラ3の外周面を清掃する清掃工程と、を含む。
【選択図】図1
特許請求の範囲
【請求項1】
搬送物を搬送する搬送路を清掃する清掃方法であって、
本体部と、前記本体部の一面において、前記本体部の長手方向に沿って複数設けられ、厚み方向に円弧状に凹む凹部を備え、前記凹部は、前記本体部の一端から他端まで延在する清掃用スポンジの前記凹部が前記搬送路を形成する搬送ローラの外周面と接するように前記清掃用スポンジを配置する配置工程と、
前記配置工程によって前記清掃用スポンジが前記搬送路を形成する前記搬送ローラの外周面と接するように配置された状態で、前記清掃用スポンジを前記搬送路の幅方向に動かし、前記搬送ローラの外周面を清掃する清掃工程と、を含む、
清掃方法。
続きを表示(約 900 文字)
【請求項2】
前記凹部は、前記搬送ローラの外周形状に沿う形状を有し、
前記清掃工程の後、前記搬送ローラを回転させながら隣接する前記搬送ローラに前記凹部が接するように前記清掃用スポンジを移動させる移動工程を含み、
前記移動工程は、前記移動工程の回転によって露出した前記清掃工程によって清掃されていない前記搬送ローラの外周面に、前記移動工程によって隣接する前記搬送ローラに移動した前記凹部と隣接する前記凹部が接するように前記清掃用スポンジを再配置する、
請求項1に記載の清掃方法。
【請求項3】
前記凹部は、隣り合う前記凹部との距離が前記本体部の一端から他端に向かうにつれて長くなり、
前記配置工程は、前記搬送ローラと隣接する前記搬送ローラの距離が前記幅方向の一端から他端にかけて長くなる前記搬送路を形成する前記搬送ローラの外周面と接するように配置する、
請求項1又は2に記載の清掃方法。
【請求項4】
本体部と、
前記本体部の一面において、前記本体部の長手方向に沿って複数設けられ、厚み方向に円弧状に凹む凹部と、を備え、
前記凹部は、前記本体部の一端から他端まで延在する、
清掃用スポンジ。
【請求項5】
前記凹部は、隣り合う前記凹部との前記本体部の一端から他端までの距離が一様である、
請求項4に記載の清掃用スポンジ。
【請求項6】
前記凹部は、隣り合う前記凹部との距離が前記本体部の一端から他端に向かうにつれて長くなる、
請求項4に記載の清掃用スポンジ。
【請求項7】
前記本体部の短手方向の両端部は、直線状である、
請求項4から6の何れか一項に記載の清掃用スポンジ。
【請求項8】
前記凹部は、搬送物を搬送する搬送ローラの外周面に沿う形状を有している、
請求項4から6の何れか一項に記載のスポンジ。
【請求項9】
請求項4から6の何れか一項に記載の清掃用スポンジを備える清掃装置。
発明の詳細な説明
【技術分野】
【0001】
本発明は、清掃方法、清掃用スポンジ及び清掃装置に関する。
続きを表示(約 1,400 文字)
【背景技術】
【0002】
清掃用スポンジによって清掃する対象は平面で構成されているとは限らない。そのため、平面で構成されていない対象を清掃するための清掃用スポンジが開発されている。例えば、パイプ等の被清掃物体を包み込む貫通穴とこの貫通穴に達する切れ目とを形成した清掃用スポンジが開示されている(特許文献1)。
【先行技術文献】
【特許文献】
【0003】
特開2003-211108号公報
【発明の概要】
【発明が解決しようとする課題】
【0004】
清掃用スポンジによって清掃する対象は、清掃用スポンジに形成された貫通穴で包み込むことができない大きさを有することがある。例えば、搬送物を搬送する搬送路が考えられる。搬送物を搬送する搬送路は、複数の搬送ローラによって形成されるものがある。
【0005】
複数の搬送ローラによって形成される搬送路を清掃する場合、個々の搬送ローラの外周面を全周に渡って漏れなく清掃するには、搬送ローラを少しずつ回転させながら1つずつ丁寧に清掃する必要があり、時間や手間がかかる。
【0006】
本発明は、複数の搬送ローラによって形成された搬送路を容易に清掃可能な清掃方法及び清掃用スポンジを提供することを目的とする。
【課題を解決するための手段】
【0007】
本発明の一側面に係る清掃方法は、搬送物を搬送する搬送路を清掃する清掃方法であって、本体部と、本体部の一面において、本体部の長手方向に沿って複数設けられ、厚み方向に円弧状に凹む凹部を備え、凹部は、本体部の一端から他端まで延在する清掃用スポンジの凹部が搬送路を形成する搬送ローラの外周面と接するように清掃用スポンジを配置する配置工程と、配置工程によって清掃用スポンジが搬送路を形成する搬送ローラの外周面と接するように配置された状態で、清掃用スポンジを搬送路の幅方向に動かし、搬送ローラの外周面を清掃する清掃工程と、を含む。
【0008】
上記の清掃方法であれば、清掃用スポンジに設けられた凹部が搬送ローラの外周面に配置されるため、清掃工程において清掃用スポンジを搬送路の幅方向に動かすだけで、搬送ローラの外周面を容易に清掃することが可能となる。また、清掃用スポンジに複数の凹部を備えるため、1回の清掃工程で複数の搬送ローラを同時に清掃可能である。
【0009】
また、凹部は、搬送ローラの外周形状に沿う形状を有し、清掃工程の後、搬送ローラを回転させながら隣接する搬送ローラに凹部が接するように清掃用スポンジを移動させる移動工程を含み、移動工程は、移動工程の回転によって露出した清掃工程によって清掃されていない搬送ローラの外周面に、移動工程によって隣接する搬送ローラに移動した凹部と隣接する凹部が接するように清掃用スポンジを再配置してもよい。
【0010】
上記の清掃方法であれば、移動工程において、搬送ローラを回転させることによって搬
送ローラの全周を複数回の清掃工程に分けて清掃可能である。このため、清掃用スポンジによって搬送ローラの外周面を全周に渡って漏れなく清掃することが可能となる。
(【0011】以降は省略されています)
この特許をJ-PlatPat(特許庁公式サイト)で参照する
関連特許
個人
ブラシ付きノズル
1か月前
個人
物体表面洗浄装置
8日前
三浦工業株式会社
洗浄システム
1か月前
株式会社シロハチ
長尺物用の清掃用具
1か月前
株式会社未来造形
チェーン洗浄具
1日前
有限会社アサヒライフ企画
2WAY水切りワイパー
3か月前
大裕株式会社
敷鉄板表面の溶接残留物除去装置
1か月前
三浦工業株式会社
洗浄装置
2か月前
トヨタ自動車株式会社
配管洗浄装置
2か月前
株式会社PFA
異物除去装置、異物除去方法およびプログラム
3か月前
株式会社ブリヂストン
配管清掃方法
3か月前
工機ホールディングス株式会社
作業機
2か月前
株式会社松井製作所
液体供給装置及び液体供給方法
3か月前
株式会社奥村組
洗浄器具および洗浄方法
1日前
バンドー化学株式会社
クリーニング装置
4か月前
日本電気株式会社
ファン、制御方法、通知方法およびプログラム
5日前
日本ゼオン株式会社
光学フィルムの製造方法
25日前
株式会社ブルー・スターR&D
超音波照射装置
3か月前
個人
排水管洗浄システムの高圧ホース供給機
3か月前
国立大学法人九州工業大学
砂状粒子除去装置及び砂状粒子除去方法
3か月前
株式会社石野製作所
清掃方法、清掃用スポンジ及び清掃装置
2か月前
富士フイルムビジネスイノベーション株式会社
清掃装置
2か月前
三菱重工業株式会社
配管内部の付着物除去装置および方法
2か月前
株式会社ブリヂストン
洗浄ノズル補助部材及び洗浄ノズル
3か月前
三菱重工機械システム株式会社
残渣回収装置およびケース製造装置
3か月前
株式会社LIXIL
水垢の処理方法、着色剤、及び着色済み基材
1か月前
パナソニックIPマネジメント株式会社
洗浄機
3か月前
株式会社キョウデンプレシジョン
洗浄機監視システム
4か月前
フェッテ コンパクティング ゲーエムベーハー
錠剤またはカプセルの除塵装置および方法
3か月前
タケウチビユーテー株式会社
ホームドア洗浄装置、ホームドア洗浄装置用の連結構造、及びホームドア洗浄方法
1か月前
キリンホールディングス株式会社
廃プラスチックフレークの洗浄装置及び廃プラスチックフレークの洗浄方法
3か月前
揚發實業有限公司
洗浄機に用いられるノズル揺動機構
15日前
華能(浙江)能源開発有限公司玉環分公司
石炭搬送システムに溜まった石炭を清掃するためのロボット
3か月前
タケウチビユーテー株式会社
ホームドア洗浄装置及びホームドア洗浄方法
3か月前
青島海爾洗衣机有限公司
超音波洗浄装置
1か月前
株式会社クボタ
処理剤収容部用清掃装置および処理剤収容部の清掃方法
2か月前
続きを見る
他の特許を見る