TOP
|
特許
|
意匠
|
商標
特許ウォッチ
Twitter
他の特許を見る
10個以上の画像は省略されています。
公開番号
2025122797
公報種別
公開特許公報(A)
公開日
2025-08-22
出願番号
2024018452
出願日
2024-02-09
発明の名称
レシプロソー
出願人
株式会社マキタ
代理人
弁理士法人酒井国際特許事務所
主分類
B23D
49/16 20060101AFI20250815BHJP(工作機械;他に分類されない金属加工)
要約
【課題】ハウジングの前面に設けられている開口部を作業性良く露出させること。
【解決手段】レシプロソーは、モータと、モータよりも前側に配置され、ブレードが固定されるスライダと、モータの回転力に基づいてスライダを前後方向に往復動させる往復動変換機構と、スライダを収容するハウジングと、ブレードが配置されるブレード開口を有し、ハウジングの前面に設けられた開口部を覆うようにハウジングに取り付けられるシューと、を備える。シューは、ハウジングに取り付けられている状態で、開口部が露出するようにハウジングの前面から退避する。
【選択図】図23
特許請求の範囲
【請求項1】
モータと、
前記モータよりも前側に配置され、ブレードが固定されるスライダと、
前記モータの回転力に基づいて前記スライダを前後方向に往復動させる往復動変換機構と、
前記スライダを収容するハウジングと、
前記ブレードが配置されるブレード開口を有し、前記ハウジングの前面に設けられた開口部を覆うように前記ハウジングに取り付けられるシューと、を備え、
前記シューは、前記ハウジングに取り付けられている状態で、前記開口部が露出するように前記ハウジングの前面から退避する、
レシプロソー。
続きを表示(約 860 文字)
【請求項2】
モータと、
前記モータよりも前側に配置され、ブレードが固定されるスライダと、
前記モータの回転力に基づいて前記スライダを前後方向に往復動させる往復動変換機構と、
前記スライダを収容するハウジングと、
前記ブレードが配置されるブレード開口を有し、前記ハウジングの前面に設けられた開口部を覆うように前記ハウジングに取り付けられるシューと、を備え、
前記シューは、前記ハウジングに回動可能に取り付けられ、回動することにより前記ハウジングの前面から退避する、
レシプロソー。
【請求項3】
前記シューは、前記ハウジングの前面から離隔するように前方に移動した後、回動することにより前記ハウジングの前面から退避する、
請求項1又は請求項2に記載のレシプロソー。
【請求項4】
前記シューは、前記ハウジングの前面に対向する状態から前記ハウジングの側面に対向する状態に変化するように、前記ハウジングに回動可能に取り付けられる、
請求項3に記載のレシプロソー。
【請求項5】
前記シューは、
前記ハウジングの前面に対向し、前記ブレード開口を有する前板部と、
前記ハウジングの下面に対向し、前後方向に長い長孔を有する下板部と、を有し、
前記長孔を介して前記ハウジングの下面に設けられたねじ孔に結合されるねじを備え、
前記シューは、前記ねじが前記ねじ孔に挿入されている状態で、前記ハウジングの前端部から離隔するように前方に移動した後、前記前板部が前記ハウジングの側面に対向するように回動する、
請求項4に記載のレシプロソー。
【請求項6】
左右方向において、前記長孔は、前記下板部の中心よりも一方側に設けられ、
前記シューは、前記ハウジングの左右の側面のうち、一方側の側面に対向するように回動する、
請求項5に記載のレシプロソー。
発明の詳細な説明
【技術分野】
【0001】
本明細書で開示する技術は、レシプロソーに関する。
続きを表示(約 2,300 文字)
【背景技術】
【0002】
レシプロソーに係る技術分野において、特許文献1に開示されているような、ハウジングの前端部に取り付けられるシューを備えるレシプロソーが知られている。
【先行技術文献】
【特許文献】
【0003】
実開平3-19623号公報
【発明の概要】
【発明が解決しようとする課題】
【0004】
ハウジングの内側に配置されている部材を交換する場合、ハウジングの前端部からシューが外される。ハウジングの前端部からシューが外されることにより、ハウジングの前面に設けられている開口部が露出する。部材は、ハウジングの前面に設けられている開口部を介して搬出される。開口部を作業性良く露出させる技術が要望される。
【0005】
本明細書で開示する技術は、ハウジングの前面に設けられている開口部を作業性良く露出させることを目的とする。
【課題を解決するための手段】
【0006】
本明細書は、レシプロソーを開示する。レシプロソーは、モータと、モータよりも前側に配置され、ブレードが固定されるスライダと、モータの回転力に基づいてスライダを前後方向に往復動させる往復動変換機構と、スライダを収容するハウジングと、ブレードが配置されるブレード開口を有し、ハウジングの前面に設けられた開口部を覆うようにハウジングに取り付けられるシューと、を備えてもよい。シューは、ハウジングに取り付けられている状態で、開口部が露出するようにハウジングの前面から退避してもよい。
【発明の効果】
【0007】
本明細書で開示する技術によれば、ハウジングの前面に設けられている開口部を作業性良く露出させることができる。
【図面の簡単な説明】
【0008】
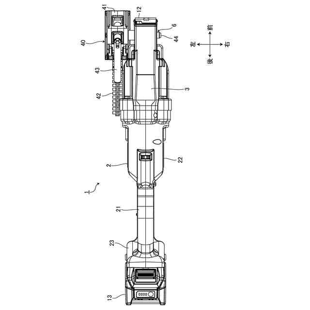
図1は、第1実施形態に係るレシプロソーを示す前側からの斜視図である。
図2は、第1実施形態に係るレシプロソーを示す後側からの斜視図である。
図3は、第1実施形態に係るレシプロソーを上側から見た図である。
図4は、第1実施形態に係るレシプロソーを下側から見た図である。
図5は、第1実施形態に係るレシプロソーを右側から見た図である。
図6は、第1実施形態に係るレシプロソーを示す断面図である。
図7は、第1実施形態に係るレシプロソーを示す後側からの分解斜視図である。
図8は、第1実施形態に係るバイスを示す前側からの斜視図である。
図9は、第1実施形態に係るバイスを示す後側からの斜視図である。
図10は、第1実施形態に係るバイスを右側から見た図である。
図11は、第1実施形態に係るバイスを示す断面図である。
図12は、第1実施形態に係るバイスの一部を示す断面図である。
図13は、第1実施形態に係るバイスの一部を示す後側からの斜視図である。
図14は、第1実施形態に係るバイスベースに装着される前のチェーンの一部を示す後側からの斜視図である。
図15は、第1実施形態に係るバイスの一部を示す後側からの分解斜視図である。
図16は、第1実施形態に係るバイスの一部を上側から見た図である。
図17は、第1実施形態に係る弾性部材を示す後側からの斜視図である。
図18は、第1実施形態に係る挿入空間に挿入される直前のチェーンの一部を右側から見た図である。
図19は、実施形態に係るレシプロソーの前部を示す斜視図である。
図20は、実施形態に係るスライダとブレードとの固定構造を示す斜視図である。
図21は、実施形態に係るレシプロソーの前部を下側から見た図である。
図22は、実施形態に係るブレードクランプを交換する方法を説明するための図である。
図23は、実施形態に係るブレードクランプを交換する方法を説明するための図である。
図24は、第2実施形態に係るバイスを被削材に固定する方法を説明するための断面図である。
図25は、第2実施形態に係るバイスを被削材に固定する方法を説明するための断面図である。
図26は、第2実施形態に係るバイスを被削材に固定する方法を説明するための断面図である。
図27は、第2実施形態に係るバイスを被削材に固定する方法を説明するための断面図である。
図28は、第3実施形態に係るバイスの一部を模式的に示す図である。
【発明を実施するための形態】
【0009】
1つ又はそれ以上の実施形態において、レシプロソーは、モータと、モータよりも前側に配置され、ブレードが固定されるスライダと、モータの回転力に基づいてスライダを前後方向に往復動させる往復動変換機構と、スライダを収容するハウジングと、ブレードが配置されるブレード開口を有し、ハウジングの前面に設けられた開口部を覆うようにハウジングに取り付けられるシューと、を備えてもよい。シューは、ハウジングに取り付けられている状態で、開口部が露出するようにハウジングの前面から退避してもよい。
【0010】
上記の構成では、シューは、ハウジングに取り付けられている状態で、開口部が露出するようにハウジングの前面から退避する。シューをハウジングから完全に分離しなくても、開口部を露出させることができるので、開口部は、作業性良く露出される。
(【0011】以降は省略されています)
特許ウォッチbot のツイートを見る
この特許をJ-PlatPat(特許庁公式サイト)で参照する
関連特許
株式会社マキタ
運搬車
1か月前
株式会社マキタ
運搬車
1か月前
株式会社マキタ
作業機
11日前
株式会社マキタ
電動工具
1か月前
株式会社マキタ
電動工具
1か月前
株式会社マキタ
電動工具
1か月前
株式会社マキタ
電動工具
1か月前
株式会社マキタ
電動作業機
5日前
株式会社マキタ
鉄筋結束機
13日前
株式会社マキタ
現場用作業機
14日前
株式会社マキタ
運搬システム
1か月前
株式会社マキタ
回転打撃工具
28日前
株式会社マキタ
ソーチェーン
1か月前
株式会社マキタ
ハンマドリル
8日前
株式会社マキタ
ハンマドリル
8日前
株式会社マキタ
金工用切断機
1か月前
株式会社マキタ
インパクト工具
18日前
株式会社マキタ
ダイグラインダ
1か月前
株式会社マキタ
インパクト工具
1か月前
株式会社マキタ
インパクト工具
1か月前
株式会社マキタ
コネクタおよび加工機
2か月前
株式会社マキタ
充電器及び充電システム
18日前
株式会社マキタ
電動工具及びインパクト工具
1か月前
株式会社マキタ
フレア形成装置及びフレア形成工具
25日前
株式会社マキタ
インパクト工具及びインパクトレンチ
18日前
株式会社マキタ
電動ねじ締め機及びアングルラチェットレンチ
1か月前
株式会社マキタ
電池パック
1か月前
株式会社マキタ
現場用機器における光学表示器の内部に回路基板を固定する技術
7日前
株式会社マキタ
送風機用のノズル、および送風機
1か月前
個人
タップ
6か月前
個人
フライス盤
1か月前
個人
加工機
5か月前
麗豊実業股フン有限公司
ラクトバチルス・パラカセイNB23菌株及びそれを筋肉量の増加や抗メタボリック症候群に用いる用途
5か月前
株式会社北川鉄工所
回転装置
4か月前
日東精工株式会社
ねじ締め機
1か月前
日東精工株式会社
ねじ締め機
2か月前
続きを見る
他の特許を見る