TOP
|
特許
|
意匠
|
商標
特許ウォッチ
Twitter
他の特許を見る
公開番号
2025123820
公報種別
公開特許公報(A)
公開日
2025-08-25
出願番号
2024019522
出願日
2024-02-13
発明の名称
基礎構造
出願人
戸田建設株式会社
代理人
弁理士法人東京アルパ特許事務所
主分類
E02D
27/34 20060101AFI20250818BHJP(水工;基礎;土砂の移送)
要約
【課題】水平力の伝達を完全に遮断する。
【解決手段】下基礎33は、第一の杭35によって支持されている。免震装置32は、第二の杭によって支持された躯体12と下基礎33との間に配置されている。擁壁31は、躯体12の下に配置され、下基礎33及び免震装置32の周りを取り囲んで、免震装置32の周りに空間を画定する。擁壁31は、下基礎33及び免震装置32から離間し独立していてもよい。下基礎33は、単一の第一の杭35のみによって支持されてもよい。
【選択図】図4
特許請求の範囲
【請求項1】
第一の杭によって支持された下基礎と、
第二の杭によって支持された躯体と前記下基礎との間に配置された免震装置と、
前記躯体の下に配置され、前記下基礎及び前記免震装置の周りを取り囲んで、前記免震装置の周りに空間を画定する擁壁と
を備える、基礎構造。
続きを表示(約 230 文字)
【請求項2】
前記擁壁は、前記下基礎及び前記免震装置から離間し独立している、
請求項1の基礎構造。
【請求項3】
前記下基礎は、単一の前記第一の杭のみによって支持されている、
請求項1又は2の基礎構造。
【請求項4】
前記下基礎と前記第一の杭との間に配置され、前記躯体から前記免震装置を介して前記下基礎に伝達される力を前記第一の杭に伝達する伝達部材
を更に備える、請求項1又は2の基礎構造。
発明の詳細な説明
【技術分野】
【0001】
この発明は、杭を用いた基礎構造に関する。
続きを表示(約 1,400 文字)
【背景技術】
【0002】
特許文献1~6は、古い建物を撤去するとき、古い建物の基礎を構成する杭を残置して、新しい建物の基礎の一部として再利用する基礎構造を開示している。
【先行技術文献】
【特許文献】
【0003】
特開2002-371567号公報
特開2003-82688号公報
特開2003-96794号公報
特開2003-306951号公報
特開2013-44213号公報
特開2013-87507号公報
【発明の概要】
【発明が解決しようとする課題】
【0004】
特許文献1~6では、既存杭と新設基礎との間に様々な構造を設けて、既存杭に水平力を伝達せず、垂直力だけを伝達するようにしている。
しかし、これらの構造では、水平力の伝達を完全に遮断することはできない。
この発明は、例えばこのような課題を解決することを目的とする。
【課題を解決するための手段】
【0005】
基礎構造は、下基礎と、免震装置と、擁壁とを有する。前記下基礎は、第一の杭によって支持されている。前記免震装置は、第二の杭によって支持された躯体と前記下基礎との間に配置されている。前記擁壁は、前記躯体の下に配置され、前記下基礎及び前記免震装置の周りを取り囲んで、前記免震装置の周りに空間を画定する。
【発明の効果】
【0006】
前記基礎構造によれば、躯体と下基礎との間に免震装置が配置されているので、躯体からの水平力が第一の杭に伝達されず、垂直力だけを第一の杭に伝達することができる。擁壁によって免震装置の周りに空間が画定されているので、躯体と第一の杭とを完全に分離することができる。
【図面の簡単な説明】
【0007】
基礎構造の一例を示す平面図。
基礎構造の一例を示す側面図。
基礎構造の一例を示す底面図。
基礎構造の一例を示す側面視断面図。
【発明を実施するための形態】
【0008】
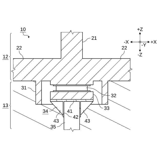
図1~4を参照して、建物10について説明する。
建物10は、例えば、躯体12と、基礎構造13とを有する。
【0009】
躯体12は、例えば、柱21と、基礎梁22と、柱梁接合部23とを有する。
柱21は、例えば鉄筋コンクリートや鉄骨製であり、鉛直方向(±Z方向)に沿って延びている。
柱梁接合部23は、例えば鉄筋コンクリート製であり、柱21の下側(-Z側)の端部に設けられている。
基礎梁22は、例えば鉄筋コンクリート製であり、柱梁接合部23から四方(±X方向及び±Y方向)に向けて延びている。
【0010】
基礎構造13は、躯体12を支持する。基礎構造13は、例えば、擁壁31と、免震装置32と、下基礎33と、伝達部材34と、杭35とを有する。
杭35(第一の杭の一例)は、例えば鉄筋コンクリート製であり、鉛直方向(±Z方向)に沿って延びている。杭35は、柱梁接合部23の真下(-Z方向)に配置され、地中に埋設されている。杭35は、例えば、建物10が建設される土地に建っていた古い建物の杭であり、古い建物を撤去したのち残置されたものを再利用したものである。
(【0011】以降は省略されています)
この特許をJ-PlatPat(特許庁公式サイト)で参照する
関連特許
戸田建設株式会社
設計方法
6日前
戸田建設株式会社
超高強度吹付けコンクリート及びその吹付け方法
1日前
戸田建設株式会社
仮想輸送経路の提案方法及び仮想輸送経路の提案システム
5日前
戸田建設株式会社
学習済みモデル、情報処理装置、情報処理方法、情報処理プログラム
5日前
鈴健興業株式会社
敷板部材
12日前
個人
擁壁用ブロックおよび擁壁
13日前
株式会社ネクステリア
平板基礎
12日前
株式会社熊谷組
山留壁用親杭
5日前
株式会社熊谷組
地盤改良方法
8日前
日立建機株式会社
作業機械
5日前
日立建機株式会社
作業機械
5日前
日立建機株式会社
建設機械
6日前
日立建機株式会社
建設機械
6日前
日立建機株式会社
建設機械
12日前
日立建機株式会社
作業機械
6日前
日立建機株式会社
作業車両
1日前
日立建機株式会社
作業機械
5日前
日本車輌製造株式会社
建設機械
1日前
鹿島建設株式会社
接続方法および接続構造
1日前
カナデビア株式会社
サクション基礎
6日前
ライト工業株式会社
鉄筋保持用治具
6日前
株式会社竹内製作所
作業用車両
5日前
JFEスチール株式会社
鋼管矢板の継手構造
6日前
日立建機株式会社
電動式作業機械
12日前
株式会社竹内製作所
作業用車両
5日前
株式会社竹内製作所
作業用車両
5日前
株式会社竹内製作所
作業用車両
5日前
株式会社日立建機ティエラ
建設機械
7日前
山形新興株式会社
建築物の基礎及び基礎成形型
今日
清水建設株式会社
遮水層の構築方法
5日前
浙江工業大学
多機能土柱モデル装置及び使用方法
12日前
清水建設株式会社
免震装置の基礎構造
6日前
ヤンマーホールディングス株式会社
作業機械
8日前
コベルコ建機株式会社
施工システム
5日前
日立建機株式会社
作業機械
6日前
日立建機株式会社
作業機械
12日前
続きを見る
他の特許を見る