TOP
|
特許
|
意匠
|
商標
特許ウォッチ
Twitter
他の特許を見る
10個以上の画像は省略されています。
公開番号
2025126349
公報種別
公開特許公報(A)
公開日
2025-08-28
出願番号
2025111285,2023102477
出願日
2025-07-01,2023-06-22
発明の名称
検出装置および時計
出願人
カシオ計算機株式会社
代理人
個人
,
個人
主分類
G04G
21/02 20100101AFI20250821BHJP(時計)
要約
【課題】 センサによる検出感度を確保できる検出装置およびそれを備えた時計を提供する。
【解決手段】 ユーザによる使用の際に、少なくともユーザの肌に対向する主面の一部が開口している本体ケースである腕時計ケース1と、この腕時計ケース1内に設けられるセンサ基板7と、腕時計ケース1内においてセンサ基板7の下方に設けられ、生体情報を検出する第1検出部である脈拍センサ10と、この脈拍センサ10の下方、かつ腕時計ケース1の開口に対応して設けられる窓部9と、センサ基板7と窓部9との間に設けられ、窓部9を介して自機がユーザの肌に接触または近接しているか否かを検出する第2検出部である身体装着センサ11と、を備えている。従って、腐食や摩耗を防ぐことができると共に、身体装着センサ11による検出感度を確保することができる。
【選択図】 図5
特許請求の範囲
【請求項1】
ユーザによる使用の際に、少なくとも前記ユーザの肌に対向する主面の一部が開口している本体ケースと、
前記本体ケース内に設けられる基板と、
前記本体ケース内において前記基板の下方に設けられ、生体情報を検出する第1検出部と、
前記第1検出部の下方、かつ前記本体ケースの開口に対応して設けられる窓部と、
前記基板と前記窓部との間において、前記窓部に対向し、かつ金属で形成された部材と対向しないように設けられ、前記窓部を介して自機が前記ユーザの肌に接触または近接しているか否かを検出する第2検出部と、
を備える検出装置。
続きを表示(約 860 文字)
【請求項2】
請求項1に記載の検出装置において、
前記本体ケースは、下部に前記ユーザの肌に対向する前記主面を有する下部風防部材を含み、
前記下部風防部材は、金属で形成されている、
検出装置。
【請求項3】
請求項1に記載の検出装置において、
前記第2検出部は、前記基板の下面に設けられている、
検出装置。
【請求項4】
請求項1に記載の検出装置において、
前記第2検出部は、前記第1検出部の側方に設けられている、
検出装置。
【請求項5】
請求項4に記載の検出装置において、
前記第2検出部は、前記第1検出部の周囲を囲んでいる、
検出装置。
【請求項6】
請求項5に記載の検出装置において、
前記第1検出部は、上部に前記基板が接し、且つ下部に前記窓部が接しており、
前記第2検出部は、前記第1検出部の周囲を囲んでいる、
検出装置。
【請求項7】
請求項2に記載の検出装置において、
前記下部風防部材と前記基板との間には、絶縁性を有するスペーサ部材が配置されており、
前記スペーサ部材は、前記第1検出部を挿入させて前記窓部に対応させる挿入孔を有する、
検出装置。
【請求項8】
請求項2に記載の検出装置において、
前記第2検出部は、前記窓部の上面に設けられている、
検出装置。
【請求項9】
請求項8に記載の検出装置において、
前記本体ケースの下方からの平面視において、前記第2検出部は、前記第1検出部の周囲を囲んでいる、
検出装置。
【請求項10】
請求項8に記載の検出装置において、
前記基板の一方の面と、前記第2検出部と、を電気的に接続する接続部材を更に備える、
検出装置。
(【請求項11】以降は省略されています)
発明の詳細な説明
【技術分野】
【0001】
この発明は、腕などの身体に装着して使用する腕時計などの身体装着装置に用いられる検出装置およびそれを備えた時計に関する。
続きを表示(約 1,900 文字)
【背景技術】
【0002】
例えば、腕に装着して使用する腕時計型の身体装着装置においては、特許文献1に記載されているように、腕に装着されているときにだけ脈拍を検出することにより、無駄な電力消費を防ぐようにしたものが知られている。
【先行技術文献】
【特許文献】
【0003】
特開2016-129526号公報
【0004】
このような身体装着装置は、装着者の脈拍を検出する脈拍センサと、身体装着装置が腕に装着されているか否かを検出する身体装着センサと、を備えている。この場合、身体装着センサは、身体装着装置の底部に突出して設けられた複数の金属ピンを有し、これら複数の金属ピンが腕に接触することによって、身体に生じる静電容量の変化を検出して、身体装着装置が腕に装着されているか否かを判断するように構成されている。
【発明の概要】
【発明が解決しようとする課題】
【0005】
しかしながら、このような身体装着装置では、腕に接触する身体装着センサの複数の金属ピンが身体装着装置の底部から外部に突出して設けられているので、身体装着センサの複数の金属ピンが過使用によって腐食したり摩耗したりしてしまい、身体に生じる静電容量の変化を検出する検出感度が落ちるという問題がある。
【0006】
この発明が解決しようとする課題は、センサによる検出感度を確保できる検出装置およびそれを備えた時計を提供することである。
【課題を解決するための手段】
【0007】
この発明は、ユーザによる使用の際に、少なくとも前記ユーザの肌に対向する主面の一部が開口している本体ケースと、前記本体ケース内に設けられる基板と、前記本体ケース内において前記基板の下方に設けられ、生体情報を検出する第1検出部と、前記第1検出部の下方、かつ前記本体ケースの開口に対応して設けられる窓部と、前記基板と前記窓部との間において、前記窓部に対向し、かつ金属で形成された部材と対向しないように設けられ、前記窓部を介して自機が前記ユーザの肌に接触または近接しているか否かを検出する第2検出部と、
を備える検出装置である。
【発明の効果】
【0008】
この発明によれば、センサによる検出感度を確保することができる。
【図面の簡単な説明】
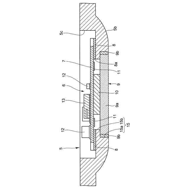
【0009】
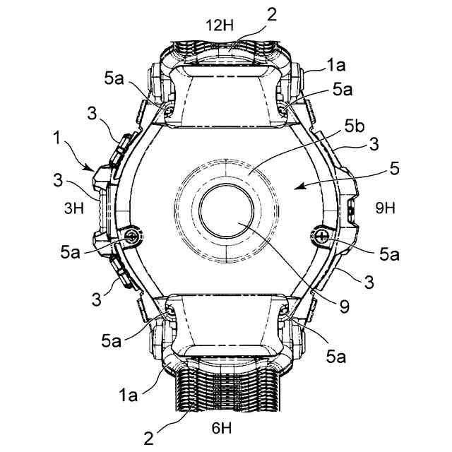
この発明を腕時計に適用した第1実施形態を示した正面図である。
図1に示された腕時計を3時側から見た側面図である。
図2に示された腕時計を下側から見た裏面図である。
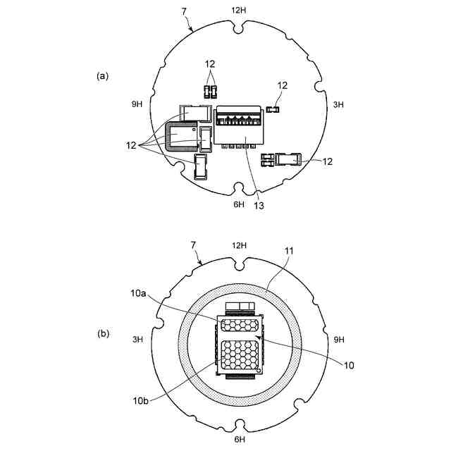
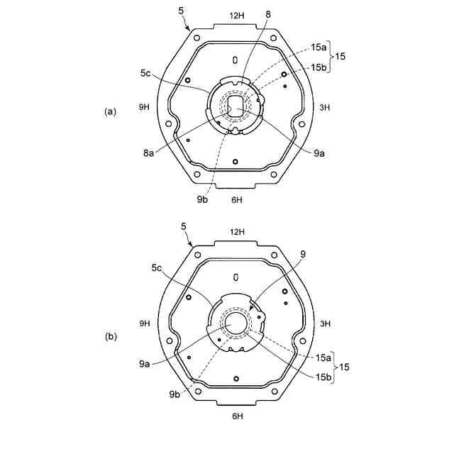
図3に示された腕時計の裏蓋を腕時計ケースの内部側から見た拡大平面図である。
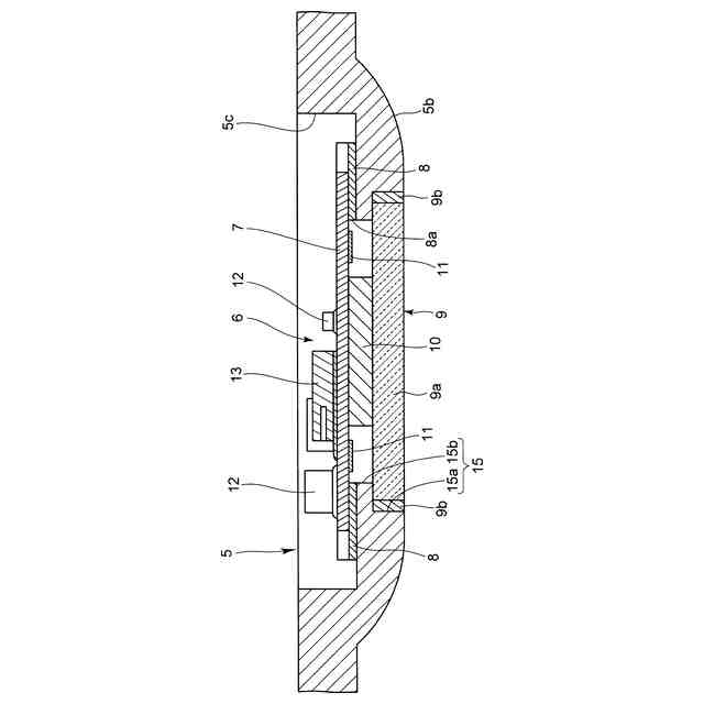
図4に示された裏蓋のA-A矢視における要部を示した拡大断面図である。
図4に示されたセンサ基板を示し、(a)はその拡大上面図、(b)はその拡大下面図である。
図4に示された裏蓋からセンサ基板を取り外した状態を示し、(a)はその裏蓋の内面にスペーサ部材が配置されている状態を示した拡大平面図、(b)はその状態から更にスペーサ部材を取り外した状態の裏蓋を示した拡大平面図である。
この発明を腕時計に適用した第2実施形態において、裏蓋を腕時計ケースの内部側から見た拡大平面図である。
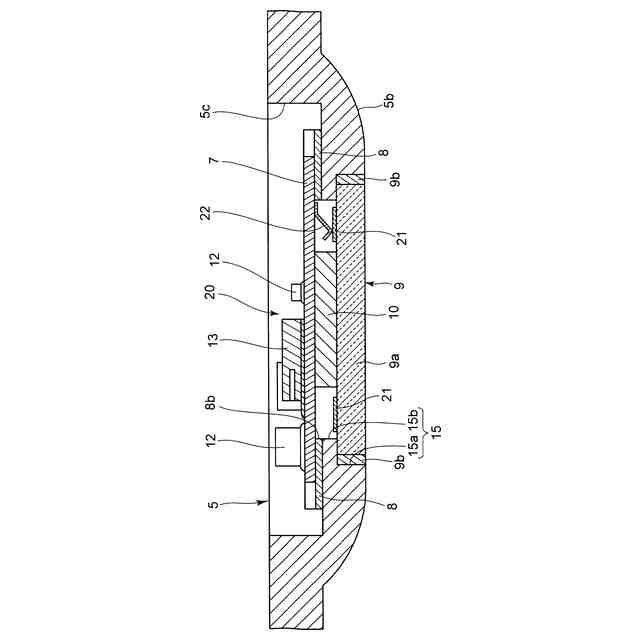
図8に示された裏蓋のB-B矢視における要部を示した拡大断面図である。
図8に示されたセンサ基板を示し、(a)はその拡大上面図、(b)はその拡大下面図である。
図8に示された裏蓋からセンサ基板を取り外した状態を示し、(a)はその裏蓋の内面にスペーサ部材が配置されている状態を示した拡大平面図、(b)はその状態から更にスペーサ部材を取り外した状態の裏蓋を示した拡大平面図である。
【発明を実施するための形態】
【0010】
(第1実施形態)
以下、図1~図7を参照して、この発明を腕時計に適用した第1実施形態について説明する。
この腕時計は、図1~図3に示すように、腕時計ケース1を備えている。この腕時計ケース1の12時側と6時側とには、時計バンド2が取り付けられるバンド取付部1aがそれぞれ設けられている。この腕時計ケース1の2時側、3時側、4時側、8時側、および10時側には、例えばスイッチ部3がそれぞれ設けられている。ただし、一部のスイッチ部3に対応する部分を充電端子に代替しても良い。
(【0011】以降は省略されています)
この特許をJ-PlatPat(特許庁公式サイト)で参照する
関連特許
個人
砂時計
14日前
個人
休憩報知タイマー
3か月前
個人
目覚し時計
2か月前
個人
時刻同期システム
16日前
セイコーエプソン株式会社
時計
3か月前
個人
自照式の針により認視性を高めたアナログ式時計
2か月前
セイコーエプソン株式会社
電子時計
1か月前
セイコーエプソン株式会社
機械式時計
3か月前
株式会社oneA
目覚まし装置
3か月前
シチズン時計株式会社
電子時計
1か月前
セイコーエプソン株式会社
電子制御式機械時計
3か月前
セイコーエプソン株式会社
電子制御式機械時計
2日前
セイコーエプソン株式会社
電子制御式機械時計
4か月前
セイコーエプソン株式会社
ムーブメント及び時計
3か月前
シチズン時計株式会社
機械式時計
2か月前
シチズン時計株式会社
機械式時計
1か月前
シチズン時計株式会社
機械式時計
2か月前
個人
アナログ時計、時間表示方法、および、時間表示プログラム
3か月前
カシオ計算機株式会社
装飾板及び時計
1日前
セイコーエプソン株式会社
電子時計
3か月前
カシオ計算機株式会社
制御装置、制御方法、及びプログラム
1日前
セイコーエプソン株式会社
機械式時計
15日前
カシオ計算機株式会社
機器ケース及び時計
24日前
カシオ計算機株式会社
機器ケース及び時計
2か月前
株式会社5コーポレーション
勉強時間測定装置及び勉強時間測定方法
3か月前
カシオ計算機株式会社
電子機器及び電子時計
4か月前
カシオ計算機株式会社
電子機器及び電子時計
4か月前
カシオ計算機株式会社
電子機器及び電子時計
4か月前
セイコーエプソン株式会社
インデックス、文字板、及び時計
28日前
カシオ計算機株式会社
電子時計及び電子時計本体
15日前
住友ベークライト株式会社
計時装置、計時方法および検査装置
3か月前
モントレー ブレゲ・エス アー
表示機構のための調整システム
3か月前
セイコーウオッチ株式会社
時計、音声再生方法およびプログラム
1か月前
モントレー ブレゲ・エス アー
プレート上のディスプレイモジュールの配置
3か月前
カシオ計算機株式会社
電子時計、外装部材及びバンド
15日前
セイコーエプソン株式会社
時計用部品、および、時計
1か月前
続きを見る
他の特許を見る