TOP
|
特許
|
意匠
|
商標
特許ウォッチ
Twitter
他の特許を見る
10個以上の画像は省略されています。
公開番号
2025135045
公報種別
公開特許公報(A)
公開日
2025-09-18
出願番号
2024032603
出願日
2024-03-05
発明の名称
電子時計、外装部材及びバンド
出願人
カシオ計算機株式会社
代理人
弁理士法人光陽国際特許事務所
主分類
G04B
37/16 20060101AFI20250910BHJP(時計)
要約
【課題】時計本体に対するバンドの取付け、取り外しを容易に行うことができる。
【解決手段】電子時計である時計100が、時計本体1と、時計本体1に対して装着され、バンド5を保持することが可能な外装部材であるベゼル3と、を備え、ベゼル3は、一端側に形成された開口部35(第1開口部)を有し、開口部35は、当該開口部35に挿通させたバンド5の裏面に対向する辺35aに開口部35内に突出する突起部36(第1突起部)を有し、バンド5は、裏面上の第1平面部分である第2部分52と、当該裏面上の第2部分52よりも突出している第2平面部分である第1部分51と、を有し、第1部分51と第2部分52との境界部分は段差部53となっており、バンド5がベゼル3の開口部35に挿入されたときに、段差部53と突起部36とが係合することでバンド5がベゼル3に保持される。
【選択図】図7
特許請求の範囲
【請求項1】
時計本体と、
前記時計本体に対して装着され、バンドを保持することが可能な外装部材(ベゼル)と、
を備え、
前記外装部材は、一端側に形成された第1開口部を有し、
前記第1開口部は、当該第1開口部に挿通させた前記バンドの裏面に対向する辺に前記第1開口部内に突出する第1突起部を有し、
前記バンドは、前記裏面上の第1平面部分(厚さが薄い部分)と、当該裏面上の第1平面部分よりも突出している第2平面部分(厚さが厚い部分)と、を有し、
前記第1平面部分と前記第2平面部分との境界部分は段差部となっており、
前記バンドが前記外装部材の前記第1開口部に挿入されたときに、前記段差部と前記第1突起部とが係合することで前記バンドが前記外装部材に保持される、
ことを特徴とする電子時計。
続きを表示(約 1,500 文字)
【請求項2】
前記第1突起部には、前記バンドの挿入方向に向って傾くような角度が付けられている、
ことを特徴とする請求項1に記載の電子時計。
【請求項3】
前記外装部材は、弾性変形可能であり、
前記バンドを前記第1開口部に挿入する際には、前記外装部材の弾性変形に伴って前記バンドの挿入方向に沿って前記第1突起部が傾倒することによって前記バンドの前記第2平面部分が前記第1開口部を通過し、
前記第2平面部分が前記第1開口部を通過して、前記外装部材が前記弾性変形から原状復帰した際に前記段差部と前記第1突起部とが係合する、
ことを特徴とする請求項1に記載の電子時計。
【請求項4】
前記外装部材は、前記時計本体に装着したときに、前記時計本体を挟んで対向する位置に、前記時計本体の裏面より下方まで延出する一対の延出部を有し、
前記第1開口部は、前記延出部のうちのいずれか一方に形成されており、
前記延出部のうちの他方には、前記第1開口部と対向する位置に、第2開口部が形成されている、
ことを特徴とする請求項1に記載の電子時計。
【請求項5】
前記第2開口部は、当該第2開口部に挿通させた前記バンドの裏面に対向する辺に前記第2開口部内に突出する第2突起部を有している、
ことを特徴とする請求項4に記載の電子時計。
【請求項6】
前記延出部は、前記第1開口部に挿通された前記バンドが装着対象に装着されることで、前記装着対象側に引っ張られて撓むように弾性変形し、
前記第1開口部の前記第1突起部は、前記延出部が撓んだ状態において、前記段差部に圧接される、
ことを特徴とする請求項4に記載の電子時計。
【請求項7】
前記時計本体の裏面側には、裏蓋がねじ止めされており、
裏蓋を固定するねじは、前記バンドを前記外装部材の前記第1開口部に挿入する際に前記バンドが通過する経路上に配置され、前記ねじの近傍にはねじ頭よりも突出する保護突起が設けられている、
ことを特徴とする請求項1に記載の電子時計。
【請求項8】
時計本体に着脱可能に装着され、バンドを保持することが可能な外装部材であって、
一端側に前記時計本体の裏面より下方まで延出する第1延出部を備え、
前記第1延出部は、第1開口部を有し、
前記第1開口部は、当該第1開口部に挿通させた前記バンドの裏面に対向する辺に前記第1開口部内に突出する第1突起部を有し、
前記バンドは、前記裏面上の第1平面部分と、当該裏面上の第1平面部分よりも突出している第2平面部分と、を有し、
前記第1平面部分と前記第2平面部分との境界部分は段差部となっており、
前記バンドが前記外装部材の前記第1開口部に挿入されたときに、前記段差部と前記第1突起部とが係合することで前記バンドが前記外装部材に保持される、
ことを特徴とする外装部材。
【請求項9】
前記時計本体に装着したときに、前記時計本体を挟んで前記第1延出部と対向する位置に、前記時計本体の裏面より下方まで延出する第2延出部を有し、
前記第2延出部は、前記第1開口部と対向する位置に第2開口部を有している、
ことを特徴とする請求項8に記載の外装部材。
【請求項10】
前記第2開口部は、当該第2開口部に挿通させた前記バンドの裏面に対向する辺に前記第2開口部内に突出する第2突起部を有している、
ことを特徴とする請求項9に記載の外装部材。
(【請求項11】以降は省略されています)
発明の詳細な説明
【技術分野】
【0001】
本発明は、電子時計、外装部材及びバンドに関する。
続きを表示(約 2,200 文字)
【背景技術】
【0002】
従来、時計本体に対してバンドを着脱可能とする構成が知られている。例えば、特許文献1には、時計本体の裏面にスリット孔を有する立上がり部を設け、バンドをスリット孔に挿通させた後に、立上がり部に蓋体を嵌合させることでバンドを時計本体と蓋体との間で挟み込み、固定する構造が記載されている。
【先行技術文献】
【特許文献】
【0003】
実用新案登録第3240182号公報
【発明の概要】
【発明が解決しようとする課題】
【0004】
しかしながら、特許文献1に記載された構成では、バンドを着脱する際にまず蓋体を着脱する必要があり、簡易にバンドの着脱を行うことが困難である。
【0005】
本発明はこうした課題を解決するためのものであり、時計本体に対するバンドの取付け、取り外しを容易に行うことのできる電子時計、外装部材及びバンドを提供することを目的とするものである。
【課題を解決するための手段】
【0006】
前記課題を解決するために、本発明に係る電子時計は、
時計本体と、前記時計本体に対して装着され、バンドを保持することが可能な外装部材と、を備え、前記外装部材は、一端側に形成された第1開口部を有し、前記第1開口部は、当該第1開口部に挿通させた前記バンドの裏面に対向する辺に前記第1開口部内に突出する第1突起部を有し、前記バンドは、前記裏面上の第1平面部分と、当該裏面上の第1平面部分よりも突出している第2平面部分と、を有し、前記第1平面部分と前記第2平面部分との境界部分は段差部となっており、前記バンドが前記外装部材の前記第1開口部に挿入されたときに、前記段差部と前記第1突起部とが係合することで前記バンドが前記外装部材に保持されることを特徴とする。
【発明の効果】
【0007】
本発明によれば、時計本体に対するバンドの取付け、取り外しを容易に行うことができる。
【図面の簡単な説明】
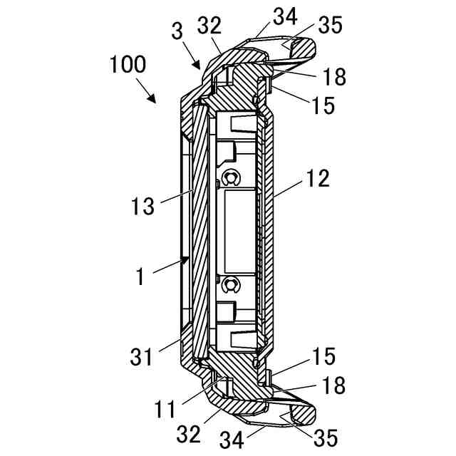
【0008】
実施形態に係る時計本体の表面側に実施形態に係る外装部材を装着する様子を示す要部斜視図である。
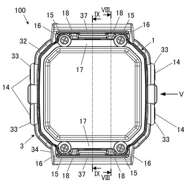
実施形態に係る時計本体の裏面側の平面図である。
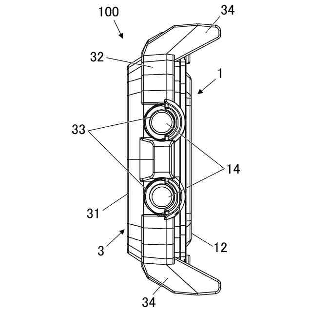
実施形態に係る外装部材を内側から見た斜視図である。
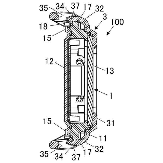
外装部材が装着された時計本体を裏面側から見た平面図である。
図4における矢視V方向から見た外装部材が装着された時計本体の側面図である。
(a)は、実施形態に係るバンドを裏面側から見た斜視図であり、(b)は、外装部材が装着された時計本体に(a)に示すバンドを取り付ける様子を時計の表面側から示す要部斜視図である。
(a)は、第1実施形態の時計を示す正面図であり、(b)は、(a)に示す時計の裏面図であり、(c)は、(a)に示す時計のc-c線に沿う断面図である。
図4に示す外装部材が装着された時計本体のVIII-VIII線に沿う断面図である。
図4に示す外装部材が装着された時計本体のIX-IX線に沿う断面図である。
図7(a)に示す時計のX-X線に沿う断面図である。
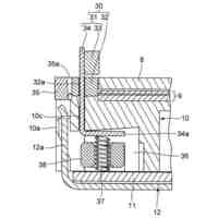
時計本体に装着された外装部材にバンドを装着する様子を示す要部側断面図である。
時計本体に装着された外装部材にバンドが装着された状態を示す要部側断面図である。
図12に示す時計のバンドを装着対象である手首に巻き付けた場合のイメージを示す要部側断面図である。
第2実施形態の時計を示す正面図である。
時計本体に外装ケースを取り付けて第2の実施形態の時計を組み立てる様子を示す斜視図である。
図14に示す時計の裏面側を示す平面図である。
図16に示す時計から裏面カバーを外した状態を示す平面図である。
図16に示す時計のXVIII-XVIII線に沿う断面図である。
【発明を実施するための形態】
【0009】
図面を参照しつつ、本発明に係る電子時計の実施形態について説明する。以下の実施形態には、本発明を実施するために技術的に好ましい種々の限定が付されているが、本発明の範囲を以下の実施形態及び図示例に限定するものではない。なお、以下に述べる実施形態では、電子時計を単に「時計」とする。
【0010】
図1及び図14等に示すように、本実施形態に係る時計は、電子時計本体(以下において、単に「時計本体1」とする)と、時計本体1に対して装着可能な外装部材と、を備えている。実施形態において、外装部材は、時計本体1に対して選択的に装着される第1部材又は第2部材の何れかである。第1部材は、バンド5を取り付けることが可能なベゼル3であり、第2部材は外装ケース7であって、ベゼル3及び外装ケース7は、時計本体1に対して着脱自在となっている。以下において、時計本体1にベゼル3が装着された状態を第1の実施形態の「時計100」として説明し、時計本体1に外装ケース7が装着された状態を第2の実施形態の「時計200」として説明する。なお、第1の実施形態、第2の実施形態とも時計本体1の構成は同じである。このため、まず第1の実施形態及び第2の実施形態に共通する構成として、まず時計本体1について説明する。
(【0011】以降は省略されています)
この特許をJ-PlatPat(特許庁公式サイト)で参照する
関連特許
個人
砂時計
14日前
個人
時刻同期システム
16日前
シチズン時計株式会社
電子時計
1か月前
セイコーエプソン株式会社
電子制御式機械時計
2日前
シチズン時計株式会社
機械式時計
1か月前
カシオ計算機株式会社
装飾板及び時計
1日前
カシオ計算機株式会社
制御装置、制御方法、及びプログラム
1日前
セイコーエプソン株式会社
機械式時計
15日前
カシオ計算機株式会社
機器ケース及び時計
24日前
セイコーエプソン株式会社
インデックス、文字板、及び時計
28日前
カシオ計算機株式会社
電子時計及び電子時計本体
15日前
セイコーウオッチ株式会社
時計、音声再生方法およびプログラム
1か月前
カシオ計算機株式会社
電子時計、外装部材及びバンド
15日前
カシオ計算機株式会社
指針、時計、及び指針の製造方法
1か月前
セイコーエプソン株式会社
時計用部品、および、時計
1か月前
カシオ計算機株式会社
時計、表示制御方法及びプログラム
15日前
セイコーエプソン株式会社
時計用部品、時計および時計用部品の製造方法
1か月前
カシオ計算機株式会社
電子時計、針位置検出方法及びプログラム
23日前
カシオ計算機株式会社
電子時計、電子時計の制御方法及びプログラム
4日前
カシオ計算機株式会社
電子時計、電子時計の制御方法及びプログラム
1か月前
カシオ計算機株式会社
電子時計、電子時計の制御方法及びプログラム
1か月前
カシオ計算機株式会社
ケース機器、時計、及びケース機器の製造方法
1か月前
カシオ計算機株式会社
検出装置および時計
1か月前
株式会社メガチップス
リアルタイムクロック生成装置およびリアルタイムクロック生成方法
1か月前
セイコーエプソン株式会社
時計用部品、時計、および、時計用部品の製造方法
1か月前
カシオ計算機株式会社
照明装置、モジュールおよび時計
1か月前
シチズン時計株式会社
機械式時計
8日前
ショパール テクノロジーズ ソシエテ アノニム
時計用の調速部材を備えたデバイス
1か月前
カシオ計算機株式会社
電子機器、針位置補正システム、針位置補正方法及びプログラム
1か月前
シチズン時計株式会社
文字板および時計
22日前
ザ・スウォッチ・グループ・リサーチ・アンド・ディベロップメント・リミテッド
月食及び日食表示機構
2日前
セイコーエプソン株式会社
時計用部品の製造方法、時計部品用素材の製造方法、時計用部品および時計部品用素材
1日前
リシュモン アンテルナシオナル ソシエテ アノニム
ステッピングモータの制御方法および制御装置
2日前
オメガ・エス アー
時計、計器、機械式ムーブメント、機械式ムーブメントまたは計器用の金属シャフト及びその製造方法
1か月前
ハネウェル・インターナショナル・インコーポレーテッド
原子感知のためのモード設計されたループギャップ共振器エンクロージャ
4日前
ライフエディット,インコーポレイティド
RNA誘導型ヌクレアーゼ、その活性な断片とバリアント、ならびに利用法
22日前
他の特許を見る