TOP
|
特許
|
意匠
|
商標
特許ウォッチ
Twitter
他の特許を見る
10個以上の画像は省略されています。
公開番号
2025127158
公報種別
公開特許公報(A)
公開日
2025-09-01
出願番号
2024023714
出願日
2024-02-20
発明の名称
カセット式ガスボンベ用キャップ
出願人
新富士バーナー株式会社
代理人
個人
,
個人
,
個人
,
個人
主分類
F17C
13/04 20060101AFI20250825BHJP(ガスまたは液体の貯蔵または分配)
要約
【課題】カセット式ガスボンベのフランジに形成された切り欠きによる他の物品等の傷付きや使用者の怪我を防止することができるカセット式ガスボンベ用キャップを提供する。
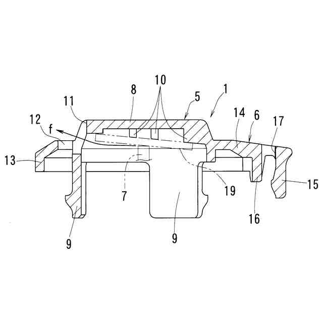
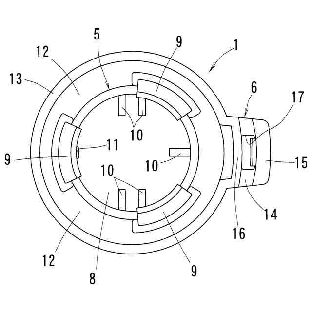
【解決手段】周方向の一部に切り欠き4が形成された環状のフランジ3を介してガス機器に取り付けられるカセット式ガスボンベ2に設けられるカセット式ガスボンベ用キャップ1において、フランジ3の内側の凹部に嵌め込まれ、ガスが噴出するステム7を保護するキャップ本体部5と、切り欠き4をカバーするように、キャップ本体部5から径方向外向きに延設されたカバー部6と、を有する構成とする。
【選択図】図1
特許請求の範囲
【請求項1】
周方向の一部に切り欠き(4)が形成された環状のフランジ(3)を介してガス機器に取り付けられるカセット式ガスボンベ(2)に設けられるカセット式ガスボンベ用キャップにおいて、
前記フランジ(3)の内側の凹部に嵌め込まれ、ガスが噴出するステム(7)を保護するキャップ本体部(5)と、
前記切り欠き(4)をカバーするように、前記キャップ本体部(5)から径方向外向きに延設されたカバー部(6)と、
を有することを特徴とするカセット式ガスボンベ用キャップ。
続きを表示(約 260 文字)
【請求項2】
前記カバー部(6)が、前記切り欠き(4)の周方向位置に対応する舌片形状をなしている請求項1に記載のカセット式ガスボンベ用キャップ。
【請求項3】
前記舌片形状をなす前記カバー部(6)の周方向幅が、前記切り欠き(4)の周方向幅の50%以上130%以下の範囲内である請求項2に記載のカセット式ガスボンベ用キャップ。
【請求項4】
前記舌片形状をなす前記カバー部(6)が、前記切り欠き(4)に係合する係合片(16)を有する請求項2または3に記載のカセット式ガスボンベ用キャップ。
発明の詳細な説明
【技術分野】
【0001】
この発明は、カセット式ガスボンベに用いられるキャップに関する。
続きを表示(約 1,800 文字)
【背景技術】
【0002】
キャンプ等のアウトドア活動において湯を沸かしたり調理したりする際に、カセット式ガスボンベが一般的に用いられている。例えば下記特許文献1に示すように、カセット式ガスボンベの一端側には、カセット式ガスコンロ等のガス機器に接続するためのフランジが形成されている。このフランジの周方向の一部には、ガス機器にカセット式ガスボンベを所定の向きに取り付けるための切り欠きが形成されている。また、フランジの中央には、ガスが噴出する噴出孔が形成されたステムが設けられている。カセット式ガスボンベの不使用時には、フランジの内側の凹部にステムを保護するためのキャップが設けられる(特許文献1の図1(a)(b)、図5等を参照)。
【先行技術文献】
【特許文献】
【0003】
特開平11-101400号公報
【発明の概要】
【発明が解決しようとする課題】
【0004】
特許文献1に示すカセット式ガスボンベに設けられるキャップは、カセット式ガスボンベのステムを保護するとともに、このステム内に埃や砂等の異物が入り込むのを防止したり、ステムを意図せず押してしまいガスが噴出するのを防止したりする等の種々の役目を有している。その一方で、フランジに形成された切り欠きはキャップによってカバーされずに露出したままの状態となっており、アウトドア活動等の際にキャップ付きのカセット式ガスボンベをその他の物品とひとまとめにして運搬した際に、切り欠きのエッジで他の物品等を傷付けたり、使用者が手に怪我をしたりするおそれがある。
【0005】
そこで、この発明は、カセット式ガスボンベのフランジに形成された切り欠きによる他の物品等の傷付きや使用者の怪我を防止することを課題とする。
【課題を解決するための手段】
【0006】
上記の課題を解決するため、この発明では、
周方向の一部に切り欠きが形成された環状のフランジを介してガス機器に取り付けられるカセット式ガスボンベに設けられるカセット式ガスボンベ用キャップにおいて、
前記フランジの内側の凹部に嵌め込まれ、ガスが噴出するステムを保護するキャップ本体部と、
前記切り欠きをカバーするように、前記キャップ本体部から径方向外向きに延設されたカバー部と、
を有することを特徴とするカセット式ガスボンベ用キャップを構成した(構成1)。
【0007】
このようにすると、カセット式ガスボンベのフランジに形成された切り欠きに他の物品等や使用者の手が接触しにくくなるため、他の物品等の傷付きや使用者の怪我を防止することができる。
【0008】
構成1に係るカセット式ガスボンベ用キャップにおいては、前記カバー部が、前記切り欠きの周方向位置に対応する舌片形状をなしている構成とすることができる(構成2)。このようにすると、カバー部をフランジの全周に亘って形成したときと比較してコンパクト化することができ、軽量化や材料コストの削減を図ることができる。
【0009】
構成2に係るカセット式ガスボンベ用キャップにおいては、前記舌片形状をなす前記カバー部の周方向幅が、前記切り欠きの周方向幅の50%以上130%以下の範囲内である構成とすることができる(構成3)。このようにすると、フランジに形成された切り欠きに他の物品等が接触するのを効果的に防止することができる。舌片形状をなすカバー部の周方向幅が、切り欠きの周方向幅の50%よりも小さいと、切り欠きに他の物品等が接触しやすくなり、130%よりも大きいと、このカセット式ガスボンベ用キャップをカセット式ガスボンベに装着しにくくなるため、上記の範囲とするのが好ましい。
【0010】
構成2または3に係るカセット式ガスボンベ用キャップにおいては、前記舌片形状をなす前記カバー部が、前記切り欠きに係合する係合片を有する構成(構成4)とすることができる。このようにすると、カセット式ガスボンベに取り付けたカセット式ガスボンベ用キャップが意図せず回転して、カバー部からカセット式ガスボンベのフランジに形成された切り欠きが露出する不具合を防止することができる。
【発明の効果】
(【0011】以降は省略されています)
この特許をJ-PlatPat(特許庁公式サイト)で参照する
関連特許
株式会社石井鐵工所
低温タンクの揚液装置
3か月前
株式会社石井鐵工所
低温タンクの揚液装置
5か月前
川崎重工業株式会社
竪型タンク
4か月前
川崎重工業株式会社
三重殻タンク
6か月前
川崎重工業株式会社
三重殻タンク
6か月前
トヨタ自動車株式会社
水素タンク
3か月前
川崎重工業株式会社
液化水素貯蔵タンク
8か月前
川崎重工業株式会社
液化水素貯蔵タンク
8か月前
トヨタ自動車株式会社
水素充填装置
4か月前
帝人株式会社
繊維補強圧力容器及びその製造方法
2か月前
株式会社タツノ
充填ノズル
1か月前
那須電機鉄工株式会社
水素吸蔵合金タンク
8か月前
株式会社タツノ
充填ノズル
18日前
岩谷産業株式会社
燃料ガス充填設備
8日前
川崎重工業株式会社
低温流体の移送システム
4か月前
株式会社神戸製鋼所
水素吸蔵合金容器
2か月前
豊田合成株式会社
圧力容器
6か月前
トヨタ自動車株式会社
水素消費システム
3か月前
トヨタ自動車株式会社
水素消費システム
4か月前
トヨタ自動車株式会社
タンクモジュール
6か月前
川崎重工業株式会社
三重殻タンクのパージ方法
7か月前
清水建設株式会社
水素貯蔵供給システム
7か月前
トヨタ自動車株式会社
水素タンクシステム
4か月前
オリオン機械株式会社
燃料供給装置および発電システム
5か月前
トヨタ自動車株式会社
カートリッジタンク
4か月前
オリオン機械株式会社
燃料供給装置および発電システム
4か月前
鹿島建設株式会社
水素貯蔵システム
3か月前
JFEエンジニアリング株式会社
エネルギー貯蔵システム
2か月前
鹿島建設株式会社
水素吸蔵システム
7か月前
トヨタ自動車株式会社
水素タンクの支持構造
6か月前
DOWAエコシステム株式会社
容器の廃棄処理方法
8か月前
JFEエンジニアリング株式会社
エネルギー貯蔵システム
3か月前
JFEエンジニアリング株式会社
エネルギー貯蔵システム
2か月前
トヨタ自動車株式会社
高圧タンクの製造方法
6か月前
JFEエンジニアリング株式会社
エネルギー貯蔵システム
3か月前
鹿島建設株式会社
水素供給システム
7か月前
続きを見る
他の特許を見る