TOP
|
特許
|
意匠
|
商標
特許ウォッチ
Twitter
他の特許を見る
公開番号
2025053831
公報種別
公開特許公報(A)
公開日
2025-04-07
出願番号
2023162896
出願日
2023-09-26
発明の名称
水素タンクの支持構造
出願人
トヨタ自動車株式会社
代理人
個人
,
個人
,
個人
主分類
F17C
13/08 20060101AFI20250331BHJP(ガスまたは液体の貯蔵または分配)
要約
【課題】支持ブロックの高さを維持しつつ、構造全体の質量が重くなることを抑制できる水素タンクの支持構造を提供する。
【解決手段】水素タンクの支持構造であって、水素タンクの首部を支持する支持ブロックを備え、支持ブロックは、首部を支持する支持部の上部に鉛直方向に延びるスリットを有し、上部は、支持部の下部よりも水平方向の長さが短く、上部には、水平方向に延びるボルトが配置されている。
【選択図】図2
特許請求の範囲
【請求項1】
水素タンクの支持構造であって、
前記水素タンクの首部を支持する支持ブロックを備え、
前記支持ブロックは、前記首部を支持する支持部の上部に鉛直方向に延びるスリットを有し、
前記上部は、前記支持部の下部よりも水平方向の長さが短く、
前記上部には、水平方向に延びるボルトが配置されている、
水素タンクの支持構造。
発明の詳細な説明
【技術分野】
【0001】
本開示は、水素タンクの支持構造に関する。
続きを表示(約 1,500 文字)
【背景技術】
【0002】
特許文献1には水素タンクの支持方法として、タンクのネック部(首部)をアッパーマウント部材とアンダーマウント部材とで地上から水平方向で挟み込んで、マウント部材を外部に固定して支持することが開示されている。
【先行技術文献】
【特許文献】
【0003】
特開2017-206042号公報
【発明の概要】
【発明が解決しようとする課題】
【0004】
タンク本体の回転防止のために通しボルト(ボルトとナットで締結)を利用しているが、ボルトの締結トルクを高くするためにネジ径の大きいボルトを用いる必要がある。タンクの固定位置を高い位置とするために高さ方向に厚みがある支持ブロックを首部支持部材として用いた場合、通しボルトでの締結では、ボルトの首下長さが長くなり、構造全体の質量が重くなる。
【0005】
本開示は、これらの実情に鑑みてなされたものであり、支持ブロックの高さを維持しつつ、構造全体の質量が重くなることを抑制できる水素タンクの支持構造を提供する。
【課題を解決するための手段】
【0006】
本願は、水素タンクの支持構造であって、水素タンクの首部を支持する支持ブロックを備え、支持ブロックは、首部を支持する支持部の上部に鉛直方向に延びるスリットを有し、上部は、支持部の下部よりも水平方向の長さが短く、上部には、水平方向に延びるボルトが配置されている、水素タンクの支持構造を開示する。
【発明の効果】
【0007】
本開示によれば、支持ブロックの支持部の上部の幅を短くし、短くなった上部をボルトで締結することで、支持ブロックの高さを維持しつつ、ボルトの長さを短くできるため、構造全体が重くなることを抑制できる。
【図面の簡単な説明】
【0008】
図1は水素タンク10の外観を模式的に示す図である。
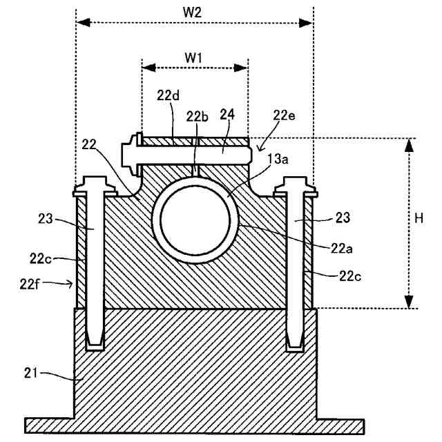
図2は支持ブロック22を説明する図である。
【発明を実施するための形態】
【0009】
1.水素タンクの構造
図1は、本開示の1つの形態にかかる水素タンクの支持構造により支持される水素タンク10について説明するための斜視図である。
水素タンク10は、例えば不図示の燃料電池に供給する燃料ガスとしての水素を高圧で貯留するタンクである。ここで適用できる水素タンク10は公知の通りであるが、例えば水素タンク10は、筒状のシリンダー部11と、シリンダー部11の軸方向の両側に連続して設けられ、軸方向に進むにつれて径が小さくなるように形成されるドーム部12を有する。シリンダー部11及びドーム部12は、いずれもライナーを、フィラメントワインディング法(FW法)による繊維束の巻き付けにより形成した繊維補強層で覆うことで形成されている。
【0010】
ドーム部12のうちシリンダー部11に連続する側とは反対側(径が最も狭められた端部)には口金13が備えられる。口金13は、ドーム部12の部位に相当するライナーで保持された上で、その一部はライナーと共に繊維補強層で覆われている。そして、他の一部がドーム部12から突出して配置される。当該突出した部分が首部13aとされ、この首部13aが後述する支持ブロック22により支持される。
なお、口金13には不図示のバルブ機構が接続される。バルブ機構は、タンク内へのガス供給およびタンクからのガス排出に関与する各種弁機構を具備している。
(【0011】以降は省略されています)
この特許をJ-PlatPat(特許庁公式サイト)で参照する
関連特許
トヨタ自動車株式会社
車両
3日前
トヨタ自動車株式会社
車両
3日前
トヨタ自動車株式会社
回転子
3日前
トヨタ自動車株式会社
電解液
3日前
トヨタ自動車株式会社
電動車
3日前
トヨタ自動車株式会社
電動車
3日前
トヨタ自動車株式会社
電動車
3日前
トヨタ自動車株式会社
制御装置
3日前
トヨタ自動車株式会社
電源装置
3日前
トヨタ自動車株式会社
駆動装置
3日前
トヨタ自動車株式会社
電動車両
3日前
トヨタ自動車株式会社
蓄電装置
3日前
トヨタ自動車株式会社
蓄電セル
3日前
トヨタ自動車株式会社
切断装置
3日前
トヨタ自動車株式会社
積層構造体
3日前
トヨタ自動車株式会社
電気自動車
3日前
トヨタ自動車株式会社
電池パック
3日前
トヨタ自動車株式会社
電極積層体
4日前
トヨタ自動車株式会社
シフト機構
3日前
トヨタ自動車株式会社
車両制御装置
3日前
トヨタ自動車株式会社
コネクタ構造
3日前
トヨタ自動車株式会社
車両診断装置
3日前
トヨタ自動車株式会社
充電システム
3日前
トヨタ自動車株式会社
駐車支援方法
3日前
トヨタ自動車株式会社
情報処理装置
3日前
トヨタ自動車株式会社
空間評価装置
3日前
トヨタ自動車株式会社
重量物収容装置
3日前
トヨタ自動車株式会社
熱管理システム
3日前
トヨタ自動車株式会社
熱管理システム
3日前
トヨタ自動車株式会社
車載用制御装置
4日前
トヨタ自動車株式会社
熱管理システム
3日前
トヨタ自動車株式会社
熱管理システム
3日前
トヨタ自動車株式会社
車両の制御装置
3日前
トヨタ自動車株式会社
車両の制御装置
4日前
トヨタ自動車株式会社
車両の制御装置
4日前
トヨタ自動車株式会社
車両用シート構造
今日
続きを見る
他の特許を見る