TOP
|
特許
|
意匠
|
商標
特許ウォッチ
Twitter
他の特許を見る
公開番号
2025127785
公報種別
公開特許公報(A)
公開日
2025-09-02
出願番号
2024024690
出願日
2024-02-21
発明の名称
サポーターパンツ
出願人
日本製紙クレシア株式会社
代理人
個人
,
個人
主分類
A41B
9/12 20060101AFI20250826BHJP(衣類)
要約
【課題】パッド型吸収性物品と併用して着用できるだけでなく、パッド型吸収性物品と併用することなく通常の下着として着用しても美粧性を確保することが可能なサポーターパンツを提供する。
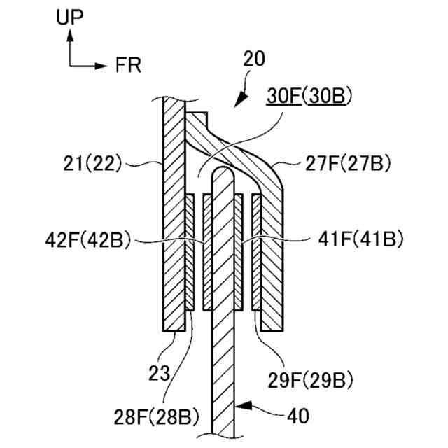
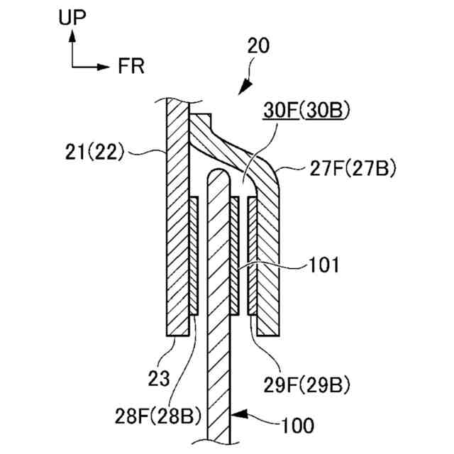
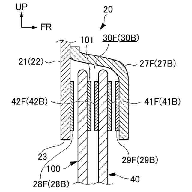
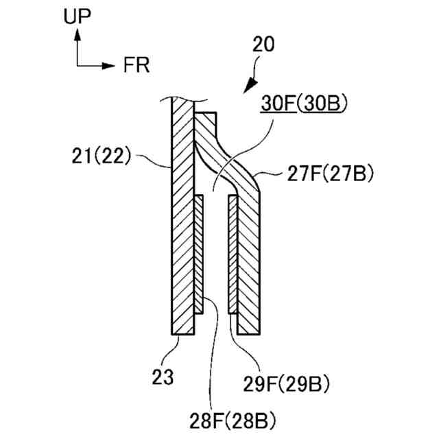
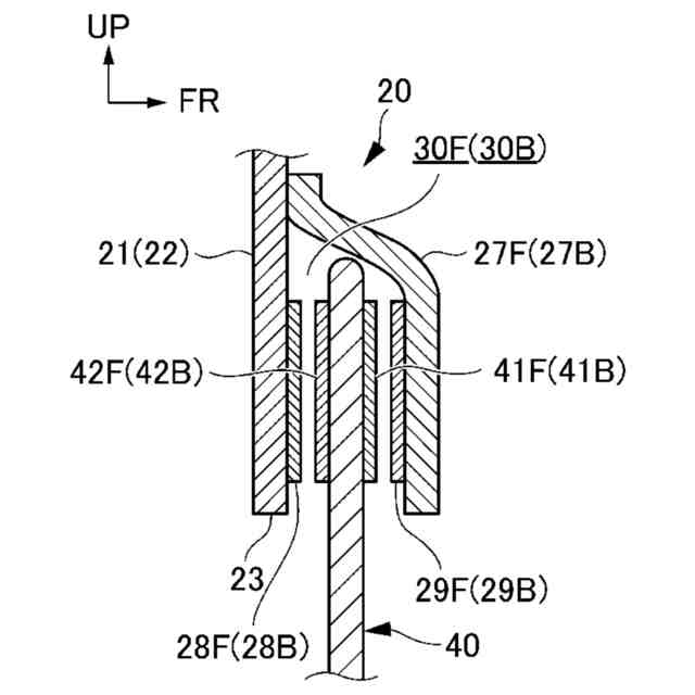
【解決手段】本開示のサポーターパンツは、股部開口23を有するパンツ本体20と、パンツ本体20に対して着脱可能な開口カバー40と、を備え、パンツ本体20は、前身頃21の股部開口23の上方及び後身頃22の股部開口23の上方に固定される前後のカバー部27F,27Bと、前側空間30F及び後側空間30Bに配置される前後の本体側フックテープ28F,28Bと、前側空間30F及び後側空間30Bに配置される前後の本体側ループテープ29F,29Bと、を有し、開口カバー40は、前後のカバー側フックテープ41F,41Bを前後の本体側ループテープ29F,29Bに止着した状態でパンツ本体20に対して取り付けられて股部開口23を塞ぐ。
【選択図】図6
特許請求の範囲
【請求項1】
パッド型吸収性物品と併用することが可能なサポーターパンツであって、
着用者の腹側に位置する前身頃と、背側に位置する後身頃と、前記前身頃から股下を介して前記後身頃まで延びる股部開口とを有するパンツ本体と、
前記股部開口を塞ぐことが可能な大きさに形成されて前記パンツ本体に対して着脱可能な開口カバーと、を備え、
前記パンツ本体は、前記前身頃の前記股部開口の上方の非肌側面及び前記後身頃の前記股部開口の上方の非肌側面に少なくとも下方が開放された状態でそれぞれ固定される前後のカバー部と、前側の前記カバー部と前記前身頃との間の前側空間及び後側の前記カバー部と前記後身頃との間の後側空間に配置されて少なくとも前記パッド型吸収性物品を止着可能な前後の本体側フックテープと、前記前側空間及び前記後側空間に配置されて前記開口カバーを止着可能な前後の本体側ループテープと、を有し、
前記開口カバーは、長手方向の両端部に固定されて前記本体側ループテープに止着可能な前後のカバー側フックテープを有し、前後の前記カバー側フックテープを前後の前記本体側ループテープに止着した状態で前記パンツ本体に対して取り付けられて前記股部開口を塞ぐ
ことを特徴とするサポーターパンツ。
続きを表示(約 280 文字)
【請求項2】
前後の前記本体側フックテープは、前記前側空間の前記前身頃の非肌側面及び前記後側空間の前記後身頃の非肌側面に固定され、
前後の前記本体側ループテープは、前後の前記カバー部の肌側面に固定され、
前後の前記カバー側フックテープは、前記開口カバーの非肌側面に固定される
ことを特徴とする請求項1に記載のサポーターパンツ。
【請求項3】
前記開口カバーは、長手方向の両端部の肌側面に固定される前後のカバー側ループテープを有する
ことを特徴とする請求項1又は請求項2に記載のサポーターパンツ。
発明の詳細な説明
【技術分野】
【0001】
本開示は、パッド型吸収性物品と併用することが可能なサポーターパンツに関する。
続きを表示(約 1,300 文字)
【背景技術】
【0002】
特許文献1には、残尿や少量の尿漏れがあっても吸収することが可能な男性用下着が開示されている。この男性用下着は、前身ごろにサポーターを有している。サポーターの表面は肌触りが良く吸水性を有しており、裏面は撥水性もしくは防水性を有している。サポーターの上端は、男性用下着本体の前身ごろ、ウエストゴム部の下、前開き部の上部あたりに取り外し可能に固定されている。サポーターの下端は、男性用下着の股部に縫製により固定されている。
【0003】
特許文献2には、吸収機能部を備えた衣類が開示されている。この衣類は、多数回使用可能な身体の一部を被う着衣からなる常時着用部と、常時着用部に着脱可能に結合できるおむつ等からなる吸収機能部とを有している。常時着用部は、上半身に着用するものであり、前身頃部分と後身頃部分の各下端部に結合部材が配設されている。吸収機能部は、テープ型おむつタイプ、パッド型タイプ、パンツ型おむつタイプ等である。
【先行技術文献】
【特許文献】
【0004】
特開2022-143721号公報
特開2001-295103号公報
【発明の概要】
【発明が解決しようとする課題】
【0005】
ところで、通常、吸収体を備えたパッド型吸収性物品は、吸収体を備えたパンツ型又はテープ型の紙おむつ等の吸収性物品、もしくは通常の下着と併用して使用される。そして、吸収性物品を使用するユーザーの中には、日常生活で補助的に使用するユーザーがいる一方で、吸収性物品なしでは日常生活を送るのに著しい制限がかかるユーザーもおり、そのユーザー層は幅広い。
【0006】
通常の下着を着用するとともに、補助的にパッド型吸収性物品を併用するユーザーの場合、トイレで排泄を行う際に衣服の着脱が煩雑になるうえ、下着の生地によってはパッド型吸収性物品がうまく固定できないという課題がある。
【0007】
一方、パンツ型又はテープ型の紙おむつ等の吸収性物品を着用するとともに、恒常的にパッド型吸収性物品を併用するユーザーの場合、介助者が吸収性物品の交換を行う際に紙おむつ等の吸収性物品の着脱が必要になるので、パッド型吸収性物品の交換が煩雑であるという課題がある。
【0008】
特許文献1に記載の男性用下着では、排泄の都度洗濯が必要になるため煩雑であり、長時間の着用では不衛生になる。
【0009】
また、特許文献2に記載の吸収機能部を備えた衣類では、吸収性物品と併用しないで下着として着用すると、おむつ等からなる吸収機能部と結合するための結合部材等によって外観上の見栄えが低下する可能性があり、美粧性を確保することが難しい。
【0010】
そこで、本開示は、パッド型吸収性物品と併用して着用できるだけでなく、パッド型吸収性物品と併用することなく通常の下着として着用しても美粧性を確保することが可能なサポーターパンツの提供を目的とする。
【課題を解決するための手段】
(【0011】以降は省略されています)
この特許をJ-PlatPat(特許庁公式サイト)で参照する
関連特許
日本製紙クレシア株式会社
吸収性物品
13日前
日本製紙クレシア株式会社
複合型不織布
24日前
日本製紙クレシア株式会社
ホルダーパンツ
1か月前
日本製紙クレシア株式会社
サポーターパンツ
1か月前
日本製紙クレシア株式会社
ペット用吸収性物品
27日前
日本製紙クレシア株式会社
トイレットロール包装体
1か月前
日本製紙クレシア株式会社
キッチンタオルロール包装体
23日前
日本製紙クレシア株式会社
ローションティシューペーパー包装体
21日前
日本製紙クレシア株式会社
ローションティシューペーパー包装体
23日前
日本製紙クレシア株式会社
キッチンタオルロール
13日前
日本製紙クレシア株式会社
キッチンロールタオル製品
13日前
個人
和服
5か月前
個人
衿芯
2か月前
個人
シャツ
22日前
個人
二部式袍
8か月前
個人
ネクタイ
22日前
個人
下着
3か月前
個人
衣装
5か月前
個人
下着
11か月前
個人
靴下
9か月前
個人
マスク装着具
10か月前
個人
簡単帯
9か月前
個人
マスク
22日前
個人
多機能装身具
1か月前
個人
肩章付き衣服。
3か月前
個人
ショーツ
9か月前
個人
:マスクカバー
1か月前
個人
ボクサーパンツ
10か月前
個人
手首穴付き手袋
10か月前
個人
健康靴下
10か月前
個人
シャツ改造方法
5か月前
個人
作業補助ミトン
7か月前
個人
手袋
6か月前
株式会社聖
手足保護具
8か月前
個人
車椅子用グローブ
1か月前
個人
ソフトキャミブラ
5か月前
続きを見る
他の特許を見る