TOP
|
特許
|
意匠
|
商標
特許ウォッチ
Twitter
他の特許を見る
10個以上の画像は省略されています。
公開番号
2025131231
公報種別
公開特許公報(A)
公開日
2025-09-09
出願番号
2024028844
出願日
2024-02-28
発明の名称
キッチンタオルロール包装体
出願人
日本製紙クレシア株式会社
代理人
個人
,
個人
,
個人
,
個人
主分類
B65D
85/672 20060101AFI20250902BHJP(運搬;包装;貯蔵;薄板状または線条材料の取扱い)
要約
【課題】2~3プライで吸水性とコストに優れ、且つ巻直径の大きいキッチンタオルロールを、2ロール包装したキッチンタオルロール包装体において、包装のタイト性が良好で、キッチンタオルロールが潰れにくいキッチンタオルロール包装体を提供する。
【解決手段】2~3プライのキッチンタオルシートをロール状に巻取ったキッチンタオルロールを、軸方向が略平行になるように2ロールを隣接して並べた状態でフィルム包装した、キッチンタオルロール包装体であって、キッチンタオルシートは、その製品プライ当たりの坪量が30g/m
2
以上56g/m
2
以下、単位面積当たりの吸水量が300g/m
2
以上610g/m
2
以下であり、キッチンタオルロールの巻直径が127mm以上175mm以下、巻固さが1.0mm以上5.0mm以下であり、包装フィルムの沈み込み深さは、3mm以上20mm以下である、キッチンタオルロール包装体を提供する。
【選択図】図1
特許請求の範囲
【請求項1】
2~3プライのキッチンタオルシートをロール状に巻取ったキッチンタオルロールを、軸方向が略平行になるように2ロールを隣接して並べた状態でフィルム包装した、キッチンタオルロール包装体であって、
前記キッチンタオルシートは、その製品プライ当たりの坪量が30g/m
2
以上56g/m
2
以下、単位面積当たりの吸水量が300g/m
2
以上610g/m
2
以下であり、
前記キッチンタオルロールの巻直径が127mm以上175mm以下、巻固さが1.0mm以上5.0mm以下であり、
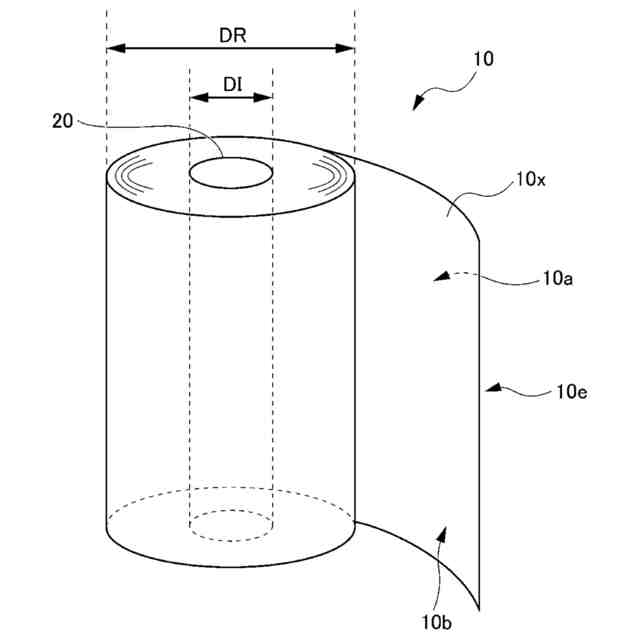
前記2ロールの前記キッチンタオルロールの前記軸方向が水平となるように前記キッチンタオルロール包装体を載置し、前記軸方向と直交する第1方向に隣接する2つの前記キッチンタオルロールを跨いで、質量64g、厚み1.0mm、幅25mm、目盛長さ300mmのステンレス製の第1定規を渡し、その板面が包装フィルムに接するように置いて基準線とし、隣接する2つの前記キッチンタオルロール間に位置する前記包装フィルムの上に、質量64g、厚み1.0mm、幅25mm、目盛長さ300mmのステンレス製の第2定規を、前記第2定規の幅方向が前記第1方向に沿う状態で前記包装フィルムに対して垂直に載せたとき、前記基準線に対する前記第2定規の自重による前記包装フィルムの沈み込み深さは、3mm以上20mm以下である、キッチンタオルロール包装体。
続きを表示(約 850 文字)
【請求項2】
前記キッチンタオルロールのロール密度が0.04g/cm
3
以上0.13g/cm
3
以下である、請求項1に記載のキッチンタオルロール包装体。
【請求項3】
前記キッチンタオルロールの巻直径から計算した、前記包装フィルムの理論周長に対する実際のフィルムの周長の百分率((実際のフィルム周長/包装フィルムの理論周長)×100(%))が94%以上101%以下である、請求項1又は2に記載のキッチンタオルロール包装体。
【請求項4】
前記フィルム包装における包装形態がキャラメル包装である、請求項1又は2に記載のキッチンタオルロール包装体。
【請求項5】
前記フィルム包装における包装形態がガゼット包装である、請求項1又は2に記載のキッチンタオルロール包装体。
【請求項6】
前記キッチンタオルシートが、エンボスパターンとは異なる抄紙工程由来の凹凸のパターンを有している、請求項1又は2に記載のキッチンタオルロール包装体。
【請求項7】
前記キッチンタオルシートの比容積が7cm
3
/g以上23cm
3
/g以下である、請求項1又は2に記載のキッチンタオルロール包装体。
【請求項8】
前記キッチンタオルシートの10枚当たりの紙厚が2.0mm/10枚以上4.0mm/10枚以下である、請求項1又は2に記載のキッチンタオルロール包装体。
【請求項9】
前記キッチンタオルロールの巻長が18m以上45m以下である、請求項1又は2に記載のキッチンタオルロール包装体。
【請求項10】
前記キッチンタオルシートはエンボスパターンを有し、前記エンボスパターンにおけるエンボスの面積率が4%以上30%以下である、請求項1又は2に記載のキッチンタオルロール包装体。
(【請求項11】以降は省略されています)
発明の詳細な説明
【技術分野】
【0001】
本発明は、キッチンタオルロール包装体に関する。
続きを表示(約 3,500 文字)
【背景技術】
【0002】
キッチンタオルの長尺化が進んでいるが、高級品はそれに加えて、品質が求められている。高級品の中でも、通気乾燥を用いる所謂TAD(Through Air Dryer、Through Air Dryingとも称する)抄紙技術により得られたキッチンタオルシートは、シートが厚く、吸水性に優れ、やわらかな風合いをもつ。
【0003】
通気乾燥を用いた抄紙技術に関する技術として、特許文献1には、約0.012ミリメートル(0.005インチ)か、それ以上の高さを有する、6.45平方センチメートル(1平方インチ)あたり約10から約150の突出部を有し、機械横方向の伸長率が約9パーセントかそれ以上で、基本重量が約10から70グラム/平方メートルである、クレープ加工されていない通気乾燥されたティッシュシートが開示されている。
【0004】
ここで、キッチンタオルロールの場合、製品として販売するときは、複数のロールを包装することが多い。通常のキッチンタオルロールの場合は、複数のロールを特に問題なく包装することができ、包装後の輸送等でも特に問題は発生しない。
【先行技術文献】
【特許文献】
【0005】
特許第3758702号公報
【発明の概要】
【発明が解決しようとする課題】
【0006】
しかしながら、TAD抄紙技術で抄紙したキッチンタオルシートのキッチンタオルロールは、柔らかな風合いを持つため、包装時のフィルムのテンション調整が難しく、包装が安定しない傾向にある。そこで、フィルムのテンションを高くしようとすることが考えられるが、発明者らが詳細に検討したところ、フィルムのテンションを高くしすぎると、包装がタイトになりすぎて、ロールが潰れてしまい、TAD抄紙技術により得られた風合いが低下するといった問題が発生し易いことがわかった。また、複数のロールを包装する場合、特に2ロール包装の場合に、かかる問題が顕著である。
【0007】
以上のように、吸水性に優れるTAD抄紙法で抄紙したキッチンタオルロールを、2ロール包装する場合に、そのキッチンタオルシートの風合いを確保したまま、包装体のタイト性を一定の範囲にすることが困難である。
【0008】
本発明は、このような事情に鑑みてなされたものであり、2~3プライのキッチンタオルシートをロール状に巻き取ったキッチンタオルロールを、2ロール包装したキッチンタオルロール包装体において、包装のタイト性が良好であり、シートの吸水性とコストに優れ、嵩高で柔らかな風合いを有し、かつロールが潰れにくい、キッチンタオルロール包装体を提供することを目的とする。
【課題を解決するための手段】
【0009】
本発明者は上述した目的を達成するために鋭意検討を行った結果、2~3プライのキッチンタオルシートをロール状に巻取ったキッチンタオルロールを、2ロールがいずれも軸方向が互いに略平行になるように隣接して並べた状態でフィルム包装した、キッチンタオルロール包装体において、キッチンタオルシートの製品プライ当たりの坪量、単位面積当たりの吸水量、キッチンタオルロールの巻直径、包装フィルムの沈み込み深さ、及びキッチンタオルロールの巻固さを、いずれも所定の数値範囲内とすることに知見を得て、本発明を完成するに至った。すなわち、本発明は以下のとおりである。
【0010】
(1)
2~3プライのキッチンタオルシートをロール状に巻取ったキッチンタオルロールを、軸方向が略平行になるように2ロールを隣接して並べた状態でフィルム包装した、キッチンタオルロール包装体であって、前記キッチンタオルシートは、その製品プライ当たりの坪量が30g/m
2
以上56g/m
2
以下、単位面積当たりの吸水量が300g/m
2
以上610g/m
2
以下であり、前記キッチンタオルロールの巻直径が127mm以上175mm以下、巻固さが1.0mm以上5.0mm以下であり、前記2ロールの前記キッチンタオルロールの前記軸方向が水平となるように前記キッチンタオルロール包装体を載置し、前記軸方向と直交する第1方向に隣接する2つの前記キッチンタオルロールを跨いで、質量64g、厚み1.0mm、幅25mm、目盛長さ300mmのステンレス製の第1定規を渡し、その板面が包装フィルムに接するように置いて基準線とし、隣接する2つの前記キッチンタオルロール間に位置する前記包装フィルムの上に、質量64g、厚み1.0mm、幅25mm、目盛長さ300mmのステンレス製の第2定規を、前記第2定規の幅方向が前記第1方向に沿う状態で前記包装フィルムに対して垂直に載せたとき、前記基準線に対する前記第2定規の自重による前記包装フィルムの沈み込み深さは、3mm以上20mm以下である、キッチンタオルロール包装体である。
(2)
前記キッチンタオルロールのロール密度が0.04g/cm
3
以上0.13g/cm
3
以下である、上記(1)に記載のキッチンタオルロール包装体である。
(3)
前記キッチンタオルロールの巻直径から計算した、前記包装フィルムの理論周長に対する実際のフィルムの周長の百分率((実際のフィルム周長/包装フィルムの理論周長)×100(%))が94%以上101%以下である、上記(1)又は(2)に記載のキッチンタオルロール包装体である。
(4)
前記フィルム包装における包装形態がキャラメル包装である、上記(1)又は(2)に記載のキッチンタオルロール包装体である。
(5)
前記フィルム包装における包装形態がガゼット包装である、上記(1)又は(2)に記載のキッチンタオルロール包装体である。
(6)
前記キッチンタオルシートが、エンボスパターンとは異なる抄紙工程由来の凹凸のパターンを有している、上記(1)又は(2)に記載のキッチンタオルロール包装体である。
(7)
前記キッチンタオルシートの比容積が7cm
3
/g以上23cm
3
/g以下である上記(1)又は(2)に記載のキッチンタオルロール包装体である。
(8)
前記キッチンタオルシートの10枚当たりの紙厚が2.0mm/10枚以上4.0mm/10枚以下である、上記(1)又は(2)に記載のキッチンタオルロール包装体である。
(9)
前記キッチンタオルロールの巻長が18m以上45m以下である、上記(1)又は(2)に記載のキッチンタオルロール包装体である。
(10)
前記キッチンタオルシートはエンボスパターンを有し、前記エンボスパターンにおけるエンボスの面積率が4%以上30%以下である、上記(1)又は(2)に記載のキッチンタオルロール包装体である。
(11)
前記キッチンタオルロールのロール密度と、前記包装フィルムの理論周長に対する実際のフィルムの周長の百分率との積が、4以上12以下である、上記(1)又は(2)に記載のキッチンタオルロール包装体である。
(12)
前記キッチンタオルシートはエンボスパターンを有し、かつ裏面側に前記エンボスパターンを有さない、上記(1)又は(2)に記載のキッチンタオルロール包装体である。
(13)
前記包装フィルムの厚みが18μm以上52μm以下である、上記(1)又は(2)に記載のキッチンタオルロール包装体である。
(14)
前記キッチンタオルシートはウェットパルプを含有し、前記ウェットパルプの含有率が60%以上である、上記(1)又は(2)に記載のキッチンタオルロール包装体である。
(15)
前記キッチンタオルロールは、その中心に、前記軸方向に平行な紙管を有し、前記紙管はBKPの含有率が60%以上である、上記(1)又は(2)に記載のキッチンタオルロール包装体である。
【発明の効果】
(【0011】以降は省略されています)
この特許をJ-PlatPat(特許庁公式サイト)で参照する
関連特許
日本製紙クレシア株式会社
吸収性物品
12日前
日本製紙クレシア株式会社
複合型不織布
23日前
日本製紙クレシア株式会社
ホルダーパンツ
1か月前
日本製紙クレシア株式会社
サポーターパンツ
29日前
日本製紙クレシア株式会社
ペット用吸収性物品
26日前
日本製紙クレシア株式会社
トイレットロール包装体
29日前
日本製紙クレシア株式会社
キッチンタオルロール包装体
22日前
日本製紙クレシア株式会社
ペーパータオル包装体パッケージ
1か月前
日本製紙クレシア株式会社
ローションティシューペーパー包装体
20日前
日本製紙クレシア株式会社
ローションティシューペーパー包装体
22日前
日本製紙クレシア株式会社
キッチンタオルロール
12日前
日本製紙クレシア株式会社
キッチンロールタオル製品
12日前
個人
箱
11か月前
個人
ゴミ箱
11か月前
個人
収容箱
2か月前
個人
コンベア
4か月前
個人
段ボール箱
6か月前
個人
段ボール箱
6か月前
個人
容器
8か月前
個人
ゴミ収集器
6か月前
個人
土嚢運搬器具
7か月前
個人
パウチ補助具
11か月前
個人
楽ちんハンド
4か月前
個人
バンド
1か月前
個人
宅配システム
6か月前
個人
角筒状構造体
4か月前
個人
包装容器
12日前
個人
廃棄物収容容器
1か月前
個人
コード類収納具
7か月前
個人
お薬の締結装置
5か月前
個人
閉塞装置
9か月前
株式会社和気
包装用箱
8か月前
個人
積み重ね用補助具
1か月前
個人
蓋閉止構造
3か月前
株式会社コロナ
梱包材
4か月前
個人
蓋閉止構造
3か月前
続きを見る
他の特許を見る