TOP
|
特許
|
意匠
|
商標
特許ウォッチ
Twitter
他の特許を見る
10個以上の画像は省略されています。
公開番号
2025129143
公報種別
公開特許公報(A)
公開日
2025-09-04
出願番号
2025026516
出願日
2025-02-21
発明の名称
複合タンクの新たな製造方法およびこの方法により製造された新たな複合タンク
出願人
レール・リキード-ソシエテ・アノニム・プール・レテュード・エ・レクスプロワタシオン・デ・プロセデ・ジョルジュ・クロード
,
コフェス・エン・フェー
代理人
弁理士法人川口國際特許事務所
主分類
F17C
1/06 20060101AFI20250828BHJP(ガスまたは液体の貯蔵または分配)
要約
【課題】閉鎖装置、および前記閉鎖装置と第1の繊維複合シェル層との間の接合装置の品質および信頼性が改善された加圧流体用の貯蔵タンクに対する必要性、ならびにそのような貯蔵タンクを製造するための方法を提供する。
【解決手段】本発明は、繊維複合タンクを製造するための方法であって、取り外し可能な成形マンドレルを組み立てることと、端部取付具11aを成形マンドレルに適用することであって、前記端部取付具は、開口部を有する金属リングである、適用することと、成形マンドレルおよび端部取付具に第1の繊維複合シェル層を形成することと、開口部を通して成形マンドレルを分解し除去することと、冷却により金属ボス10aを収縮させることと、端部取付具の開口部において金属ボスを挿入することと、加温によって金属ボスを膨張させることと、を含む方法に関する。本発明はまた、繊維複合タンクに関する。
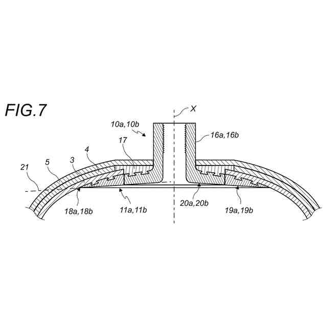
【選択図】図7
特許請求の範囲
【請求項1】
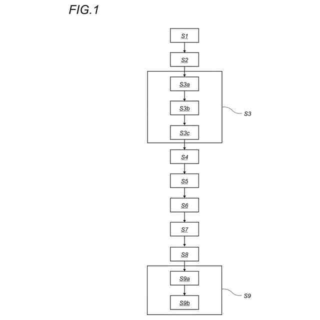
長手方向軸(X)に沿って延びる、流体を収容するための繊維複合タンク(1)を製造するための方法であって、以下の、
-取り外し可能な成形マンドレル(8)を組み立てることと(S1)、
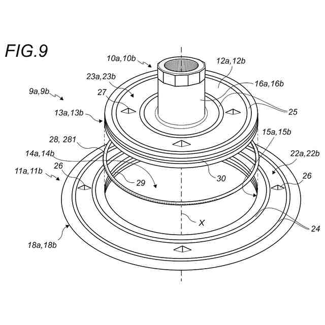
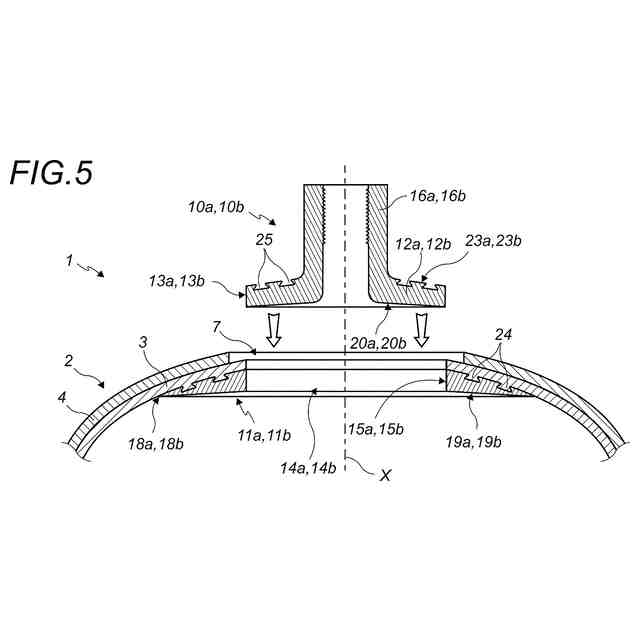
-端部取付具(11a、11b)を成形マンドレル(8)に適用すること(S2)であって、前記端部取付具(11a、11b)は、環状の内側半径方向面(15a、15b)によって囲まれた開口部(14a、14b)を有する金属リングであり、分解された後に成形マンドレル(8)を除去するのに十分な大きさである、ことと(S2)、
-成形マンドレル(8)の外面(37)および端部取付具(11a、11b)の外面(22a、22b)に第1の繊維複合シェル層(2)を形成し、成形マンドレル(8)用の抽出オリフィス(7)を形成することと(S3)、
-端部取付具(11a、11b)の開口部(14a、14b)を通して成形マンドレル(8)を分解して取り外すことと(S4)、
-金属ボス(10a、10b)を負の温度に冷却することによって収縮させるステップ(S5)であって、金属ボス(10a、10b)は、環状の外側半径方向面(13a、13b)がある基部(12a、12b)を有する、ことと(S5)、
-抽出オリフィス(7)を介して端部取付具(11a、11b)の開口部(14a、14b)において金属ボス(10a、10b)の環状の外側半径方向面(13a、13b)を挿入することと(S6)、
-金属ボス(10a、10b)を正の温度に加温することによって膨張させること(S7)であって、金属ボス(10a、10b)の環状の外側半径方向面(13a、13b)が、端部取付具(11a、11b)の開口部(14a、14b)の環状の内側半径方向面(15a、15b)と密封接触する、ことと(S7)、
を含む、方法。
続きを表示(約 1,400 文字)
【請求項2】
第1の繊維複合シェル層(2)を形成すること(S3)が、以下の、
-成形マンドレル(8)および端部取付具(11a、11b)の周りに、ポリマー樹脂で作られたライナーフィルム(3)を巻き付けることと(S3a)、
-ライナーフィルム(3)の周囲に、繊維とポリマー樹脂とを混合した複合材料で作られる複合テープ(4)を巻き付けることと(S3b)、および
-複合テープ(4)およびライナーフィルム(3)を共に固化するために、ライナーフィルム(3)および/または複合テープ(4)を加熱または硬化することと(S3c)、
を含むことを特徴とする、請求項1に記載の方法。
【請求項3】
ライナーフィルム(3)のポリマー樹脂と複合テープ(4)のポリマー樹脂が同じであることを特徴とする、請求項2に記載の方法。
【請求項4】
ライナーフィルム(3)のポリマー樹脂および/または複合テープ(4)のポリマー樹脂が熱可塑性樹脂であることを特徴とする、請求項2または3に記載の方法。
【請求項5】
ライナーフィルム(3)および/または複合テープ(4)のポリマー樹脂が、ポリオレフィン系のポリマー、ポリエステル系のポリマー、ポリアセタール系のポリマー、ポリアリールエーテルケトン(PAEK)系のポリマー、ポリアミド系のポリマー、熱可塑性ポリウレタン系のポリマー、ポリフェニレンスルフィド(PPS)、またはこれらの混合物であることを特徴とする、請求項2から4のいずれか一項に記載の方法。
【請求項6】
ライナーフィルム(3)を巻き付けること(S3a)および/または複合テープ(4)を巻き付けること(S3b)が、ライナーフィルム(3)および/または複合テープ(4)を加熱すること(S3c)と同時に行われることを特徴とする、請求項2から5のいずれか一項に記載の方法。
【請求項7】
金属ボス(10a、10b)を収縮させること(S5)が、金属ボス(10a、10b)を固体二酸化炭素で作られたドライアイスに浸漬することによって行われることを特徴とする、請求項1から6のいずれか一項に記載の方法。
【請求項8】
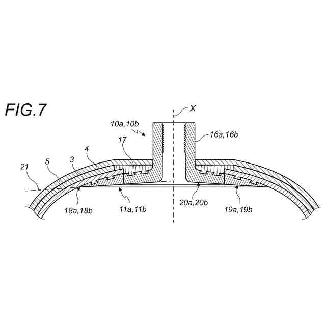
金属ボス(10a、10b)が、端部取付具(11a、11b)の開口部(14a、14b)の外側に突出する首部(16a、16b)を有し、金属ボス(10a、10b)を膨張させるステップ(S7)の後に、方法が、以下の、
-環状シール要素(17)を抽出オリフィス(7)に、首部(16a、16b)の周りに接触させて挿入すること(S8)、
を含むことを特徴とする、請求項1から7のいずれか一項に記載の方法。
【請求項9】
環状シール要素(17)が、ポリマー樹脂で作られ、好ましくは熱可塑性樹脂で作られることを特徴とする、請求項8に記載の方法。
【請求項10】
金属ボス(10a、10b)が、端部取付具(11a、11b)の開口部(14a、14b)の外側に突出する首部(16a、16b)を有し、方法が、金属ボスを膨張させること(S7)の後に、以下の、
-第1の繊維複合シェル層(2)および環状シール要素(17)に第2の繊維複合シェル層(5)を形成することと(S9)、
を含むことを特徴とする、請求項8から9のいずれか一項に記載の方法。
(【請求項11】以降は省略されています)
発明の詳細な説明
【技術分野】
【0001】
本発明は、加圧流体貯蔵タンクに関する。
続きを表示(約 1,700 文字)
【0002】
より具体的には、本発明は、加圧流体を収容するための繊維複合タンクを製造するための新しい方法、およびこの方法によって得られた新しい繊維複合タンクに関する。
【背景技術】
【0003】
繊維複合円筒型Vタンクは、輸送のための圧縮流体貯蔵に適合する興味深い高圧複合タンク設計を構成する。
【0004】
本出願の共同出願人の一人による国際特許出願、国際公開第2011/143723号に記載されているように、繊維複合タンクの製造中に、好ましくはタンク補強構造と同じ樹脂で作られた均質なライナーが、タンクの液密性を保証するために取り外し可能なマンドレルの周りに巻き付けられる。次いで、このライナーは、繊維と熱可塑性樹脂とを混合した複合材料で作られた複合テープをライナーの周りに巻き付けることによって作られた第1の繊維複合シェル層によって、包まれる。第1の繊維複合シェル層のドームは、通常、プラスチック材料で作られた環状端部取付具の内側に組み立てられた、金属で作られたオーバーモールドされたボスを備える閉鎖装置によって閉じられ、この閉鎖装置は、タンクの破裂圧力を高めるために、第1の繊維複合シェル層と同様の第2の繊維複合シェル層でオーバーモールドされる。
【0005】
そのような接合装置を担持するとき、ほとんどの場合、主に非常に狭い熱処理窓であることに起因して、ドーム領域の周りに漏れが生じる。樹脂が加熱されたときプラスチック環状端部取付具が変形するために、プラスチック端部取付具とオーバーモールドされた金属ボスとの間、および/またはプラスチック端部取付具と第1の繊維複合シェル層との間に漏れが現れることもある。
【0006】
本出願は、繊維複合円筒型Vタンクのドーム領域の周りの液密性を改善するために、国際特許出願、国際公開第2011/143723号に記載されている方法の改善を提示する。
【先行技術文献】
【特許文献】
【0007】
国際公開第2011/143723号
【発明の概要】
【発明が解決しようとする課題】
【0008】
閉鎖装置、および前記閉鎖装置と第1の繊維複合シェル層との間の接合装置の品質および信頼性が改善された加圧流体用の貯蔵タンクに対する必要性、ならびにそのような貯蔵タンクを製造するための便利な方法に対する必要性が存在している。
【課題を解決するための手段】
【0009】
この目的のために、本発明は、特に、同様に金属で作られた環状端部取付具の内側に締まり嵌めで組み立てられた、金属で作られたボスを備える、ドーム用の閉鎖装置の使用に基づく。
【0010】
本発明は、長手方向軸Xに沿って延びる、流体を収容するための繊維複合タンクを製造するための方法であって、以下の、
-取り外し可能な成形マンドレルを組み立てることと、
-端部取付具を成形マンドレルに適用することであって、前記端部取付具は、環状の内側半径方向面によって囲まれた開口部を有する金属リングであり、分解された後に成形マンドレルを除去するのに十分な大きさである、適用することと、
-成形マンドレルの外面および端部取付具の外面に第1の繊維複合シェル層を形成し、成形マンドレル用の抽出オリフィスを形成することと、
-端部取付具の開口部を通して成形マンドレルを分解して取り外すことと、
-金属ボスを負の温度に冷却することによって収縮させることであって、金属ボスは、環状の外側半径方向面がある基部を有する、収縮させることと、
-抽出オリフィスを介して端部取付具の開口部において金属ボスの環状の外側半径方向面を挿入することと、
-金属ボスを正の温度に加温することによって膨張させることであって、金属ボスの環状の外側半径方向面が、開口部の環状の内側半径方向面と密封接触する、膨張させることと、
を含む、方法に関する。
(【0011】以降は省略されています)
この特許をJ-PlatPat(特許庁公式サイト)で参照する
関連特許
株式会社石井鐵工所
低温タンクの揚液装置
5か月前
株式会社石井鐵工所
低温タンクの揚液装置
3か月前
川崎重工業株式会社
竪型タンク
4か月前
川崎重工業株式会社
三重殻タンク
6か月前
川崎重工業株式会社
三重殻タンク
6か月前
川崎重工業株式会社
液化水素貯蔵タンク
8か月前
川崎重工業株式会社
液化ガス貯蔵タンク
8か月前
大日本印刷株式会社
ガス充填容器
8か月前
川崎重工業株式会社
液化水素貯蔵タンク
8か月前
トヨタ自動車株式会社
水素タンク
3か月前
株式会社タツノ
充填ノズル
13日前
那須電機鉄工株式会社
水素吸蔵合金タンク
8か月前
トヨタ自動車株式会社
水素充填装置
4か月前
帝人株式会社
繊維補強圧力容器及びその製造方法
1か月前
岩谷産業株式会社
燃料ガス充填設備
3日前
株式会社タツノ
充填ノズル
1か月前
川崎重工業株式会社
低温流体の移送システム
4か月前
株式会社神戸製鋼所
水素吸蔵合金容器
2か月前
豊田合成株式会社
圧力容器
5か月前
川崎重工業株式会社
再液化装置
8か月前
トヨタ自動車株式会社
タンクモジュール
5か月前
トヨタ自動車株式会社
水素消費システム
3か月前
トヨタ自動車株式会社
水素消費システム
3か月前
川崎重工業株式会社
三重殻タンクのパージ方法
6か月前
清水建設株式会社
水素貯蔵供給システム
7か月前
トヨタ自動車株式会社
水素タンクシステム
3か月前
オリオン機械株式会社
燃料供給装置および発電システム
3か月前
オリオン機械株式会社
燃料供給装置および発電システム
5か月前
トヨタ自動車株式会社
カートリッジタンク
4か月前
鹿島建設株式会社
水素供給システム
7か月前
JFEエンジニアリング株式会社
エネルギー貯蔵システム
2か月前
JFEエンジニアリング株式会社
エネルギー貯蔵システム
3か月前
鹿島建設株式会社
水素貯蔵システム
3か月前
JFEエンジニアリング株式会社
エネルギー貯蔵システム
3か月前
トヨタ自動車株式会社
高圧タンクの製造方法
6か月前
JFEエンジニアリング株式会社
エネルギー貯蔵システム
1か月前
続きを見る
他の特許を見る