TOP
|
特許
|
意匠
|
商標
特許ウォッチ
Twitter
他の特許を見る
10個以上の画像は省略されています。
公開番号
2025129919
公報種別
公開特許公報(A)
公開日
2025-09-05
出願番号
2024026898
出願日
2024-02-26
発明の名称
流体圧アクチュエータ
出願人
株式会社ブリヂストン
代理人
弁理士法人太陽国際特許事務所
主分類
F15B
15/10 20060101AFI20250829BHJP(流体圧アクチュエータ;水力学または空気力学一般)
要約
【課題】拘束部材の負荷を抑制する流体圧アクチュエータを提供する。
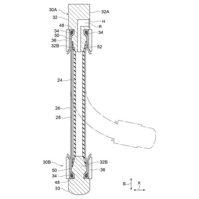
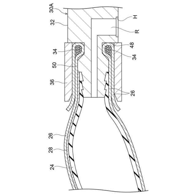
【解決手段】流体の圧力に応じて膨張及び収縮する筒状のチューブ24と、チューブ24の外周面を覆うスリーブ26と、チューブ端部を封止する一対の封止部材と、チューブ24の径方向の外側、且つ、スリーブ26の径方向の内側において、軸方向Sにおける一方側から他方側に延出配置され、軸方向Sの圧縮に対して抵抗し、軸方向Sと交差する交差方向に湾曲可能である長尺の拘束部材28と、拘束部材28の一端部である拘束端部29に対応する位置においてスリーブ26の外側からスリーブ26及び拘束部材28を挿入部32Bへ固定する固定部材36と、を備え、拘束端部29は挿入部32Bにおいて、湾曲前のチューブ24の挿入部32Bに挿入されていない部分に対応する外面よりも径方向外側でチューブ24の外面に固定される。
【選択図】図4
特許請求の範囲
【請求項1】
流体の圧力に応じて膨張及び収縮する筒状のチューブと、
前記チューブの外周面を覆い、前記チューブの膨張により前記チューブを軸方向への伸長を制限しながら径方向に拡げるスリーブと、
前記チューブの軸方向における一方側及び他方側のチューブ端部へそれぞれ先端側から挿入させる挿入部を有し、前記チューブ端部を封止する一対の封止部材と、
前記チューブの径方向の外側、且つ、前記スリーブの径方向の内側において、前記軸方向における一方側から他方側に延出配置され、前記軸方向の圧縮に対して抵抗し、前記軸方向と交差する交差方向に湾曲可能である長尺の拘束部材と、
前記拘束部材の一端部である拘束端部に対応する位置において前記スリーブの外側から前記スリーブ及び前記拘束部材を前記挿入部へ固定する固定部材と、
を備え、
前記拘束端部は前記挿入部において、湾曲前の前記チューブの前記挿入部に挿入されていない部分に対応する外面よりも径方向外側で前記チューブの外面に固定される、
流体圧アクチュエータ。
続きを表示(約 150 文字)
【請求項2】
最大内圧時において、前記チューブの最大径は前記挿入部の前記拘束端部が配置された部分の160%以内である、
請求項1に記載の流体圧アクチュエータ。
【請求項3】
前記挿入部は、先端から基端に向かうにつれて大径となる、
請求項1に記載の流体圧アクチュエータ。
発明の詳細な説明
【技術分野】
【0001】
本発明は、流体圧アクチュエータに関する。
続きを表示(約 1,400 文字)
【背景技術】
【0002】
特許文献1には、流体の圧力によって膨張及び収縮する円筒状のチューブと、所定方向に配向された繊維コードを編み込んだ伸縮性を有する構造体であり、チューブの外周面を覆うスリーブと、チューブの軸方向における端部を封止する封止部材とを備える流体圧アクチュエータであって、スリーブの内側において、軸方向における一端側から他端側に亘って設けられる拘束部材を備え、拘束部材は、軸方向に沿った圧縮に対して抵抗し、軸方向に直交する方向に変形可能である流体圧アクチュエータが開示されている。
【先行技術文献】
【特許文献】
【0003】
特開2021-088999号公報
【発明の概要】
【発明が解決しようとする課題】
【0004】
このような流体圧アクチュエータでは、拘束部材をチューブ及びスリーブと共に封止部材へ固定するが、流体圧アクチュエータの作動時にチューブ内圧が上昇して、固定部分に対して固定されていない中央部分の外形が大きくなる。そのため、拘束部材が固定部分と中央部分の境界で屈曲し、この屈曲が大きくなると、拘束部材の負荷が大きくなってしまう。
【0005】
本発明は、拘束部材の負荷を抑制する流体圧アクチュエータの提供を目的とする。
【課題を解決するための手段】
【0006】
第1態様の流体圧アクチュエータは、流体の圧力に応じて膨張及び収縮する筒状のチューブと、前記チューブの外周面を覆い、前記チューブの膨張により前記チューブを軸方向への伸長を制限しながら径方向に拡げるスリーブと、前記チューブの軸方向における一方側及び他方側のチューブ端部へそれぞれ先端側から挿入させる挿入部を有し、前記チューブ端部を封止する一対の封止部材と、前記チューブの径方向の外側、且つ、前記スリーブの径方向の内側において、前記軸方向における一方側から他方側に延出配置され、前記軸方向の圧縮に対して抵抗し、前記軸方向と交差する交差方向に湾曲可能である長尺の拘束部材と、前記拘束部材の一端部である拘束端部に対応する位置において前記スリーブの外側から前記スリーブ及び前記拘束部材を前記挿入部へ固定する固定部材と、を備え、前記拘束端部は前記挿入部において、湾曲前の前記チューブの前記挿入部に挿入されていない部分に対応する外面よりも径方向外側で前記チューブの外面に固定される。
【0007】
第1態様の流体圧アクチュエータでは、拘束端部は挿入部において、湾曲前のチューブの挿入部に挿入されていない部分に対応する外面よりも径方向外側でチューブの外面に固定される。したがって、流体の圧力に応じてチューブが膨張した時にチューブの中央部分の外形が大きくなっても、拘束部材の変形度合いを小さくして負荷を抑制することができる。
【0008】
第2態様の流体圧アクチュエータは、最大内圧時において、前記チューブの最大径は前記挿入部の前記拘束端部が配置された部分の160%以内である。
【0009】
このように、設定することにより、流体圧アクチュエータの作動時における変形を確保しつつ、拘束部材の負荷を抑制することができる。
【0010】
第3態様の流体圧アクチュエータは、前記挿入部は、先端から基端に向かうにつれて大径となる。
(【0011】以降は省略されています)
この特許をJ-PlatPat(特許庁公式サイト)で参照する
関連特許
株式会社ブリヂストン
タイヤ
9日前
株式会社ブリヂストン
タイヤ
27日前
株式会社ブリヂストン
空気入りタイヤ
13日前
株式会社ブリヂストン
タイヤ成型用金型
19日前
株式会社ブリヂストン
傾斜式車両用タイヤ
7日前
株式会社ブリヂストン
傾斜式車両用タイヤ
7日前
株式会社ブリヂストン
傾斜式車両用タイヤ
7日前
株式会社ブリヂストン
タイヤ及びタイヤの製造方法
9日前
株式会社ブリヂストン
タイヤ及びタイヤの製造方法
9日前
株式会社ブリヂストン
タイヤ及びタイヤの製造方法
9日前
株式会社ブリヂストン
タイヤ及びタイヤの製造方法
9日前
株式会社ブリヂストン
タイヤ管理装置、プログラム及びタイヤ管理方法
22日前
株式会社ブリヂストン
熱分解油、エラストマー、ゴム製品、及び樹脂製品
今日
株式会社ブリヂストン
熱分解油、エラストマー、ゴム製品、及び樹脂製品
今日
株式会社ブリヂストン
熱分解油、エラストマー、ゴム製品、及び樹脂製品
今日
株式会社ブリヂストン
タイヤ
1か月前
株式会社ブリヂストン
情報処理装置、情報処理方法、及び情報処理プログラム
1か月前
株式会社ブリヂストン
タイヤ温度管理装置、プログラム及びタイヤ温度管理方法
20日前
豊和工業株式会社
クランプ装置
6か月前
株式会社豊田自動織機
流体圧シリンダ
2か月前
三和テッキ株式会社
油圧アクチュエータ
27日前
株式会社コスメック
シリンダ装置
3か月前
株式会社不二越
電磁切替弁
2か月前
個人
省エネ改良型油圧リバースブースター
2か月前
株式会社不二越
油圧システム
5か月前
日立建機株式会社
作業機械
1か月前
日立建機株式会社
作業機械
1か月前
コベルコ建機株式会社
建設機械
7か月前
学校法人東海大学
流れ制御装置
6か月前
日立建機株式会社
作業機械
7か月前
株式会社不二越
油圧駆動システム
2か月前
日立建機株式会社
油圧駆動装置
7か月前
ナブテスコ株式会社
方向切換弁装置
5か月前
住友建機株式会社
ショベルの制御方法
3か月前
株式会社WGE
増圧装置
22日前
学校法人 中央大学
人工筋アクチュエータ装置
3か月前
続きを見る
他の特許を見る