TOP
|
特許
|
意匠
|
商標
特許ウォッチ
Twitter
他の特許を見る
公開番号
2025151469
公報種別
公開特許公報(A)
公開日
2025-10-09
出願番号
2024052914
出願日
2024-03-28
発明の名称
油圧アクチュエータ
出願人
三和テッキ株式会社
代理人
主分類
F15B
15/22 20060101AFI20251002BHJP(流体圧アクチュエータ;水力学または空気力学一般)
要約
【課題】ストロークエンドでのシリンダへの荷重負荷を低減することができる油圧アクチュエータを提供する。
【解決手段】複動式油圧アクチュエータ1は、ピストン4が、ヘッド側油室21とロッド側油室22とを連通する油通路と、当該油通路に介在しロッド側油室22が所定圧に達したとき開路するリリーフ弁5と、ストロークエンドの直近位置でロッドカバー23の内側面23aに押されてリリーフ弁5を開く近接起動部材6とを具備する。
【選択図】図2
特許請求の範囲
【請求項1】
複動式油圧アクチュエータであって、ピストンが、ヘッド側油室とロッド側油室とを連通する油通路と、当該油通路に介在しロッド側油室が所定圧に達したとき開路するリリーフ弁と、ストロークエンドの直近位置でロッドカバーの内側面に押されて前記リリーフ弁を開く近接起動部材とを具備することを特徴とする油圧アクチュエータ。
続きを表示(約 560 文字)
【請求項2】
前記ピストンの油通路は、当該ピストンに隣接してピストンロッドを軸線直交方向に貫通し、両端が前記ロッド側油室に通じる貫通孔を含み、
前記リリーフ弁は、前記貫通孔にステムの先端を軸線方向に突出させるように設けられ、
前記近接起動部材は、前記ピストンに隣接して前記ピストンロッドに軸線方向移動自在に外嵌されるガイドリングと、前記貫通孔に緩く挿通され両端が前記ガイドリングに係止されると共に中間部において前記リリーフ弁のステムの先端に当接するスプリングピンとを具備し、
前記ガイドリングがストロークエンドの直近位置において前記ロッドカバーの内側面に押されて前記スプリングピンを介して前記ステムを開放位置に押し込むことにより、前記貫通孔を介して前記ヘッド側油室と前記ロッド側油室とが連通するように設けられることを特徴とする請求項1に記載の油圧アクチュエータ。
【請求項3】
前記ピストンの油通路に含まれる前記貫通孔は、前記ピストンロッドに形成された内部油室の周壁を軸線直交方向に貫通して前記ロッド側油室に通じるように設けられ、
前記リリーフ弁が、前記ステムの先端を前記内部油室内に軸線方向に突出させるように設けられることを特徴とする請求項2に記載の油圧アクチュエータ。
発明の詳細な説明
【技術分野】
【0001】
本発明は、ピストンがストロークエンドに達する直前で油を排出することで、シリンダへの荷重負荷を低減する油圧アクチュエータに関する。
続きを表示(約 1,800 文字)
【背景技術】
【0002】
従来、油圧アクチュエータにおける問題の一つに、ピストンのストロークエンドにおける昇圧によるピストンおよびシリンダへの荷重負荷がある。多くのアクチュエータにおいて、ピストンのストロークエンドにおける昇圧は不要である。例えば、圧縮ヘッドのアクチュエータの場合であれば、上下ダイスがタッチすれば圧縮が完了するため、ストロークエンドにおける加圧は不要である。そのため、ストロークエンドでの荷重負荷が生じるダイスなしでの圧縮操作を禁じている。
また例えば、特許文献1に見られるような、油圧アクチュエータでコンクリート柱にタガネを打ち込んで破砕するポールクラッシャにおいては、ポールを粉砕した後の加圧は必要でないにもかかわらず、構造上ストロークエンドで加圧されてしまう。電線の油圧カッターでも同様のことが言える。したがって、ストロークエンドにおいて荷重を受けられる強度を持つシリンダおよびピストンが必要になる。このため、装置が大型化、重量化してしまうといった問題が生じていた。
【先行技術文献】
【特許文献】
【0003】
実開平6-31841号公報
【発明の概要】
【発明が解決しようとする課題】
【0004】
本発明は、ピストンのストロークエンドの直近位置で機械的に油路を開いてシリンダ内を圧抜きし、ストロークエンドでのシリンダへの荷重負荷を低減できる油圧アクチュエータを提供することを課題とする。
【課題を解決するための手段】
【0005】
以下の説明において添付図面の符号を参照するが、本発明はこれに限定されるものではない。
上記課題を解決するための、本発明の複動式油圧アクチュエータ1においては、ピストン4が、ヘッド側油室21とロッド側油室22とを連通する油通路と、当該油通路に介在しロッド側油室22が所定圧に達したとき開路するリリーフ弁5と、ストロークエンドの直近位置でロッドカバー23の内側面23aに押されてリリーフ弁5を開く近接起動部材6とを具備する。
【発明の効果】
【0006】
本発明の油圧アクチュエータによれば、ピストンのストロークエンドの直近位置で機械的に油路を開いてシリンダ内を圧抜きし、ストロークエンドでのシリンダへの荷重負荷を低減することができる。
【図面の簡単な説明】
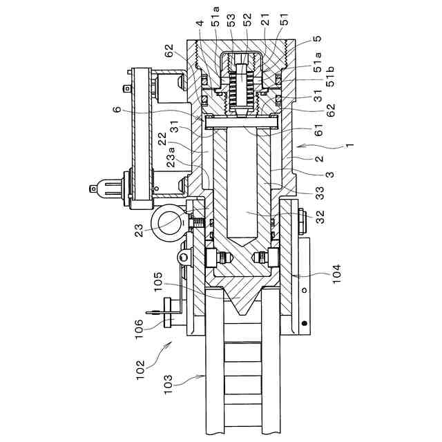
【0007】
コンクリート柱の破砕装置の使用状態の斜視図である。
図1の破砕装置を構成する油圧破砕機の断面図であり、油圧アクチュエータのピストンロッドが引き込み位置にある状態を示す。
図1の破砕装置を構成する油圧破砕機の断面図であり、油圧アクチュエータのピストンロッドが伸長位置にある状態を示す。
図2の油圧破砕機の一部を切欠した平面図であり、油圧アクチュエータのピストンロッドが伸長位置にある状態を示す。
図3のV部の拡大図である。
油圧破砕機におけるアクチュエータの他の実施形態を示す断面図である。
【発明を実施するための形態】
【0008】
以下、図面を参照して本発明の油圧アクチュエータをコンクリート柱の破砕装置に適用する実施形態を例にとって説明する。
図1に示すように、コンクリート柱Pの破砕装置101は、破砕対象である起立したコンクリート柱Pの外周90°ごとの四方に配置される4つの同一構成の油圧破砕機102と、隣接する油圧破砕機102同士を接続してコンクリート柱Pを包囲する4つの連結金具組立体103とを具備し、コンクリート柱Pを4つの油圧破砕機102により四方から同時に破砕する装置である。
【0009】
図2~4によく示すように、油圧破砕機102の油圧アクチュエータ1は、コンクリート柱Pの中心に水平に軸心を向けて配置される油圧シリンダ2、ピストンロッド3、ピストン4を具備する。ピストンロッド3の先端に破砕刃105が固着される。油圧シリンダ2のロッドカバー23にフレーム組立体104が組み付けられる。
【0010】
フレーム組立体104は、連結金具組立体103を着脱するための一対のボールロックピン106を具備する。
(【0011】以降は省略されています)
この特許をJ-PlatPat(特許庁公式サイト)で参照する
関連特許
三和テッキ株式会社
油圧アクチュエータ
4日前
三和テッキ株式会社
電線とスリーブとの接続構造及びスリーブの圧縮装置
3日前
豊和工業株式会社
クランプ装置
5か月前
株式会社豊田自動織機
流体圧シリンダ
1か月前
三和テッキ株式会社
油圧アクチュエータ
4日前
株式会社コスメック
シリンダ装置
2か月前
株式会社不二越
電磁切替弁
1か月前
株式会社不二越
油圧システム
5か月前
個人
省エネ改良型油圧リバースブースター
1か月前
日立建機株式会社
作業機械
6か月前
日立建機株式会社
作業機械
10日前
日立建機株式会社
作業機械
11日前
学校法人東海大学
流れ制御装置
5か月前
株式会社不二越
油圧駆動システム
1か月前
ナブテスコ株式会社
方向切換弁装置
4か月前
住友建機株式会社
ショベルの制御方法
3か月前
学校法人 中央大学
人工筋アクチュエータ装置
2か月前
株式会社LIXIL
脈動流生成装置及び建築設備
4か月前
アズビル株式会社
パイロットリレー及びポジショナ
1か月前
CKD株式会社
アクチュエータの動作検出装置
4か月前
ナブテスコ株式会社
ロータリーアクチュエータ
5か月前
コベルコ建機株式会社
建設機械の油圧駆動装置
6か月前
カヤバ株式会社
流体圧制御装置
26日前
日立建機株式会社
油圧システム
14日前
中本パックス株式会社
気体圧装置
2か月前
株式会社クボタ
作業機及び作業機の制御方法
5日前
カヤバ株式会社
インレットハウジング
5か月前
株式会社東和製作所
シリンダ伸縮反転用バルブユニット
1か月前
株式会社コガネイ
圧縮空気供給装置
2か月前
日立建機株式会社
分別回収システム
14日前
カヤバ株式会社
流体圧シリンダユニット
4か月前
日立建機株式会社
制御弁装置および作業機械
1か月前
藤倉コンポジット株式会社
シリンダ装置及びシリンダ装置の製造方法
4か月前
セイコーエプソン株式会社
圧力可変ユニット及び液体吐出装置
3か月前
株式会社福島製作所
グラブバケット診断装置
2か月前
ピー・エス・シー株式会社
サーボシリンダ
6か月前
続きを見る
他の特許を見る