TOP
|
特許
|
意匠
|
商標
特許ウォッチ
Twitter
他の特許を見る
10個以上の画像は省略されています。
公開番号
2025130999
公報種別
公開特許公報(A)
公開日
2025-09-09
出願番号
2024028450
出願日
2024-02-28
発明の名称
超音波内視鏡
出願人
富士フイルム株式会社
代理人
弁理士法人航栄事務所
主分類
A61B
8/12 20060101AFI20250902BHJP(医学または獣医学;衛生学)
要約
【課題】耐久性を向上させた超音波内視鏡を提供する。
【解決手段】超音波内視鏡は、環状に構成された超音波送受信部を含む先端部を備え、上記先端部は、上記超音波送受信部に接続されたケーブルと、上記ケーブルの先端側部分を支持する支持部と、を有し、上記ケーブルは、上記超音波送受信部に含まれる超音波振動子に電気的に接続された信号ケーブルと、複数の上記信号ケーブルを束ねて被覆する被覆部材と、を含み、その先端側において上記信号ケーブルが部分的に露出しており、上記先端部は、露出している上記信号ケーブルの周囲に少なくとも充填された充填材層を有する。
【選択図】図12
特許請求の範囲
【請求項1】
環状に構成された超音波送受信部を含む先端部を備え、
前記先端部は、前記超音波送受信部に接続されたケーブルと、前記ケーブルの先端側部分を支持する支持部と、を有し、
前記ケーブルは、前記超音波送受信部に含まれる超音波振動子に電気的に接続された信号ケーブルと、複数の前記信号ケーブルを束ねて被覆する被覆部材と、を含み、その先端側において前記信号ケーブルが部分的に露出しており、
前記先端部は、露出している前記信号ケーブルの周囲に少なくとも充填された充填材層を有する超音波内視鏡。
続きを表示(約 1,200 文字)
【請求項2】
請求項1に記載の超音波内視鏡であって、
前記先端部は、前記超音波送受信部に接続された基板を備え、
前記充填材層は、前記基板と前記信号ケーブルとの接続部分の周囲に更に設けられている超音波内視鏡。
【請求項3】
請求項1に記載の超音波内視鏡であって、
前記充填材層は、前記支持部の周囲に更に設けられている超音波内視鏡。
【請求項4】
請求項1から3のいずれか1項に記載の超音波内視鏡であって、
前記支持部は、第1支持部材と第2支持部材とを備え、前記第1支持部材と前記第2支持部材との間で前記ケーブルを挟持して当該ケーブルを支持している超音波内視鏡。
【請求項5】
請求項4に記載の超音波内視鏡であって、
前記第1支持部材は、前記ケーブルを押さえる押さえ面を備え、
前記押さえ面は、前記ケーブルに倣う湾曲形状を有する超音波内視鏡。
【請求項6】
請求項1から3のいずれか1項に記載の超音波内視鏡であって、
前記先端部の先端面に設けられた照明窓と、
照明光を前記照明窓に導くライトガイドと、を備え、
前記支持部は、前記ケーブルの先端側部分に当接する当接部を有するブラケットを備え、
前記先端部の軸線方向に交差する面に投影した場合に、前記ライトガイドの先端側部分の少なくとも一部と重複又は隣接する位置に前記ケーブルの先端側部分又は前記当接部が配置され、
前記先端部の内部に配置された押し当て部であって、前記ライトガイドの一部である被押し当て部が押し当てられる押し当て面を有し、前記押し当て面に前記被押し当て部が押し当てられることにより、前記ライトガイドの先端側部分よりも基端側に配置された部分を、前記当接部から前記軸線方向に交差する方向に離間した位置に配置する押し当て部を備える超音波内視鏡。
【請求項7】
請求項6に記載の超音波内視鏡であって、
外周面と内周面とを有する筒状のベース部材であって、前記外周面で前記超音波送受信部を支持するベース部材を備え、
前記ベース部材は、前記内周面に前記押し当て部を有する超音波内視鏡。
【請求項8】
請求項1から3のいずれか1項に記載の超音波内視鏡であって、
前記支持部は、前記ケーブルを支持し且つ前記ケーブルに沿って延びた第1支持部材と、前記第1支持部材を支持する第2支持部材と、前記第2支持部材に対する前記第1支持部材の揺動を規制する規制構造と、を備える超音波内視鏡。
【請求項9】
請求項8に記載の超音波内視鏡であって、
前記第1支持部材には、前記第2支持部材により支持される被支持部よりも先端側の位置に、前記第1支持部材の外周側に配置される前記先端部の第1別部材に向けて突出する突出部が設けられ、
前記突出部によって前記規制構造が構成される超音波内視鏡。
発明の詳細な説明
【技術分野】
【0001】
本開示の技術は、超音波内視鏡に関する。
続きを表示(約 1,900 文字)
【背景技術】
【0002】
特許文献1、2には、いわゆるラジアルタイプの超音波内視鏡が記載されている。
【先行技術文献】
【特許文献】
【0003】
特開2022-124502号公報
特許第6654699号公報
【発明の概要】
【発明が解決しようとする課題】
【0004】
本開示の技術の目的は、耐久性を向上させた超音波内視鏡を提供することにある。
【課題を解決するための手段】
【0005】
本開示の技術に係る一つの実施形態の超音波内視鏡は、環状に構成された超音波送受信部を含む先端部を備え、上記先端部は、上記超音波送受信部に接続されたケーブルと、上記ケーブルの先端側部分を支持する支持部と、を有し、上記ケーブルは、上記超音波送受信部に含まれる超音波振動子に電気的に接続された信号ケーブルと、複数の上記信号ケーブルを束ねて被覆する被覆部材と、を含み、その先端側において上記信号ケーブルが部分的に露出しており、上記先端部は、露出している上記信号ケーブルの周囲に少なくとも充填された充填材層を有するものである。
【発明の効果】
【0006】
本開示の技術によれば、耐久性を向上させることができる。
【図面の簡単な説明】
【0007】
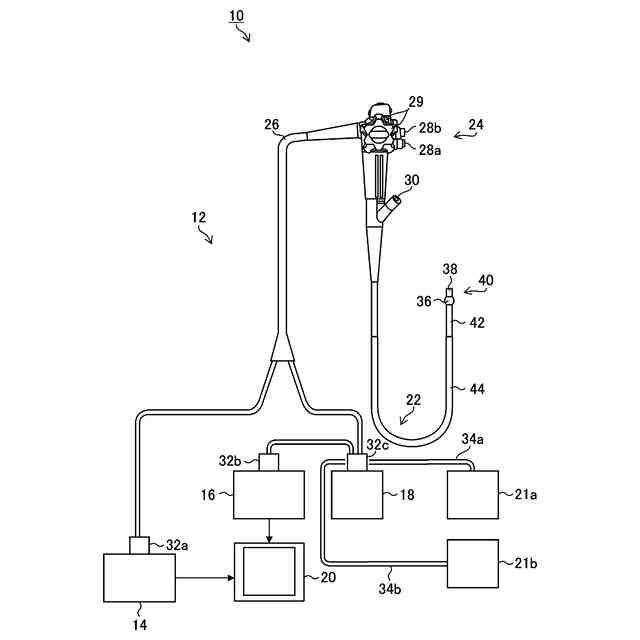
図1は、本開示の技術に係る超音波内視鏡の一実施形態である超音波内視鏡12を使用する内視鏡装置10を示す概略構成図である。
図2は、図1に示す超音波内視鏡12の先端部の一例の外観を示す部分拡大斜視図である。
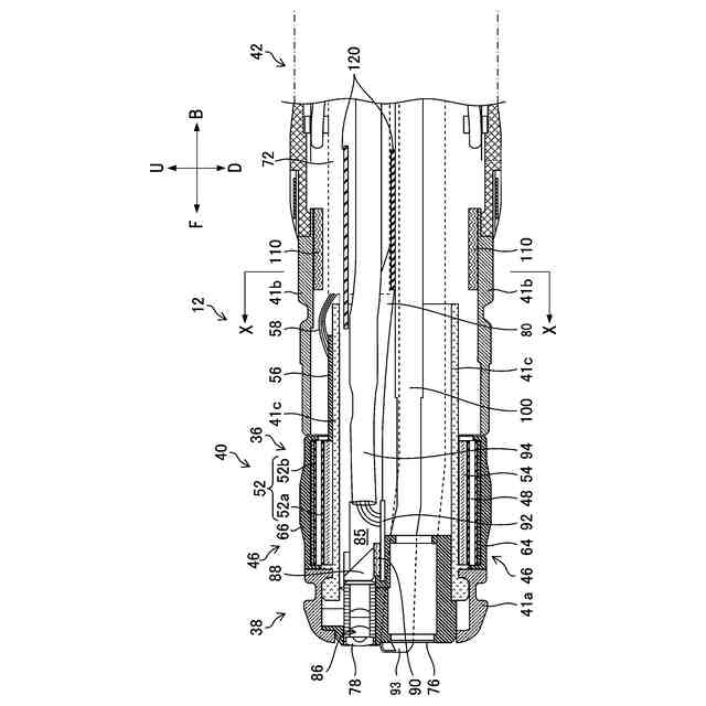
図3は、図2に示す超音波内視鏡12の先端部の軸線に沿う縦断面図である。
図4は、同軸ケーブル58の断面模式図である。
図5は、ケーブル72の断面模式図である。
図6は、超音波内視鏡12の先端部40の一部を示す斜視図である。
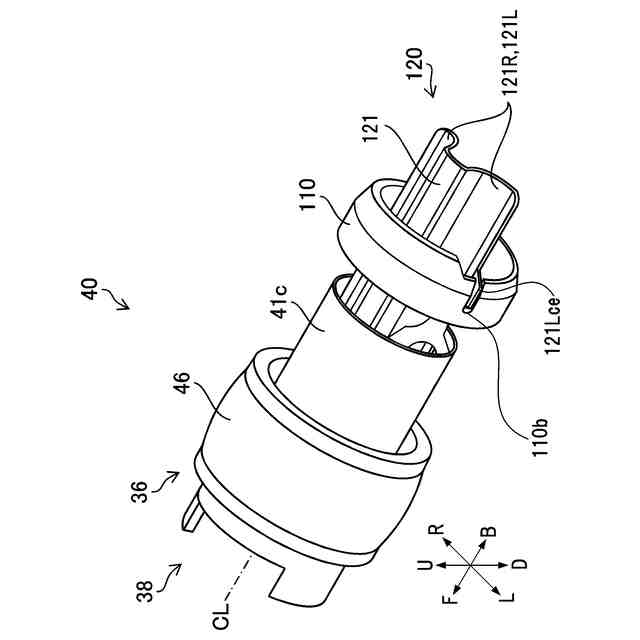
図7は、図6に示すブラケット120の斜視図である。
図8は、図6においてケーブル72が省略されていない状態を示す図である。
図9は、図8に示す先端部40を下側から見た斜視図である。
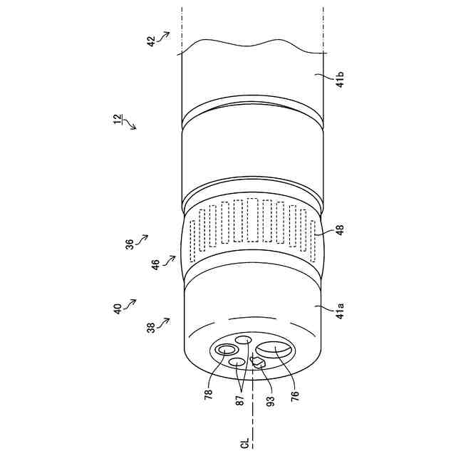
図10は、図3のX-X矢視の断面の要部を示す模式図である。
図11は、金属リング41c、ブラケット120、及びブラケット支持部材110の位置関係を示す模式図である。
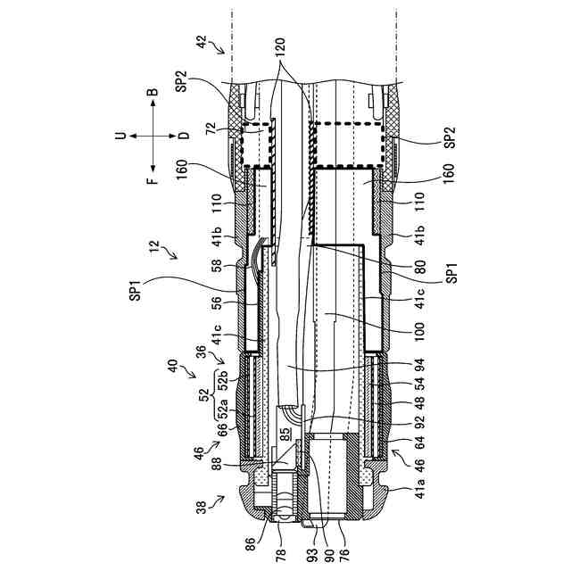
図12は、先端部40において充填材層160が設けられる好ましい範囲を示す図である。
図13は、超音波内視鏡12の先端部40の変形例を示す断面模式図である。
図14は、ブラケット140の外観を示した斜視図である。
図15は、挿入部22の軸線方向に直交する面に投影した場合における、ライトガイド80の先端側部分80Aと、ケーブル72の先端側部分72Aと、当接部142のそれぞれ配置位置を示した説明図である。
図16は、ライトガイド80の先端側部分80Aと本体部分80Cの各領域を説明した図である。
図17は、ライトガイドのオフセット構成の参考例を示す図である。
図18は、第1形態のオフセット構成を詳しく説明するために、図13の先端部40を構成する複数の部材から金属リング41cと、ライトガイド80と、ケーブル72を抽出した説明図である。
図19は、図13に示す先端部40において充填材層160が設けられる好ましい範囲を示す図である。
【発明を実施するための形態】
【0008】
図1は、本開示の技術に係る超音波内視鏡の一実施形態である超音波内視鏡12を使用する内視鏡装置10を示す概略構成図である。図2は、図1に示す超音波内視鏡12の先端部の一例の外観を示す部分拡大斜視図である。図3は、図2に示す超音波内視鏡12の先端部の軸線に沿う縦断面図である。
【0009】
図1に示すように、内視鏡装置10は、超音波内視鏡12と、超音波画像を生成する超音波用プロセッサ装置14と、内視鏡画像を生成する内視鏡用プロセッサ装置16と、体腔内を照明する照明光を超音波内視鏡12に供給する光源装置18と、超音波画像及び内視鏡画像等を表示するモニタ20と、洗浄水などを貯留する送水タンク21aと、体腔内の吸引物を吸引する吸引ポンプ21bと、を備える。
【0010】
超音波内視鏡12は、被検体の体腔内に挿入される挿入部22と、挿入部22の基端部に連設され、術者が操作を行うための操作部24と、操作部24に一端が接続されたユニバーサルコード26とを有する。
(【0011】以降は省略されています)
この特許をJ-PlatPat(特許庁公式サイト)で参照する
関連特許
富士フイルム株式会社
超音波診断器
今日
富士フイルム株式会社
超音波診断装置
今日
富士フイルム株式会社
超音波診断装置
今日
富士フイルム株式会社
超音波診断装置
今日
富士フイルム株式会社
超音波診断装置
今日
富士フイルム株式会社
組成物、硬化物および光学部材
今日
富士フイルム株式会社
画像処理装置、方法およびプログラム
今日
富士フイルム株式会社
支援装置、支援方法、及び支援プログラム
今日
富士フイルム株式会社
磁気共鳴撮像装置及び中心周波数の補正方法
今日
富士フイルム株式会社
超音波診断装置用カートおよび超音波診断ユニット
今日
富士フイルム株式会社
超音波診断装置用カートおよび超音波診断ユニット
今日
富士フイルム株式会社
画像処理装置、画像処理方法、及び画像処理プログラム
今日
富士フイルム株式会社
画像処理装置、画像処理方法、及び画像処理プログラム
今日
富士フイルム株式会社
インクジェット記録方法、メラミン化粧板の製造方法、及びメラミン化粧板
今日
富士フイルム株式会社
画像処理装置、方法およびプログラム、並びに学習装置、方法およびプログラム
今日
富士フイルム株式会社
転写フィルム、転写フィルムの製造方法、硬化層の製造方法、及び、半導体パッケージの製造方法
今日
富士フイルム株式会社
果菜植物の栽培方法、果菜植物の栽培装置及びトマト植物
今日
個人
健康器具
7か月前
個人
短下肢装具
2か月前
個人
歯茎みが品
8か月前
個人
鼾防止用具
7か月前
個人
脈波測定方法
7か月前
個人
白内障治療法
6か月前
個人
導電香
8か月前
個人
嚥下鍛錬装置
2か月前
個人
洗井間専家。
6か月前
個人
前腕誘導装置
2か月前
個人
マッサージ機
7か月前
個人
脈波測定方法
7か月前
個人
アイマスク装置
1か月前
個人
片足歩行支援具
8か月前
個人
矯正椅子
4か月前
個人
クリップ
8か月前
個人
バッグ式オムツ
3か月前
個人
胸骨圧迫補助具
28日前
個人
歯の修復用材料
3か月前
続きを見る
他の特許を見る