TOP
|
特許
|
意匠
|
商標
特許ウォッチ
Twitter
他の特許を見る
10個以上の画像は省略されています。
公開番号
2025131806
公報種別
公開特許公報(A)
公開日
2025-09-09
出願番号
2025097896,2022562615
出願日
2025-06-11,2021-01-22
発明の名称
独立したRFICチップ及びアンテナ素子格子配置を有するアンテナアレイ
出願人
ヴィアサット,インコーポレイテッド
,
ViaSat,Inc.
代理人
弁理士法人NIP&SBPJ国際特許事務所
主分類
H01Q
21/24 20060101AFI20250902BHJP(基本的電気素子)
要約
【課題】RFICのI/Oパッドがアンテナ素子の給電点と整列されているため、伝送線路及び/又は第1の層と第2の層との間の追加の再配線層を回避することができ、コンパクトで低損失の設計を可能にする分散型RFICチップを有するアンテナ装置を提供する。
【解決手段】アンテナ装置は、第1の格子配置(例えば、長方形)に配置された複数のRFIC110を有する第1の構成要素層を含み、各RFICは、ビーム形成回路を含む。第2の平行な構成要素層は、第1の構成要素層に重なり、第2の異なる格子配置(例えば、三角形)に配置された複数のアンテナ素子120を含む。アンテナ素子は各々、RFICの入出力(I/O)パッドに接続されたそれぞれの給電点122を有する。各I/Oパッドは、第1の層及び第2の層に直交する軸に沿って、I/Oパッドに接続された給電点と整列される。
【選択図】図3
特許請求の範囲
【請求項1】
アンテナ装置であって、
第1の格子配置を有する第1の平面内に配置された複数の無線周波数集積回路チップ(RFIC)を含む第1の構成要素層であって、各RFICは、ビーム形成回路を含む、第1の構成要素層と、
前記第1の構成要素層に重ね合わされ、第2の異なる格子配置を有する、前記第1の平面に平行な第2の平面内に配置された複数のアンテナ素子を含む第2の構成要素層であって、前記アンテナ素子は、各々がRFICの入出力(I/O)パッドに接続されたそれぞれの給電点を有し、各I/Oパッドは、前記第1及び第2の平面に直交する軸に沿って前記給電点に接続され整列される、第2の構成要素層と、
を備える、アンテナ装置。
続きを表示(約 1,100 文字)
【請求項2】
前記第1の格子配置は、長方形であり、前記第2の格子配置は、三角形である、請求項1に記載のアンテナ装置。
【請求項3】
前記第1の構成要素層と第2の構成要素層との間のアンテナ基板と、前記アンテナ基板を貫通して延在する複数のビアとを更に備え、前記ビアの各々は、前記アンテナ素子のうちの1つを前記RFICの複数のI/Oパッドのうちの1つに接続する、請求項1に記載のアンテナ装置。
【請求項4】
前記複数のI/OパッドはフリップチップI/Oパッドであり、各フリップチップI/Oパッドはフリップチップ電気接続ジョイントを介して前記ビアのうちの1つに電気的に接続され、各RFICのアクティブダイ側は前記アンテナ基板に面する、請求項3に記載のアンテナ装置。
【請求項5】
前記フリップチップ電気接続ジョイントは、前記アンテナ基板と前記第2の構成要素層との間のアンダーフィル層によって取り囲まれており、
前記アンテナ装置は、前記第2の構成要素層と前記アンダーフィル層との間にポリマーオーバーコート層を更に備える、請求項4に記載のアンテナ装置。
【請求項6】
各ICチップのアクティブダイ側は、前記アンテナ基板に対向している、請求項3に記載のアンテナ装置。
【請求項7】
前記複数のビアは、複数の第1のビアであり、
前記アンテナ装置は、
各々がRFICの非アクティブ側から前記RFICのアクティブ側まで延在する複数の第2のビアと、
各々が第1のビアの端部を第2のビアの端部に接続する複数の電気接続ジョイントと、を更に備える、請求項6に記載のアンテナ装置。
【請求項8】
前記複数の電気接続ジョイントは各々、前記アンテナ基板と前記第2の構成要素層との間のアンダーフィル層によって取り囲まれている、請求項7に記載のアンテナ装置。
【請求項9】
前記RFICの各々は、N個の前記アンテナ素子の対応する複数の給電点に接続された複数のN個のI/Oパッドを含む、請求項1に記載のアンテナ装置。
【請求項10】
前記アンテナ素子の各々は、円偏波パッチアンテナ素子であり、
前記複数のアンテナ素子のうちの第1のアンテナ素子は、前記第1のアンテナ素子の中心から第1の方向にオフセットされた少なくとも1つの給電点を有し、前記複数のアンテナ素子のうちの第2のアンテナ素子は、前記第2のアンテナ素子の中心から前記第1の方向とは異なる第2の方向にオフセットされた少なくとも1つの給電点を有し、前記第1及び第2の方向は、共通の座標系に対して規定される、請求項9に記載のアンテナ装置。
(【請求項11】以降は省略されています)
発明の詳細な説明
【技術分野】
【0001】
(関連出願)
本特許出願は、「Antenna Array with Independent RFIC Chip and Antenna Element Lattice Geometries」と題する、2020年4月16日に出願された米国特許仮出願第63/011,056号に対する優先権の利益を主張し、当該特許仮出願の全体は、参照により本明細書に組み込まれる。
続きを表示(約 2,800 文字)
【0002】
(発明の分野)
本開示は、一般に、分散型RFICチップを有するアンテナアレイに関する。
【背景技術】
【0003】
関連技術の考察
アンテナアレイは現在、航空機、衛星、車両、一般的な陸上通信用の基地局などで、マイクロ波及びミリ波周波数の様々な用途に使用されている。このようなアンテナアレイは、典型的には、ビームを方向付けするためのフェーズドアレイを形成するために、位相シフトビーム形成回路を用いて駆動されるマイクロストリップ放射素子を含む。多くの場合、アンテナアレイ及びビーム形成回路を含むアンテナシステム全体が、必要な性能メトリックを満たす一方で、低プロファイルの最小空間しか占有しないことが望ましい。
【0004】
「埋め込み」アンテナアレイは、コンパクトな構造で無線周波数集積回路チップ(RFIC)と一体化されたアンテナ素子により構成されたアンテナアレイとして定義してもよい。埋め込みアレイは、アンテナ素子が外部の構成要素層内に配置され、アンテナ素子層の背後にある、近接する平行の構成要素層内の有効アンテナ開口にわたってRFIC(無線周波数集積回路チップ)が分散されたサンドイッチ型構成を有することができる。RFICは、送信用の電力増幅器(PA)、受信用の低ノイズ増幅器(LNA)、及び/又はビームステアリング用の位相シフタを含むことができる。PA(電力増幅器)及びLNA(低ノイズ増幅器)をこのように分散することによって、送信時のより高い効率及び受信時の改善されたノイズ性能が達成可能である。アンテナアレイの信頼性も向上させることができ、これは、増幅器のうちの少数が誤動作したとしても、全体的なアンテナ性能が依然として許容可能だからである。RFICは、典型的には、フィルタ、インピーダンス整合素子、RFカプラ、送信/受信(T/R)スイッチ及び制御線などの他のビーム形成回路を含む。
【発明の概要】
【0005】
本開示の一態様では、アンテナ装置は、第1の格子配置を有する第1の平面に配置された複数のRFICを含む第1の構成要素層を含み、各RFICはビーム形成回路を含む。第2の構成要素層は、第1の構成要素層に重ね合わされ、第1の平面に平行な第2の平面に第2の異なる格子配置で配置された複数のアンテナ素子を含む。アンテナ素子は各々、RFICの入出力(I/O)パッドに接続されたそれぞれの給電点を有する。I/Oパッドは、第1及び第2の平面に直交する軸に沿って、I/Oパッドに接続された給電点と整列される。
【0006】
第1の格子配置は長方形であってもよく、第2の格子配置は三角形であってもよい。
【0007】
RFICのI/Oパッドがアンテナ素子の給電点と整列されているため、伝送線路及び/又は第1の層と第2の層との間の追加の再配線層を回避することができ、コンパクトで低損失の設計を可能にする。
【図面の簡単な説明】
【0008】
開示された技術の上記及び他の態様及び特徴は、同様の参照符号が同様の素子又は特徴を示す添付の図面と併せて、以下の詳細な説明からより明らかになるであろう。同じ又は類似のタイプの様々な要素は、参照ラベルにダッシュ及び同じ/類似の要素の間で区別する第2のラベルを付け足すか(例えば、-1、-2)、又は参照ラベルに第2のラベルを直接付け足すことによって区別され得る。しかしながら、所与の説明が第1の参照ラベルのみを使用する場合、第2のラベルに関係なく、同じ第1の参照ラベルを有する同じ/類似の要素のうちのいずれか1つに適用可能である。要素及び特徴は、図面の縮尺に描かれていない場合がある。
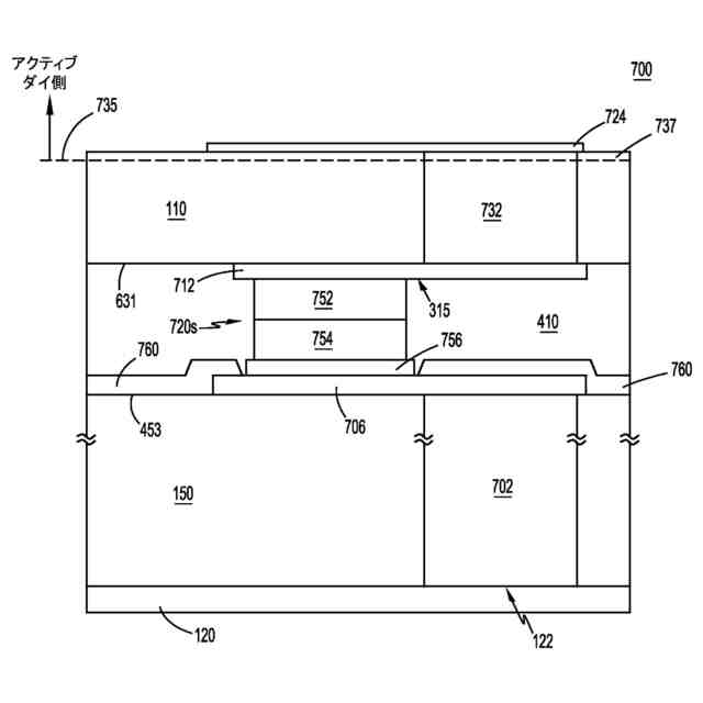
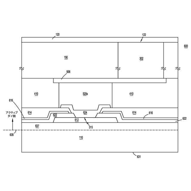
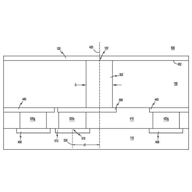
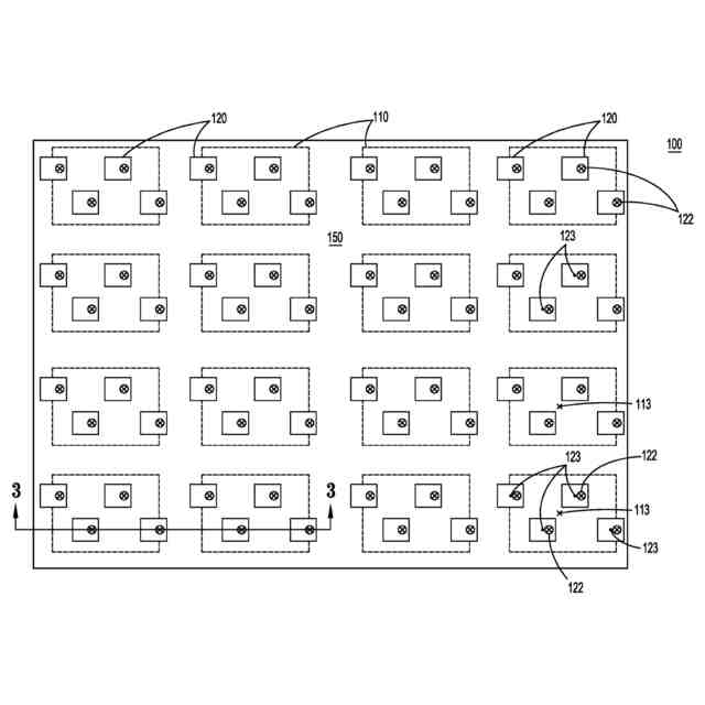
一実施形態による例示的なアンテナ装置の平面図である。
図1のアンテナ装置におけるアンテナ素子及びRFICの格子配置の一例を示す図である。
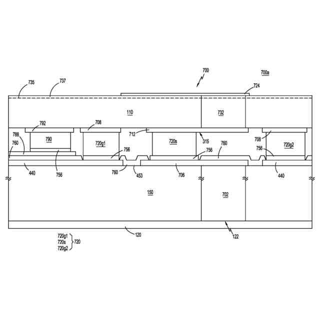
図1の線3-3に沿うアンテナ装置の一部の断面図である。
アンテナ装置におけるアンテナ素子とRFICとの接続構造の一例を示す断面図である。
図4Aの線4B-4Bに沿った断面図であり、接地-信号-接地接続構成を示す。
アンテナ装置におけるアンテナ素子とRFICとの接続構造の別の例を示す断面図である。
アンテナ装置におけるアンテナ素子とRFICとの間の例示的なフリップチップ接続の断面図である。
アンテナ装置におけるアンテナ素子とRFICとの間の例示的なデュアルビア型接続の断面図である。
図7Aのデュアルビア型接続を包含する例示的な拡張接続構造を示すアンテナ装置の例示的な部分の断面図である。
接続されたRFICに対するアンテナ給電位置の配置のそれぞれの例を示す。
接続されたRFICに対するアンテナ給電位置の配置のそれぞれの例を示す。
接続されたRFICに対するアンテナ給電位置の配置のそれぞれの例を示す。
図8Bの配置に従って配置されたI/Oパッドを有するRFIC内のビーム形成回路の例示的なレイアウトを示す図である。
【発明を実施するための形態】
【0009】
以下の説明は、添付の図面を参照して、例示目的のために本明細書に開示される技術の特定の例示的実施形態の包括的な理解を支援するために提供される。本明細書は、技術を理解する当業者を支援するための様々な具体的な詳細を含むが、これらの詳細は単なる例示であると見なされるべきである。簡潔さ及び明瞭さのために、周知の機能及び構造の説明は、当業者が技術を理解することを不明瞭にし得る場合には、周知の機能及び構造の説明を省略することができる。
【0010】
図1は、一実施形態による例示的なアンテナ装置100の上面図である。アンテナ装置100は、第1の平面内にアンテナアレイを形成する複数のアンテナ素子120を備える上部構成要素層と、第1の平面に平行な第2の平面内に配置され、アンテナ素子120に接続された複数の無線周波数集積回路チップ(RFIC)110を備える下部構成要素層とを有する薄い積層構造で構成してもよい。基板150は、上部構成要素層と下部構成要素層との間に配置してもよい。アンテナ素子120との間で信号エネルギーを反射するための接地平面(図示せず)を、基板150の下面に印刷してもよい。統合アンテナ素子120及びRFIC110を有するこのような多層構造により、アンテナ装置100は埋め込みアンテナアレイと呼ばれることがある。以下の説明では、説明の便宜上、水平面/方向は、一般的に、アンテナ装置100の主面に平行な平面/方向を指し、垂直方向は、直交方向、すなわち、アンテナ装置100の厚さ方向を指す。
(【0011】以降は省略されています)
この特許をJ-PlatPat(特許庁公式サイト)で参照する
関連特許
東ソー株式会社
絶縁電線
2日前
APB株式会社
蓄電セル
今日
個人
フレキシブル電気化学素子
14日前
ローム株式会社
半導体装置
1日前
株式会社ユーシン
操作装置
14日前
ローム株式会社
半導体装置
16日前
ローム株式会社
半導体装置
23日前
ローム株式会社
半導体装置
23日前
ローム株式会社
半導体装置
21日前
日新イオン機器株式会社
イオン源
10日前
ローム株式会社
半導体装置
23日前
個人
半導体パッケージ用ガラス基板
24日前
株式会社GSユアサ
蓄電装置
21日前
オムロン株式会社
電磁継電器
15日前
株式会社ホロン
冷陰極電子源
21日前
株式会社ホロン
冷陰極電子源
8日前
株式会社GSユアサ
蓄電設備
14日前
太陽誘電株式会社
全固体電池
21日前
太陽誘電株式会社
コイル部品
14日前
株式会社GSユアサ
蓄電設備
14日前
株式会社GSユアサ
蓄電装置
25日前
ノリタケ株式会社
熱伝導シート
14日前
トヨタ自動車株式会社
バッテリ
15日前
北道電設株式会社
配電具カバー
今日
トヨタ自動車株式会社
蓄電装置
14日前
日本特殊陶業株式会社
保持装置
3日前
日本特殊陶業株式会社
保持装置
21日前
日本特殊陶業株式会社
保持装置
25日前
日本特殊陶業株式会社
保持装置
21日前
日東電工株式会社
積層体
15日前
トヨタ自動車株式会社
バッテリ
今日
TDK株式会社
電子部品
21日前
トヨタ自動車株式会社
冷却構造
2日前
日本特殊陶業株式会社
保持装置
23日前
サクサ株式会社
電池の固定構造
14日前
日東電工株式会社
電子装置
17日前
続きを見る
他の特許を見る