TOP
|
特許
|
意匠
|
商標
特許ウォッチ
Twitter
他の特許を見る
公開番号
2025132019
公報種別
公開特許公報(A)
公開日
2025-09-10
出願番号
2024029321
出願日
2024-02-29
発明の名称
コンテンツ作成支援装置、コンテンツ作成支援方法及びコンテンツ作成支援プログラム
出願人
沖電気工業株式会社
代理人
個人
,
個人
主分類
G06F
40/174 20200101AFI20250903BHJP(計算;計数)
要約
【課題】高度な専門的知識や訓練された高度な経験を持つ人材でなくても、簡単かつ短かい制作期間でコンテンツを作成できるようにする。
【解決手段】本発明は、学習したデータに基づいてコンテンツを生成するコンテンツ生成手段と連携してコンテンツの作成を支援するコンテンツ作成支援装置において、コンテンツの設計情報の入力を受け付ける設計情報受付手段と、設計情報に基づいて作成した指示文をコンテンツ生成手段に与えて、設計情報に含まれる要素毎に、コンテンツ生成手段により生成された要素に関連するコンテンツ要素を得るコンテンツ要素作成手段と、設計情報毎のコンテンツ要素を統合してコンテンツを出力するコンテンツ出力手段とを備える。
【選択図】 図1
特許請求の範囲
【請求項1】
学習したデータに基づいてコンテンツを生成するコンテンツ生成手段と連携してコンテンツの作成を支援するコンテンツ作成支援装置において、
前記コンテンツの設計情報の入力を受け付ける設計情報受付手段と、
前記設計情報に基づいて作成した指示文を前記コンテンツ生成手段に与えて、前記設計情報に含まれる要素毎に、前記コンテンツ生成手段により生成された前記要素に関連するコンテンツ要素を得るコンテンツ要素作成手段と、
前記設計情報毎のコンテンツ要素を統合して前記コンテンツを出力するコンテンツ出力手段と
を備えることを特徴とするコンテンツ作成支援装置。
続きを表示(約 1,100 文字)
【請求項2】
前記コンテンツの手書きのレイアウト情報が前記設計情報に含まれ、
前記コンテンツ要素作成手段が、前記手書きのレイアウト情報に基づいてレイアウトに関する指示文を作成し、当該レイアウトに関する指示文と前記手書きのレイアウト情報とを、前記コンテンツ生成手段に与えて、前記コンテンツのレイアウトを得る
ことを特徴とする請求項1に記載のコンテンツ作成支援装置。
【請求項3】
前記コンテンツのレイアウトが、ヘッダコンテンツを含ませる第1領域と、ボディコンテンツを含ませる第2領域と、フッタコンテンツを含ませる第3領域とを有することを特徴とする請求項2に記載のコンテンツ作成支援装置。
【請求項4】
前記設計情報が、前記コンテンツの広告主の属性情報及び広告ターゲットの属性情報を含み、
前記コンテンツ要素作成手段が、前記設計情報に含まれる前記要素毎に、前記広告主の属性情報及び前記広告ターゲットの属性情報に基づいて、当該要素に関連する前記コンテンツ要素を得るための指示文を作成する
ことを特徴とする請求項1に記載のコンテンツ作成支援装置。
【請求項5】
学習したデータに基づいてコンテンツを生成するコンテンツ生成手段と連携してコンテンツの作成を支援するコンテンツ作成支援方法において、
設計情報受付手段が、前記コンテンツの設計情報の入力を受け付け、
コンテンツ要素作成手段が、前記設計情報に基づいて作成した指令文を前記コンテンツ生成手段に与えて、前記設計情報に含まれる要素毎に、前記コンテンツ生成手段により生成された前記要素に関連するコンテンツ要素を得、
コンテンツ出力手段が、前記設計情報毎のコンテンツ要素を統合して前記コンテンツを出力する
ことを特徴とするコンテンツ作成支援方法。
【請求項6】
学習したデータに基づいてコンテンツを生成するコンテンツ生成手段と連携してコンテンツの作成を支援するコンテンツ作成支援プログラムにおいて、
コンピュータを、
前記コンテンツの設計情報の入力を受け付ける設計情報受付手段と、
前記設計情報に基づいて作成した指令文を前記コンテンツ生成手段に与えて、前記設計情報に含まれる要素毎に、前記コンテンツ生成手段により生成された前記要素に関連するコンテンツ要素を得るコンテンツ要素作成手段と、
前記設計情報毎のコンテンツ要素を統合して前記コンテンツを出力するコンテンツ出力手段と
して機能させることを特徴とするコンテンツ作成支援プログラム。
発明の詳細な説明
【技術分野】
【0001】
本発明は、コンテンツ作成支援装置、コンテンツ作成支援方法及びコンテンツ作成支援プログラムに関する。
続きを表示(約 1,300 文字)
【背景技術】
【0002】
特許文献1には、テストの画像データを解析し、画像データから要素を抽出し、要素の構造情報と、端末装置のディスプレイ情報に基づいて、ディプレイに応じたレイアウトを生成する技術が開示されている。
【0003】
非特許文献1には、人間の購買行動をセンシングし、行動分析AI(Artificial Intelligence)と生成AIを利用して、デジタルサイネージ上にて事前に用意された商品の推薦文章をアバター(分身)が読み上げる技術、事前に用意された商品広告動画を表示する技術が開示されている。
【先行技術文献】
【特許文献】
【0004】
特開2023-87805号公報
【非特許文献】
【0005】
株式会社インプレス提供ウェブサイト“Web担当者forum”,“富士通がデジタルサイネージの販促コンテンツをAIで生成する購買促進AI技術を開発”,2023年8月3日掲載,2023年12月21日検索,https://webtan.impress.co.jp/n/2023/08/03/45389
【発明の概要】
【発明が解決しようとする課題】
【0006】
近年、様々なコンテンツを生成する生成AI(生成系AI等とも呼ばれる。)があり、このような生成AIを利用してデジタルサイネージ用のデジタルコンテンツを制作することが強く要望されている。
【0007】
生成AIを用いてデジタルコンテンツを制作するためには、魅力ある広告表現や画像などのコンテンツ要素を制作する表現的専門性と、生成AIを取り扱う技術的専門性とが必要となるので、デジタルコンテンツの制作は、例えばグラフィックデザイナーやイラストレータ等のように訓練された高度な人材に限られている。
【0008】
しかしながら、広告に利用するコンテンツによっては、高い品質よりも早く広告したいこともあり、そのよう場合には、特に、訓練された高度な人材でなくても、より手軽にコンテンツを制作することが望まれる。
【0009】
そこで、本発明は、上述した課題に鑑み、高度な専門的知識や訓練された高度な経験を持つ人材でなくても、簡単かつ短期間にコンテンツを作成できるコンテンツ作成支援装置、コンテンツ作成支援方法及びコンテンツ作成支援プログラムを提供しようとするものである。
【課題を解決するための手段】
【0010】
かかる課題を解決するために、第1の本発明は、学習したデータに基づいてコンテンツを生成するコンテンツ生成手段と連携してコンテンツの作成を支援するコンテンツ作成支援装置において、(1)コンテンツの設計情報の入力を受け付ける設計情報受付手段と、(2)設計情報に基づいて作成した指示文をコンテンツ生成手段に与えて、設計情報に含まれる要素毎に、コンテンツ生成手段により生成された要素に関連するコンテンツ要素を得るコンテンツ要素作成手段と、(3)設計情報毎のコンテンツ要素を統合してコンテンツを出力するコンテンツ出力手段とを備えることを特徴とする。
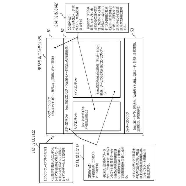
(【0011】以降は省略されています)
この特許をJ-PlatPat(特許庁公式サイト)で参照する
関連特許
沖電気工業株式会社
印刷装置
7日前
沖電気工業株式会社
画像形成装置
11日前
沖電気工業株式会社
画像形成装置
11日前
沖電気工業株式会社
情報処理装置
8日前
沖電気工業株式会社
棒金収納装置
8日前
沖電気工業株式会社
施錠開閉装置
2日前
沖電気工業株式会社
画像形成装置
3日前
沖電気工業株式会社
半導体デバイス
2日前
沖電気工業株式会社
発光装置及び表示装置
2日前
沖電気工業株式会社
現金処理装置及び印字装置
21日前
沖電気工業株式会社
電源制御装置及び画像形成装置
1日前
沖電気工業株式会社
紙葉類取扱装置及び現金処理装置
15日前
沖電気工業株式会社
プリンタドライバ及び画像形成装置
3日前
沖電気工業株式会社
部品管理装置、プログラムおよび方法
11日前
沖電気工業株式会社
直流電源装置および二次電池充電方法
11日前
沖電気工業株式会社
媒体取扱ユニット、及び、媒体取扱装置
3日前
沖電気工業株式会社
情報処理装置、情報処理方法、およびプログラム
1日前
沖電気工業株式会社
現像剤収容体、画像形成ユニット、及び画像形成装置
7日前
沖電気工業株式会社
情報処理装置、情報処理プログラム、及び情報処理方法
2日前
沖電気工業株式会社
精算システム、精算装置、情報処理方法、及びプログラム
2日前
沖電気工業株式会社
駆動制御装置、駆動制御システム、駆動制御方法及び貨幣処理装置
7日前
沖電気工業株式会社
経路設定装置、経路設定方法、プログラムおよび経路設定システム
1日前
沖電気工業株式会社
情報処理装置、情報処理システム、情報処理方法、およびプログラム
1か月前
沖電気工業株式会社
ナビゲーションシステム
10日前
沖電気工業株式会社
伝送装置のための制御装置、パス設定方法、およびプログラム並びに伝送システム
7日前
沖電気工業株式会社
表示装置、プログラム及び表示方法
7日前
個人
QRコードの彩色
今日
個人
工程設計支援装置
1か月前
個人
地球保全システム
9日前
個人
フラワーコートA
2か月前
個人
為替ポイント伊達夢貯
1か月前
個人
冷凍食品輸出支援構造
1か月前
個人
残土処理システム
2日前
個人
携帯情報端末装置
1か月前
個人
表変換編集支援システム
29日前
個人
結婚相手紹介支援システム
1か月前
続きを見る
他の特許を見る