TOP
|
特許
|
意匠
|
商標
特許ウォッチ
Twitter
他の特許を見る
10個以上の画像は省略されています。
公開番号
2025132035
公報種別
公開特許公報(A)
公開日
2025-09-10
出願番号
2024029341
出願日
2024-02-29
発明の名称
情報処理装置、情報処理方法およびプログラム
出願人
沖電気工業株式会社
代理人
個人
,
個人
,
個人
主分類
B61L
23/00 20060101AFI20250903BHJP(鉄道)
要約
【課題】ユーザに掛かる手間を軽減しつつ、物体が存在するエリアの判定精度を向上させることが可能な技術を提供することが望まれている。
【解決手段】センサによって得られたセンサデータを取得するセンサデータ取得部と、物体領域の代表位置が存在するエリアを判定するための基準となる基準関数と、前記センサデータとに基づいて、前記代表位置が第1のエリアに存在するか第2のエリアに存在するかを判定する判定部と、を備える、情報処理装置が提供される。
【選択図】図2
特許請求の範囲
【請求項1】
センサによって得られたセンサデータを取得するセンサデータ取得部と、
物体領域の代表位置が存在するエリアを判定するための基準となる基準関数と、前記センサデータとに基づいて、前記代表位置が第1のエリアに存在するか第2のエリアに存在するかを判定する判定部と、
を備える、情報処理装置。
続きを表示(約 1,900 文字)
【請求項2】
前記情報処理装置は、
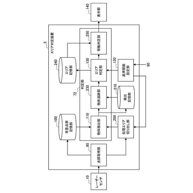
あらかじめ決められた処理エリア内の前記センサデータを切り出す処理エリア切り出し部を備え、
前記判定部は、前記基準関数と前記センサデータとに基づいて、前記代表位置が前記第1のエリアに存在するか前記第2のエリアに存在するかを判定する、
請求項1に記載の情報処理装置。
【請求項3】
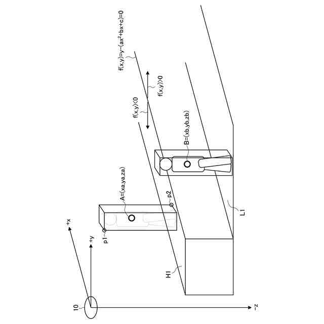
前記処理エリアは、実空間における鉛直方向に直交する所定の水平面を基準として、上に位置するエリアに対応する、センサ座標系における第1の処理エリアと、下に位置するエリアに対応する、前記センサ座標系における第2の処理エリアとを含む、
請求項2に記載の情報処理装置。
【請求項4】
前記基準関数に対応する図形によってセンサ座標空間またはセンサ座標平面が分割された二つのエリアのうち、一方のエリア内に前記第1の処理エリアが存在し、他方のエリア内に前記第2の処理エリアが存在する、
請求項3に記載の情報処理装置。
【請求項5】
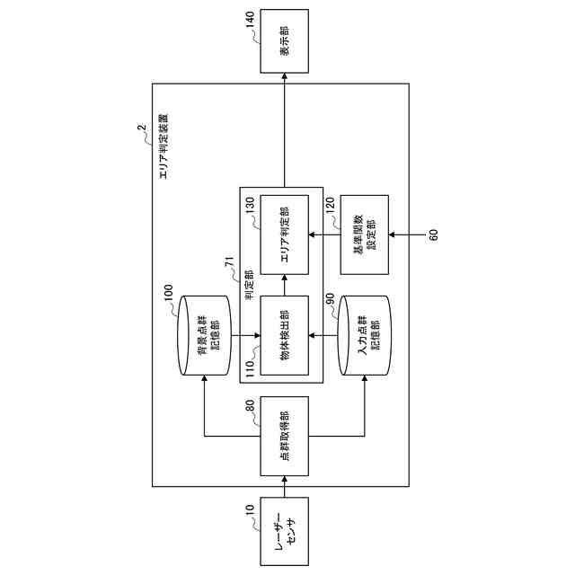
前記判定部は、前記センサデータに基づいて前記物体領域を検出し、前記物体領域の前記代表位置を検出する物体検出部と、
前記代表位置と前記基準関数とに基づいて、前記代表位置が前記第1のエリアに存在するか前記第2のエリアに存在するかを判定するエリア判定部と、
を備える、請求項1~4のいずれか一項に記載の情報処理装置。
【請求項6】
前記エリア判定部は、前記代表位置を入力値として前記基準関数に入力したことに対応して前記基準関数から出力される出力値を取得し、前記出力値に基づいて、前記代表位置が前記第1のエリアに存在するか前記第2のエリアに存在するかを判定する、
請求項5に記載の情報処理装置。
【請求項7】
前記物体検出部は、第1の時刻における第1の物体領域の第1の代表位置と、前記第1の時刻より後の第2の時刻における第2の物体領域の第2の代表位置とを検出し、
前記判定部は、
前記第1の代表位置と前記第2の代表位置との距離を算出し、前記距離が閾値より小さい場合に、前記第1の代表位置と前記第2の代表位置とを対応付ける物体追跡部を備え、
前記判定部は、
対応付けられた前記第1の代表位置と前記第2の代表位置とが、同一エリアに存在するか異なるエリアに存在するかに基づいて、前記同一物体が前記第1のエリアと前記第2のエリアとの間を移動したか否かを判定する移動判定部を備える、
請求項5に記載の情報処理装置。
【請求項8】
前記移動判定部は、対応付けられた前記第1の代表位置と前記第2の代表位置とが、異なるエリアに存在すると判定した場合、前記第1の時刻以前の前記同一物体の物体領域の代表位置に対する第1の統計処理結果と、前記第2の時刻以後の前記同一物体の物体領域の代表位置に対する第2の統計処理結果との差分が所定の値より大きいか否かに基づいて、前記同一物体が前記第1のエリアと前記第2のエリアとの間を移動したか否かを判定する、
請求項7に記載の情報処理装置。
【請求項9】
実空間における鉛直方向に沿って座標軸が設定されており、
前記第1の統計処理結果は、前記第1の時刻以前の前記同一物体の物体領域の代表位置の前記座標軸における座標の平均値であり、
前記第2の統計処理結果は、前記第2の時刻以後の前記同一物体の物体領域の代表位置の前記座標軸における座標の平均値である、
請求項8に記載の情報処理装置。
【請求項10】
前記物体検出部は、第1の時刻における第1の物体領域の第1の代表位置と、前記第1の時刻より後の第2の時刻における第2の物体領域の第2の代表位置とを検出し、
前記判定部は、
前記第1の代表位置と前記第2の代表位置との距離を算出し、前記距離が閾値より小さい場合に、前記第1の代表位置と前記第2の代表位置とを対応付ける物体追跡部を備え、
実空間における鉛直方向に沿って座標軸が設定されており、
前記判定部は、
前記センサを基準としたセンサ座標系において、前記同一物体の物体領域の代表位置として対応付けられた前記第1の代表位置の前記座標軸における座標と前記第2の代表位置の前記座標軸における座標とに基づいて、前記同一物体が前記第1のエリアと前記第2のエリアとの間を移動したか否かを判定する移動判定部を備える、
請求項5に記載の情報処理装置。
(【請求項11】以降は省略されています)
発明の詳細な説明
【技術分野】
【0001】
本発明は、情報処理装置、情報処理方法およびプログラムに関する。
続きを表示(約 1,300 文字)
【背景技術】
【0002】
近年、センサによって得られたデータ(以下、「センサデータ」とも言う。)に基づいて物体を検出する技術が知られている(例えば、特許文献1参照)。物体の検出結果は、様々な場面において使用され得る。例えば、物体の検出結果に基づいて、あらかじめ設定されたエリア(以下、「検知エリア」とも言う。)の内部に物体が存在するか否かを判定する技術が知られている。例えば、かかる技術において、物体としては、主に人が想定されている。
【0003】
より具体的に、かかる技術においては、駅ホームの端に沿って設置された複数の距離センサを用いて物体を追跡し、追跡している物体が検知エリアから消滅したことを検出したことに基づいて、物体が駅ホームから転落したことを判定する。
【先行技術文献】
【特許文献】
【0004】
特許5647458号公報
【発明の概要】
【発明が解決しようとする課題】
【0005】
しかし、検知エリアから物体が消滅したことを検出したからといって、検知エリアから消滅した物体が駅ホームから転落したとは限らない。そのため、検知エリアから消滅した物体の状況を把握せずに、検知エリアから物体が消滅したことを検出したことをもって物体が駅ホームから転落したと判定してしまうと、判定精度が向上しない。
【0006】
さらに、検知エリアを設定するための手間がユーザに掛かってしまう。特に、駅ホームが曲がっている場合などには、駅ホームの端に設置された複数の距離センサに対して一括で検知エリアを設定することができず、距離センサごとに検知エリアを設定する必要が生じるため、検知エリアを設定するためにユーザに掛かる手間が多くなってしまう。
【0007】
そこで、本発明は、上記問題に鑑みてなされたものであり、本発明の目的とするところは、ユーザに掛かる手間を軽減しつつ、物体が存在するエリアの判定精度を向上させることが可能な技術を提供することにある。
【課題を解決するための手段】
【0008】
上記課題を解決するために、本発明のある観点によれば、センサによって得られたセンサデータを取得するセンサデータ取得部と、物体領域の代表位置が存在するエリアを判定するための基準となる基準関数と、前記センサデータとに基づいて、前記代表位置が第1のエリアに存在するか第2のエリアに存在するかを判定する判定部と、を備える、情報処理装置が提供される。
【0009】
前記情報処理装置は、あらかじめ決められた処理エリア内の前記センサデータを切り出す処理エリア切り出し部を備え、前記判定部は、前記基準関数と前記センサデータとに基づいて、前記代表位置が前記第1のエリアに存在するか前記第2のエリアに存在するかを判定してもよい。
【0010】
前記処理エリアは、実空間における鉛直方向に直交する所定の水平面を基準として、上に位置するエリアに対応する、センサ座標系における第1の処理エリアと、下に位置するエリアに対応する、前記センサ座標系における第2の処理エリアとを含んでもよい。
(【0011】以降は省略されています)
この特許をJ-PlatPat(特許庁公式サイト)で参照する
関連特許
沖電気工業株式会社
印刷装置
1日前
沖電気工業株式会社
棒金収納装置
2日前
沖電気工業株式会社
情報処理装置
2日前
沖電気工業株式会社
画像形成装置
5日前
沖電気工業株式会社
画像形成装置
5日前
沖電気工業株式会社
現金処理装置及び印字装置
15日前
沖電気工業株式会社
紙葉類取扱装置及び現金処理装置
9日前
沖電気工業株式会社
部品管理装置、プログラムおよび方法
5日前
沖電気工業株式会社
直流電源装置および二次電池充電方法
5日前
沖電気工業株式会社
現像剤収容体、画像形成ユニット、及び画像形成装置
1日前
沖電気工業株式会社
駆動制御装置、駆動制御システム、駆動制御方法及び貨幣処理装置
1日前
沖電気工業株式会社
情報処理装置、情報処理システム、情報処理方法、およびプログラム
24日前
沖電気工業株式会社
ナビゲーションシステム
4日前
沖電気工業株式会社
伝送装置のための制御装置、パス設定方法、およびプログラム並びに伝送システム
1日前
沖電気工業株式会社
表示装置、プログラム及び表示方法
1日前
日本信号株式会社
検査装置
9か月前
日本信号株式会社
ホーム柵
1か月前
日本信号株式会社
ホーム柵
1か月前
個人
車両及び走行システム
5か月前
近畿車輌株式会社
耐火床構造
5日前
日本信号株式会社
ホーム柵装置
6か月前
カヤバ株式会社
鉄道車両用制振装置
9か月前
近畿車輌株式会社
鉄道車両の床構造
10か月前
近畿車輌株式会社
鉄道車両の床構造
10か月前
近畿車輌株式会社
鉄道車両の床構造
10か月前
日本信号株式会社
列車接近警報装置
2か月前
ナブテスコ株式会社
ホームドア装置
1か月前
日本車輌製造株式会社
台車組立装置
4か月前
保線機器整備株式会社
保線用カート
7か月前
川崎車両株式会社
鉄道車両用パネル
7か月前
日本信号株式会社
ホームドア制御装置
2か月前
株式会社ダイフク
搬送車
4か月前
日本信号株式会社
物体検知装置
6か月前
日本信号株式会社
踏切道監視システム
10か月前
日本信号株式会社
ホーム安全システム
6か月前
日本ケーブル株式会社
索道の支索引留め装置
2か月前
続きを見る
他の特許を見る