TOP
|
特許
|
意匠
|
商標
特許ウォッチ
Twitter
他の特許を見る
10個以上の画像は省略されています。
公開番号
2025133331
公報種別
公開特許公報(A)
公開日
2025-09-11
出願番号
2024031221
出願日
2024-03-01
発明の名称
自動培養装置、それを用いた細胞培養方法
出願人
株式会社日立ハイテク
代理人
ポレール弁理士法人
主分類
C12M
3/00 20060101AFI20250904BHJP(生化学;ビール;酒精;ぶどう酒;酢;微生物学;酵素学;突然変異または遺伝子工学)
要約
【課題】
培養に必要な培養容器へのCO
2
ガス濃度維持を簡易な構成で実現した自動培養装置、それを用いた細胞培養方法を提供すること。
【解決手段】
細胞を培養する培養容器を載置した状態で、培養容器に対しCO
2
を含む気体を供給可能な換気アダプタと、換気アダプタにCO
2
を含む気体を供給するガス供給部と、を備えた自動培養装置であって、培養容器が換気アダプタの所定位置に載置された際、その上部が培養容器下方に設けられたガス交換膜の少なくとも一部を直接、または間接的に支持する支持し、かつその下端部が換気アダプタ上面の少なくとも一部に接触して、ガス供給部から供給されたCO
2
を含む気体を気密的に保持可能なガス保持空間形成部、を備えた。
【選択図】図2
特許請求の範囲
【請求項1】
細胞を培養する培養容器を載置した状態で、該培養容器に対しCO
2
を含む気体を供給可能な換気アダプタと、
前記換気アダプタに前記CO
2
を含む気体を供給するガス供給部と、
を備えた自動培養装置であって、
前記培養容器が前記換気アダプタの所定位置に載置された際、その上部が該培養容器下方に設けられたガス交換膜の少なくとも一部を直接、または間接的に支持し、かつその下端部が該換気アダプタ上面の少なくとも一部に接触して、前記ガス供給部から供給された前記CO
2
を含む気体を気密的に保持可能なガス保持空間形成部、
を備えたことを特徴とする自動培養装置。
続きを表示(約 1,300 文字)
【請求項2】
請求項1記載の自動培養装置において、
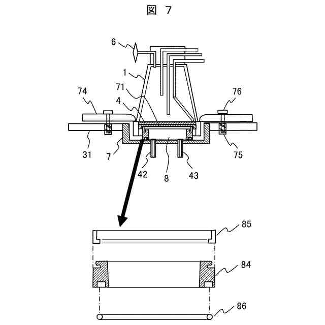
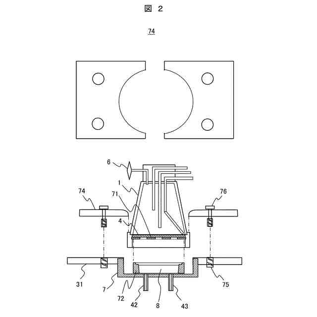
前記ガス保持空間形成部は略円筒形状を有し、前記培養容器下方に設けられた前記ガス交換膜の周囲を囲むスカート部の内周面に気密的に接触する構造を有していることを特徴とする自動培養装置。
【請求項3】
請求項1記載の自動培養装置において、
前記培養容器を前記ガス保持空間形成部に押圧するための押え治具を備えること特徴とする自動培養装置。
【請求項4】
請求項1記載の自動培養装置において、
前記ガス保持空間形成部は、前記ガス交換膜の少なくとも一部を直接、または間接的に支持する部位、前記換気アダプタ上面の少なくとも一部に接触する部位、の少なくともいずれかが可撓性を有する部材からなることを特徴とする自動培養装置。
【請求項5】
請求項1記載の自動培養装置において、
前記ガス保持空間形成部は、略円筒形状を有する硬質材料からなり、
前記ガス交換膜の少なくとも一部を直接、または間接的に支持する部位、前記換気アダプタ上面の少なくとも一部に接触する部位、の少なくともいずれかが可撓性を有する部材からなることを特徴とする自動培養装置。
【請求項6】
請求項1記載の自動培養装置において、
前記ガス保持空間形成部は、略円筒形状を有する硬質材料からなり、
該ガス保持空間形成部の前記換気アダプタの上面に接触する部位の少なくとも一部に、該ガス保持空間形成部と該換気アダプタ上面の間に介在し、該ガス保持空間形成部と該換気アダプタとの気密性を向上するための第1の気密封止部を有することを特徴とする自動培養装置。
【請求項7】
請求項1記載の自動培養装置において、
前記ガス保持空間形成部の前記ガス交換膜の少なくとも一部を直接、または間接的に支持する部位に、該ガス交換膜の少なくとも一部を直接、または間接的に支持する部位と該ガス保持空間形成部の間に介在し、該ガス交換膜の少なくとも一部を直接、または間接的に支持する部位と該ガス保持空間形成部との気密性を向上するための第2の気密封止部を有することを特徴とする自動培養装置。
【請求項8】
請求項6に記載の自動培養装置において、
前記第1の気密封止部は、前記ガス保持空間形成部の下面の一部に設けられた溝部と嵌めあうOリングであることを特徴とする自動培養装置。
【請求項9】
請求項7に記載の自動培養装置において、
前記第2の気密封止部は、前記ガス保持空間形成部の上端部の一部に係合する係合部を有するリング状部材からなることを特徴とする自動培養装置。
【請求項10】
請求項9に記載の自動培養装置において、
前記リング状部材は、断面略L字形状を有し該L字の短い辺部が、前記ガス保持空間形成部に設けられた溝部と係合する構造を有することを特徴とする自動培養装置。
(【請求項11】以降は省略されています)
発明の詳細な説明
【技術分野】
【0001】
本発明は、細胞又は組織を培養する自動培養装置、及びそれを用いた細胞培養方法に関する。
続きを表示(約 1,200 文字)
【背景技術】
【0002】
再生したヒトの細胞ならびに遺伝子導入により機能を改変した細胞等を用いた医療は、これまで根治が困難であった疾患を克服できるため、その普及への期待が高まっている。
【0003】
治療対象は癌が最も多く、続いて各種臓器が続く。患者自身の細胞を用いる自家移植は拒絶反応の可能性が低く、患者QOL(quality of life)向上の観点からニーズが高いことが理由であると考えられる。
【0004】
細胞種は免疫細胞が最も多く、全体の4割以上を占める。癌が主たる対象疾患であり、具体的な細胞種としてはT細胞、NK細胞、NKT細胞等が挙げられる。特に、患者から免疫細胞であるT細胞を取り出し、遺伝子導入により癌細胞を攻撃可能な形に加工して注射により患者へ戻す、CAR-T(chimeric antigen receptor-T)細胞療法の実用化が先行している。
【0005】
移植向け細胞の製造工程では患者自身又は他者から採取した生体試料を分離・精製し、増幅・遺伝子導入等の加工を行う。
【0006】
この工程は細胞処理施設(CPC:Cell Processing Center)において、医薬品等の製造管理及び品質管理の基準である適正製造基準(GMP:Good Manufacturing Practice)を満たした標準手順書(SOP:Standard Operating Procedure)に従い実施する。よってCPCの運用には多大なコストと専門の培養技術を有した人材を必要とする。
【0007】
加えて製造工程は手作業を中心とするため、製造量の増加には限界がある。低生産性と製造コスト高が再生医療の普及の妨げとなっており、製造工程の中で特に労力とコストを要する培養作業の自動化が求められている。培養作業の自動化により省力化、コストダウン、大量生産が可能となる。
【0008】
自動培養装置の例として、特許文献1に示すように、閉鎖空間を有した閉鎖系流路を自動で取り扱う装置がある。閉鎖系流路において、閉鎖系培養容器が流路チューブ等により常時接続された状態であり、閉鎖系培養容器の内部で細胞を培養する。
【0009】
閉鎖系流路は、その外部に設置された弁、ポンプ等の稼動により、その内部に保持された液体、気体の移動を可能とする。これにより自動培養装置は、培養空間の閉鎖性を維持した状態のまま細胞播種、培地交換、顕微鏡観察等を自動で実施する。
【0010】
培養容器の例として、特許文献2に示すように、培養容器の一部に換気膜を構成した閉鎖容器を使用し、換気面の周辺を所望のガス濃度に維持し細胞培養を行う技術がある。
【先行技術文献】
【特許文献】
(【0011】以降は省略されています)
この特許をJ-PlatPat(特許庁公式サイト)で参照する
関連特許
株式会社日立ハイテク
試料検査システム
1日前
株式会社日立ハイテク
荷電粒子線装置及び基板の離脱方法
12日前
株式会社日立ハイテクソリューションズ
ESIイオン源及び質量分析システム
9日前
株式会社日立ハイテク
核種在庫管理装置及び核種在庫管理方法
今日
株式会社日立ハイテク
計算機システムおよびデータの分析方法
今日
株式会社日立ハイテク
カメラ調整用ターゲット及び検体処理装置
5日前
株式会社日立ハイテク
検体容器隔離プレートおよび検体容器移載装置
5日前
株式会社日立ハイテク
加速器の磁場測定装置および粒子線治療システム
9日前
株式会社日立ハイテク
フロー型イオン選択性電極の製造方法及びフロー型イオン選択性電極
7日前
株式会社日立ハイテク
シリンジポンプ、シールピース、及びそれが搭載された自動分析装置
13日前
株式会社日立ハイテクソリューションズ
反応槽、反応槽内モニタリングシステム及び反応槽内モニタリング方法
13日前
株式会社日立ハイテク
プログラム、動体追尾装置、放射線治療システム、並びに動体の追跡方法
1日前
株式会社日立ハイテクソリューションズ
反応器規模拡大シミュレータ並びに反応器規模拡大シミュレーション方法
12日前
株式会社日立ハイテク
産業用X線CT制御装置、産業用X線CT制御方法及び産業用X線CTシステム
6日前
個人
抗遺伝子劣化装置
1か月前
個人
細胞内探査とその利用
1か月前
雪国アグリ株式会社
単糖類の製造方法
今日
個人
細胞培養容器
3か月前
杏林製薬株式会社
核酸検出用PCR溶液
4か月前
日本バイリーン株式会社
細胞用支持基材
3か月前
株式会社タクマ
バイオマス処理装置
2か月前
株式会社東洋新薬
経口組成物
1か月前
テルモ株式会社
吐出デバイス
1か月前
株式会社タクマ
バイオマス処理装置
2か月前
日油株式会社
蛋白質安定化剤
3か月前
サッポロビール株式会社
飲料
4か月前
東洋紡株式会社
改変型RNAポリメラーゼ
3か月前
東ソー株式会社
pH応答性マイクロキャリア
1か月前
テルモ株式会社
容器蓋デバイス
1か月前
宝酒造株式会社
アルコール飲料
9日前
大陽日酸株式会社
培養装置
1か月前
大陽日酸株式会社
培養装置
1か月前
トヨタ自動車株式会社
バイオ燃料製造方法
27日前
株式会社ファンケル
SEC12タンパク発現促進剤
2か月前
株式会社東海ヒット
灌流培養ユニット
3か月前
株式会社豊田中央研究所
細胞励起装置
7日前
続きを見る
他の特許を見る