TOP
|
特許
|
意匠
|
商標
特許ウォッチ
Twitter
他の特許を見る
公開番号
2025139189
公報種別
公開特許公報(A)
公開日
2025-09-26
出願番号
2024037997
出願日
2024-03-12
発明の名称
荷電粒子線装置及び基板の離脱方法
出願人
株式会社日立ハイテク
代理人
ポレール弁理士法人
主分類
H01J
37/20 20060101AFI20250918BHJP(基本的電気素子)
要約
【課題】帯電による残留吸着力を低減し得る荷電粒子線装置及び基板の離脱方法を提供する。
【解決手段】荷電粒子線装置において、静電チャック101は、吸着用電源(105,106)及び電極(103,104)を有し、電極と電圧基準グランド112間に分圧コンデンサ107を設け、分圧コンデンサ107の中間電圧波形の波高値を積算する波高値検出積算部108、波高値検出積算部による波高値積算値に基づき静電チャックの表面の帯電電圧値に変換する波高値積算量-帯電電圧変換部109と、を備えるコントローラ100を備え、コントローラ100は、帯電電圧値に基づき残留吸着力を相殺するための電圧を制御する相殺電圧制御部110又は紫外光で除電する除電装置を制御する除電装置制御部を有する。
【選択図】図2
特許請求の範囲
【請求項1】
荷電粒子源から放出された荷電粒子ビームを基板の表面上で走査する走査偏向器と、静電チャックに吸着された基板から放出される信号電子の軌道を偏向する信号電子偏向器と、前記荷電粒子ビームの走査に基づいて得られる信号電子を検出する検出器と、
前記静電チャックは、吸着用電源及び電極を有し、
前記電極と電圧基準グランド間に分圧コンデンサを設け、
前記分圧コンデンサの中間電圧波形の波高値を積算する波高値検出積算部と、前記波高値検出積算部による波高値積算値に基づき前記静電チャックの表面の帯電電圧値に変換する波高値積算量-帯電電圧変換部と、を備えるコントローラを備え、
前記コントローラは、前記帯電電圧値に基づき残留吸着力を相殺するための電圧を制御する相殺電圧制御部又は紫外光で除電する除電装置を制御する除電装置制御部を有することを特徴とする荷電粒子線装置。
続きを表示(約 1,800 文字)
【請求項2】
請求項1に記載の荷電粒子線装置であって、
相殺電圧電源を有し、
前記相殺電圧制御部は、前記基板を持ち上げる前に前記帯電電圧値と符号が逆の電圧を求め、求めた逆の電圧を前記相殺電圧電源より前記電極に印加することを特徴とする荷電粒子線装置。
【請求項3】
請求項2に記載の荷電粒子線装置であって、
前記波高値積算量-帯電電圧変換部は、予め格納された前記波高値積算値と前記静電チャックの表面の帯電電圧の対応を示すテーブル読み取り、前記帯電電圧値とすることを特徴とする荷電粒子線装置。
【請求項4】
請求項2に記載の荷電粒子線装置であって、
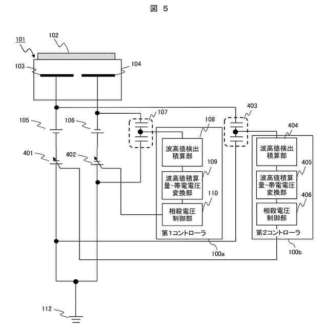
前記静電チャックの負極側に第1分圧コンデンサと、前記波高値検出積算部及び前記波高値積算量-帯電電圧変換部並びに前記相殺電圧制御部を有する第1コントローラと、
前記静電チャックの正極側に第2分圧コンデンサと、前記波高値検出積算部及び前記波高値積算量-帯電電圧変換部並びに前記相殺電圧制御部を有する第2コントローラと、を備え、
電極毎の帯電電圧値に基づき、負極に接続された第1相殺電圧電源又は正極に接続された第2相殺電圧電源より前記逆の電圧を前記電極に印加することを特徴とする荷電粒子線装置。
【請求項5】
請求項1記載の荷電粒子線装置であって、
前記除電装置を有し、
前記除電装置制御部は、前記帯電電圧値が所定の閾値を超えた場合、前記基板を持ち上げた後に前記静電チャックの表面を除電するよう前記除電装置を制御することを特徴とする荷電粒子線装置。
【請求項6】
荷電粒子源から放出された荷電粒子ビームを基板の表面上で走査する走査偏向器と、静電チャックに吸着された基板から放出される信号電子の軌道を偏向する信号電子偏向器と、前記荷電粒子ビームの走査に基づいて得られる信号電子を検出する検出器と、
前記静電チャックは、吸着用電源及び電極を有し、前記静電チャックから基板を離脱する方法であって、
波高値検出積算部が、前記電極と電圧基準グランド間に分圧コンデンサ中間電圧波形の波高値を積算し、
波高値積算量-帯電電圧変換部が、前記波高値検出積算部による波高値積算値に基づき前記静電チャックの表面の帯電電圧値に変換し、
前記帯電電圧値に基づき相殺電圧制御部が残留吸着力を相殺するための電圧を制御する又は除電装置制御部が紫外光で除電する除電装置を制御することを特徴とする基板を離脱する方法。
【請求項7】
請求項6に記載の基板を離脱する方法であって、
前記相殺電圧制御部は、前記基板を持ち上げる前に前記帯電電圧値と符号が逆の電圧を求め、求めた逆の電圧を相殺電圧電源より前記電極に印加することを特徴とする基板を離脱する方法。
【請求項8】
請求項7に記載の基板を離脱する方法であって、
前記波高値積算量-帯電電圧変換部は、予め格納された前記波高値積算値と前記静電チャックの表面の帯電電圧の対応を示すテーブル読み取り、前記帯電電圧値とすることを特徴とする基板を離脱する方法。
【請求項9】
請求項7に記載の基板を離脱する方法であって、
前記静電チャックの負極側に第1分圧コンデンサと、前記波高値検出積算部及び前記波高値積算量-帯電電圧変換部並びに前記相殺電圧制御部を有する第1コントローラと、
前記静電チャックの正極側に第2分圧コンデンサと、前記波高値検出積算部及び前記波高値積算量-帯電電圧変換部並びに前記相殺電圧制御部を有する第2コントローラと、を備え、
電極毎の帯電電圧値に基づき、負極に接続された第1相殺電圧電源又は正極に接続された第2相殺電圧電源より前記逆の電圧を前記電極に印加することを特徴とする基板を離脱する方法。
【請求項10】
請求項6に記載の基板を離脱する方法であって、
前記除電装置を有し、
前記除電装置制御部は、前記帯電電圧値が所定の閾値を超えた場合、前記基板を持ち上げた後に前記静電チャックの表面を除電するよう前記除電装置を制御することを特徴とする基板を離脱する方法。
発明の詳細な説明
【技術分野】
【0001】
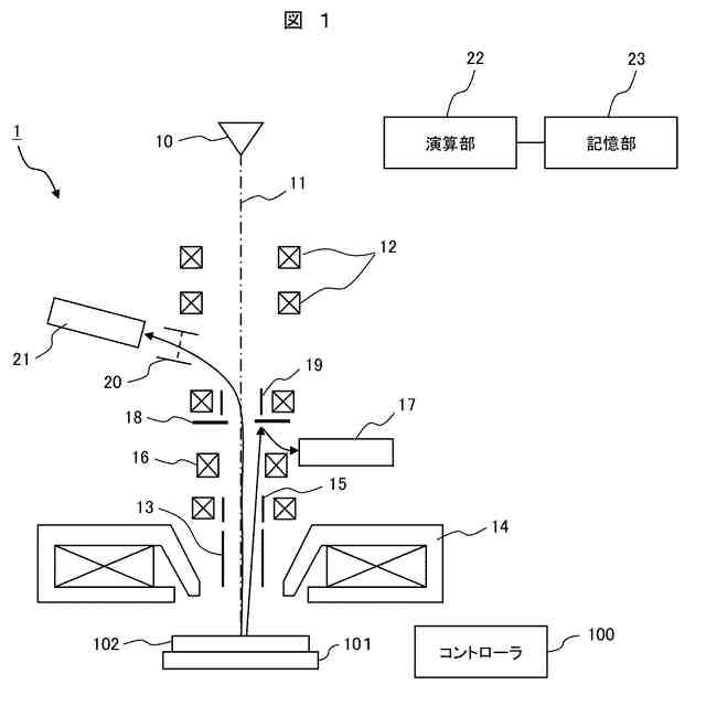
本発明は、荷電粒子線装置及び基板の離脱方法に関する。
続きを表示(約 1,700 文字)
【背景技術】
【0002】
静電チャックを含む装置は、例えば特許文献1に記載されている。特許文献1では、静電チャックは静電チャックプレートとして述べられている。
特許文献1では、静電チャックプレート上からウェハを 離脱させる際に流れる電流値を検出し、静電チャッ クの残留電荷を算出し、残留電荷量はウェハの搬送状態に影響を与えるので、残留電荷量を求めることで、ウェハの搬送状態を知ることができることが、記載されている。
【先行技術文献】
【特許文献】
【0003】
特開2007-165917号公報
【発明の概要】
【発明が解決しようとする課題】
【0004】
ウェハを吸着/離脱する静電チャックにおいて、静電チャックの表面自体が帯電することがある。帯電があると、チャックをOFFし離脱状態としてもウェハに対して吸着力(残留吸着力)が生じ、ウェハを静電チャックから持ち上げる際に力がかかり、ウェハが跳ねたりダメージを与えてしまう。このことから、静電チャックを離脱状態にし、ウェハを持ち上げる前にチャック表面の帯電量を測定し、帯電量に合わせて残留吸着力を低減することが望ましい。
【0005】
しかしながら、特許文献1ではウェハを持ち上げる際に帯電量を計測するため、残留吸着力低減のためにウェハを持ち上げる前の帯電量測定には適さない虞がある。
【0006】
そこで、本発明は、残留吸着力の影響が生じる前から帯電量計測し、帯電による残留吸着力を低減し得る荷電粒子線装置及び基板の離脱方法を提供する。
【課題を解決するための手段】
【0007】
上記課題を解決するため、本発明に係る荷電粒子線装置は、荷電粒子源から放出された荷電粒子ビームを基板の表面上で走査する走査偏向器と、静電チャックに吸着された基板から放出される信号電子の軌道を偏向する信号電子偏向器と、前記荷電粒子ビームの走査に基づいて得られる信号電子を検出する検出器と、前記静電チャックは、吸着用電源及び電極を有し、前記電極と電圧基準グランド間に分圧コンデンサを設け、前記分圧コンデンサの中間電圧波形の波高値を積算する波高値検出積算部と、前記波高値検出積算部による波高値積算値に基づき前記静電チャックの表面の帯電電圧値に変換する波高値積算量-帯電電圧変換部と、を備えるコントローラを備え、前記コントローラは、前記帯電電圧値に基づき残留吸着力を相殺するための電圧を制御する相殺電圧制御部又は紫外光で除電する除電装置を制御する除電装置制御部を有することを特徴とする。
【0008】
また、本発明に係る基板を離脱する方法は、荷電粒子源から放出された荷電粒子ビームを基板の表面上で走査する走査偏向器と、静電チャックに吸着された基板から放出される信号電子の軌道を偏向する信号電子偏向器と、前記荷電粒子ビームの走査に基づいて得られる信号電子を検出する検出器と、前記静電チャックは、吸着用電源及び電極を有し、前記静電チャックから基板を離脱する方法であって、波高値検出積算部が、前記電極と電圧基準グランド間に分圧コンデンサ中間電圧波形の波高値を積算し、波高値積算量-帯電電圧変換部が、前記波高値検出積算部による波高値積算値に基づき前記静電チャックの表面の帯電電圧値に変換し、前記帯電電圧値に基づき相殺電圧制御部が残留吸着力を相殺するための電圧を制御する又は除電装置制御部が紫外光で除電する除電装置を制御することを特徴とする。
【発明の効果】
【0009】
本発明によれば、残留吸着力の影響が生じる前から帯電量計測し、帯電による残留吸着力を低減し得る荷電粒子線装置及び基板の離脱方法を提供することが可能となる。
【0010】
上記した以外の課題、構成及び効果は、以下の実施形態の説明により明らかにされる。
【図面の簡単な説明】
(【0011】以降は省略されています)
この特許をJ-PlatPat(特許庁公式サイト)で参照する
関連特許
株式会社日立ハイテクアナリシス
半導体検出器
2日前
株式会社日立ハイテク
試料検査システム
4日前
株式会社日立ハイテク
分子除去方法および分子除去装置
2日前
株式会社日立ハイテク
核種在庫管理装置及び核種在庫管理方法
3日前
株式会社日立ハイテク
計算機システムおよびデータの分析方法
3日前
株式会社日立ハイテク
カメラ調整用ターゲット及び検体処理装置
8日前
株式会社日立ハイテク
画像処理装置、画像処理システムおよび方法
1日前
株式会社日立ハイテク
検体容器隔離プレートおよび検体容器移載装置
8日前
株式会社日立ハイテク
加工条件最適化装置、および、加工条件最適化方法
2日前
株式会社日立ハイテク
プログラム、動体追尾装置、放射線治療システム、並びに動体の追跡方法
4日前
株式会社日立ハイテク
加速器システム、粒子線治療システム、加速器の制御方法及び粒子線治療システムの制御方法
2日前
株式会社日立ハイテク
加速器システム、粒子線治療システム、加速器の制御方法及び粒子線治療システムの制御方法
2日前
株式会社日立ハイテク
画像処理装置、画像収録装置、画像再生装置、画像処理方法、画像収録方法および画像再生方法
2日前
株式会社日立ハイテク
加速器システム、粒子線治療システム、加速器システムの制御方法及び粒子線治療システムの制御方法
2日前
個人
フレキシブル電気化学素子
1日前
日本発條株式会社
積層体
12日前
個人
防雪防塵カバー
12日前
ローム株式会社
半導体装置
3日前
ローム株式会社
半導体装置
8日前
ローム株式会社
半導体装置
10日前
株式会社ユーシン
操作装置
1日前
ローム株式会社
半導体装置
10日前
ローム株式会社
半導体装置
10日前
太陽誘電株式会社
コイル部品
1日前
太陽誘電株式会社
全固体電池
8日前
オムロン株式会社
電磁継電器
2日前
株式会社GSユアサ
蓄電装置
8日前
個人
半導体パッケージ用ガラス基板
11日前
株式会社ホロン
冷陰極電子源
8日前
株式会社GSユアサ
蓄電装置
12日前
ニチコン株式会社
コンデンサ
24日前
株式会社GSユアサ
蓄電設備
1日前
ニチコン株式会社
コンデンサ
24日前
株式会社GSユアサ
蓄電設備
1日前
株式会社ティラド
面接触型熱交換器
23日前
ノリタケ株式会社
熱伝導シート
1日前
続きを見る
他の特許を見る