TOP
|
特許
|
意匠
|
商標
特許ウォッチ
Twitter
他の特許を見る
10個以上の画像は省略されています。
公開番号
2025145081
公報種別
公開特許公報(A)
公開日
2025-10-03
出願番号
2024045075
出願日
2024-03-21
発明の名称
カメラ調整用ターゲット及び検体処理装置
出願人
株式会社日立ハイテク
代理人
弁理士法人平木国際特許事務所
主分類
G02B
21/36 20060101AFI20250926BHJP(光学)
要約
【課題】カメラの映像に基づいて容易に、かつ、高い分解能でカメラの位置と角度を調整可能にする技術を提供する。
【解決手段】本開示は、カメラの映像に基づいてカメラの位置を調整するためのカメラ調整用ターゲットであって、前記カメラ調整用ターゲットは、空気よりも屈折率の高い物質で満たされた透明な部材で構成され、凸曲面である第1の面と、前記第1の面の反対側の第2の面と、前記第1の面の中央において互いに交差する2本の第1の線と、前記第2の面の中央において互いに交差する2本の第2の線と、を備え、前記第1の線の交差の角度と前記第2の線の交差の角度とが等しいことを特徴とする。
【選択図】図1
特許請求の範囲
【請求項1】
カメラの映像に基づいてカメラの位置を調整するためのカメラ調整用ターゲットであって、
前記カメラ調整用ターゲットは、空気よりも屈折率の高い物質で満たされた透明な部材で構成され、
凸曲面である第1の面と、
前記第1の面の反対側の第2の面と、
前記第1の面の中央において互いに交差する2本の第1の線と、
前記第2の面の中央において互いに交差する2本の第2の線と、を備え、
前記第1の線の交差の角度と前記第2の線の交差の角度とが等しいことを特徴とするカメラ調整用ターゲット。
続きを表示(約 980 文字)
【請求項2】
請求項1において、
前記第1の線及び前記第2の線は、前記カメラが正しい位置に正しい角度で設置された場合における、前記カメラの撮像素子を構成する画素の横方向と縦方向のそれぞれの並びに平行であることを特徴とするカメラ調整用ターゲット。
【請求項3】
請求項1において、
前記第1の線の太さは、前記第2の線の太さよりも太いことを特徴とするカメラ調整用ターゲット。
【請求項4】
請求項1において、
前記第1の線の色は、前記第2の線の色と異なることを特徴とするカメラ調整用ターゲット。
【請求項5】
請求項4において、
前記第1の線の色と前記第2の線の色とが補色の関係にあり、かつ透光性を有することを特徴とするカメラ調整用ターゲット。
【請求項6】
請求項1において、
前記第1の線の種類は前記第2の線の種類と異なることを特徴とするカメラ調整用ターゲット。
【請求項7】
請求項6において、
前記第1の線は破線であり、前記第2の線は点線であり、
前記破線を構成する短線は等しい長さで等間隔に並んでおり、前記点線を構成する極短線は外周へ向かうにしたがって短くなり、前記極短線の間隔は外周へ向かうにしたがって狭くなることを特徴とするカメラ調整用ターゲット。
【請求項8】
請求項1において、
前記カメラ調整用ターゲットは球体であることを特徴とするカメラ調整用ターゲット。
【請求項9】
請求項1において、
前記第1の線及び前記第2の線を避けた箇所を支持する支持部材をさらに備え、
前記支持部材は、前記カメラ調整用ターゲットが前記カメラの撮像位置に配置された時に前記支持部材の一端が前記カメラの映像に含まれるように寸法決めされていることを特徴とするカメラ調整用ターゲット。
【請求項10】
請求項9に記載のカメラ調整用ターゲットの前記支持部材と連結部材により連結された検体容器と、
前記連結された前記支持部材及び前記検体容器を保持可能に構成された検体ラックと、を備えることを特徴とする検体処理装置。
(【請求項11】以降は省略されています)
発明の詳細な説明
【技術分野】
【0001】
本開示は、カメラ調整用ターゲット及び検体処理装置に関する。
続きを表示(約 1,800 文字)
【背景技術】
【0002】
生化学検査や免疫学検査においては、無駄な検査を省いて消耗品及び試薬の消費量を削減するために、分析前に、使用容器の適正や検体の品質と量が判別される。この判別を、画像処理システムを利用して自動で短時間に行うためには、均一な明るさで検体容器を照明して、少ない前処理で十分な空間分解能とコントラストを持つ検体と検体容器の画像を取得することが求められる。そのため、画像を取得するためのカメラ及び光源といった光学機器は、容器に対して適切な位置と角度に調整されて装置内に設置されなければならない。
【0003】
カメラなどの治工具の角度及び方向を調整したり確認したりするための技術が特許文献1及び2に記載されている。
【0004】
特許文献1には、カメラなどの治工具の角度や方向を目視にて確認するための角度状態確認装置が記載されている。この角度状態確認装置は、上面と底面(以下、前面と後面と記載)の中心に十字マーク(以下、印と記載)が描かれた透明な立体構造物(以下、ターゲットと記載)を治工具に取付けて構成される。前後面の印が重なって見えるように治工具の角度を調整することで、治工具の垂直又は水平状態を確保できるとされている。
【0005】
特許文献2には、撮影レンズと被写体とを正確に対向させるための撮像装置が記載されている。この撮像装置は、表裏(以下、前後と記載)の2面に同一形状の切欠き(以下、印と記載)を形成した平板状のプリズム(以下、ターゲットと記載)を撮影レンズの隣に配置して構成される。前後面の印の各交点が一致して見えるようにカメラの向きを調整することで、正確にカメラの撮影レンズの光軸を被写体に合わせることができるとされている。
【先行技術文献】
【特許文献】
【0006】
特開2015-148599号公報
特開2006-84807号公報
【発明の概要】
【発明が解決しようとする課題】
【0007】
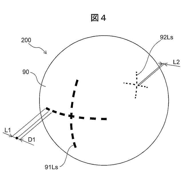
カメラがターゲットに対してずれて配置されている場合、ターゲットの前後面の間隔が広いほど、ターゲットの前後面に描かれた印のずれはカメラに大きく映る。つまり、カメラの調整分解能が高くなる。しかし、装置内で光学機器を設置できるスペースは限られるため、撮影距離は長くできない。この場合、カメラの被写界深度は浅くなる。そのため、ターゲットが中空である特許文献1では、ターゲットの前後面の間隔が広いと、前後いずれかの面がカメラの被写界深度からはずれて、その面に描かれた印が不鮮明になり易い。その結果、十分な調整分解能が確保できない可能性があった。
【0008】
この課題の解決策として、屈折率が空気よりも大きく透明な物質でターゲットの内部を満たすことで、カメラからターゲットの後面までの空気換算距離を短くすることが考えられる。この場合、ターゲットの前後面が共にカメラの被写界深度に納まりやすくなる。しかし、同時に、後面の印から出た光は、ターゲットの前面で屈折してカメラに入射する。そのため、ターゲットの前面が平面である特許文献2では、後面に描かれた印が前面に描かれた印に近づいてカメラには映る。つまり、ターゲットの前後面に描かれた印のずれは縮小されてカメラに映り、カメラの調整分解能が低下する可能性があった。
【0009】
そこで、本開示は、カメラの映像に基づいて容易に、かつ、高い分解能でカメラの位置と角度を調整可能にする技術を提供する。
【課題を解決するための手段】
【0010】
上記課題を解決するために、本開示のカメラ調整用ターゲットは、カメラの映像に基づいてカメラの位置を調整するためのカメラ調整用ターゲットであって、前記カメラ調整用ターゲットは、空気よりも屈折率の高い物質で満たされた透明な部材で構成され、凸曲面である第1の面と、前記第1の面の反対側の第2の面と、前記第1の面の中央において互いに交差する2本の第1の線と、前記第2の面の中央において互いに交差する2本の第2の線と、を備え、前記第1の線の交差の角度と前記第2の線の交差の角度とが等しいことを特徴とする。
(【0011】以降は省略されています)
この特許をJ-PlatPat(特許庁公式サイト)で参照する
関連特許
個人
立体像表示装置
5日前
住友化学株式会社
偏光板
2日前
東レ株式会社
積層フィルム
11日前
住友化学株式会社
垂直偏光板
2日前
東レ株式会社
貼合体の製造方法
5日前
東レ株式会社
赤外線遮蔽構成体
5日前
アイカ工業株式会社
反射防止フィルム
17日前
スタンレー電気株式会社
照明装置
12日前
日本電気株式会社
光集積回路素子
9日前
三菱電機株式会社
レンズモジュール
2日前
個人
眼鏡装着位置変更具および眼鏡
3日前
日東電工株式会社
調光フィルム
10日前
住友化学株式会社
偏光板
5日前
住友化学株式会社
偏光板
5日前
住友化学株式会社
積層体
9日前
新光電気工業株式会社
光導波路部品
2日前
新光電気工業株式会社
光導波路部品
2日前
日本分光株式会社
赤外顕微鏡
16日前
旭化成株式会社
成形体
16日前
旭化成株式会社
成形体
16日前
住友化学株式会社
偏光積層体
5日前
日本精機株式会社
ヘッドアップディスプレイ装置
10日前
住友化学株式会社
光学積層体
5日前
キヤノン株式会社
レンズ装置および撮像装置
18日前
住友ベークライト株式会社
積層体の製造方法
10日前
キヤノン株式会社
レンズ装置および撮像装置
10日前
キヤノン株式会社
画像表示装置
16日前
Orbray株式会社
MEMS光スイッチの制御方法
10日前
レーザーテック株式会社
検査装置及び検査方法
20日前
住友化学株式会社
偏光板及び画像表示装置
11日前
古河電気工業株式会社
光モジュール、光接続構造
10日前
キヤノン電子株式会社
光学部材、撮像装置及び宇宙航行体
3日前
住友ベークライト株式会社
光学シート
9日前
キヤノン電子株式会社
光学部材、撮像装置及び宇宙航行体
3日前
株式会社小糸製作所
画像投影装置
2日前
TDK株式会社
メタサーフェスレンズ
9日前
続きを見る
他の特許を見る