TOP
|
特許
|
意匠
|
商標
特許ウォッチ
Twitter
他の特許を見る
10個以上の画像は省略されています。
公開番号
2025139210
公報種別
公開特許公報(A)
公開日
2025-09-26
出願番号
2024038022
出願日
2024-03-12
発明の名称
反応器規模拡大シミュレータ並びに反応器規模拡大シミュレーション方法
出願人
株式会社日立ハイテクソリューションズ
代理人
ポレール弁理士法人
主分類
G05B
17/02 20060101AFI20250918BHJP(制御;調整)
要約
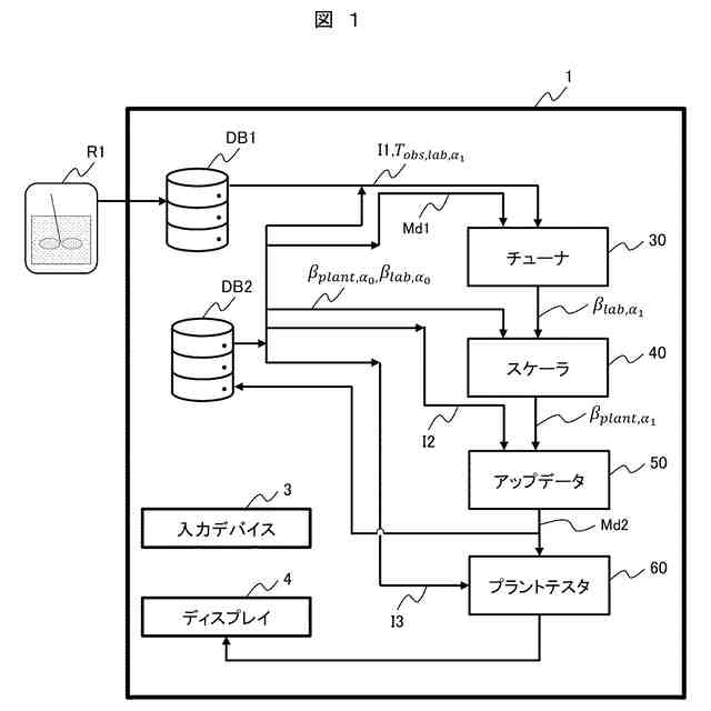
【課題】実験室規模の反応器からプラント規模の反応器に規模を拡大するために好適な反応器規模拡大シミュレータ及びシミュレーション方法を提供する。
【解決手段】条件αの変化によるプラント特性の変化を算出する反応器規模拡大シミュレータ1は、実験室規模の反応器R1における第1の計測値と実験室規模の反応器の特性を模擬する第1のモデルを用いて、条件α
1
で運転するときの実験室規模の反応器のパラメータと、条件α
0
で運転するときの実験室規模の反応器のパラメータと、条件α
0
で運転するときのプラント規模の反応器のパラメータとから、条件α
1
で運転するときのプラント規模の反応器のパラメータを求めるスケーラ、これらのパラメータを用いてプラント規模の反応器の特性を模擬する第2のモデルを生成するアップデータ及び第2のモデルを用いて条件αの変化によるプラント規模の反応器のプラント特性の変化を算出するプラントテスタを備える。
【選択図】図1
特許請求の範囲
【請求項1】
条件αの変化によるプラント特性の変化を算出する反応器規模拡大シミュレータであって、
実験室規模の反応器における第1の計測値と、前記実験室規模の反応器の特性を模擬する第1のモデルを用いて、前記実験室規模の反応器を条件α
1
で運転するときの前記実験室規模の反応器のパラメータβ
lab、α1
を計算するチューナと、
前記チューナで求めたパラメータβ
lab、α1
と、前記実験室規模の反応器を条件α
0
で運転するときの前記実験室規模の反応器のパラメータβ
lab、α0
と、プラント規模の反応器を条件α
0
で運転するときの前記プラント規模の反応器のパラメータβ
plant、α0
とから、前記プラント規模の反応器を条件α
1
で運転するときの前記プラント規模の反応器のパラメータβ
plant、α1
を求めるスケーラと、
前記のパラメータβ
lab、α1
、β
lab、α0
、β
plant、α0
、β
plant、α1
を用いて前記プラント規模の反応器の特性を模擬する第2のモデルを生成するアップデータと、
前記プラント規模の反応器の特性を模擬する第2のモデルを用いて、条件αの変化による前記プラント規模の反応器のプラント特性の変化を算出するプラントテスタを備えることを特徴とする反応器規模拡大シミュレータ。
続きを表示(約 2,400 文字)
【請求項2】
請求項1に記載の反応器規模拡大シミュレータであって、
前記チューナは、前記第1の計測値と、前記第1のモデルが与える出力の差分に応じて前記第1のモデルの特性をチューニングし前記実験室規模の反応器のパラメータβ
lab、α1
を計算することを特徴とする反応器規模拡大シミュレータ。
【請求項3】
請求項1に記載の反応器規模拡大シミュレータであって、
前記条件α
0
は現状運転における既存の条件であり、前記条件α
1
は新規運転における未知の条件であることを特徴とする反応器規模拡大シミュレータ。
【請求項4】
請求項1に記載の反応器規模拡大シミュレータであって、
前記スケーラは、前記実験室規模の反応器とプラント規模の反応器のスケール比率に対する前記条件α
0
におけるパラメータ比の勾配を求め、前記条件α
1
におけるパラメータβ
lab、α1
と前記勾配とからパラメータβ
plant、α1
を算出する第1の手法を実施することを特徴とする反応器規模拡大シミュレータ。
【請求項5】
請求項4に記載の反応器規模拡大シミュレータであって、
前記スケーラは、前記条件αの差分に対する前記パラメータの差分の比率に応じて、前記条件α
0
におけるパラメータを修正し、パラメータ修正を反映した前記勾配を用いて前記条件α
1
におけるパラメータβ
plant、α1
を算出する第2の手法を実施することを特徴とする反応器規模拡大シミュレータ。
【請求項6】
請求項5に記載の反応器規模拡大シミュレータであって、
前記スケーラは、前記第1の手法と前記第2の手法を切り替え実施できることを特徴とする反応器規模拡大シミュレータ。
【請求項7】
請求項1に記載の反応器規模拡大シミュレータであって、
反応器規模拡大シミュレータは、さらに
実験室規模の反応器における第1の計測値と、前記実験室規模の反応器の特性を模擬する前処理用の第1のモデルを用いて、前記実験室規模の反応器を条件α
0
で運転するときの前記実験室規模の反応器のパラメータβ
lab、α0
を時系列的に計算するパラメータチューナと、
プラント規模の反応器における第2の計測値と、前記プラント規模の反応器の特性を模擬する前処理用の第2のモデルを用いて、前記プラント規模の反応器を条件α
0
で運転するときの前記プラント規模の反応器のパラメータβ
lab、α0
を時系列的に計算する第2のチューナとを備えることを特徴とする反応器規模拡大シミュレータ。
【請求項8】
請求項1に記載の反応器規模拡大シミュレータであって、
反応器規模拡大シミュレータは、さらに
プラント規模の反応器における条件α
1
での第2の計測値と、前記プラント規模の反応器の特性を模擬する第2のモデルを用いて、前記プラント規模の反応器を条件α
1
で運転するときの前記プラント規模の反応器のパラメータβ
lab、α1
を時系列的に計算する第3のチューナとを備え、
前記第3のチューナは、前記第2の計測値と、前記第2のモデルが与える出力の差分に応じて前記第2のモデルの特性をチューニングし前記実験室規模の反応器のパラメータβ
lab、α1
を計算することを特徴とする反応器規模拡大シミュレータ。
【請求項9】
計算機を用いて条件αの変化によるプラント特性の変化を算出する反応器規模拡大シミュレーション方法であって、
前記計算機は、実験室規模の反応器における第1の計測値と、前記実験室規模の反応器の特性を模擬する第1のモデルを用いて、前記実験室規模の反応器を条件α
1
で運転するときの前記実験室規模の反応器のパラメータβ
lab、α1
を計算し、
前記パラメータβ
lab、α1
と、前記実験室規模の反応器を条件α
0
で運転するときの前記実験室規模の反応器のパラメータβ
lab、α0
と、プラント規模の反応器を条件α
0
で運転するときの前記プラント規模の反応器のパラメータβ
plant、α0
とから、前記プラント規模の反応器を条件α
1
で運転するときの前記プラント規模の反応器のパラメータβ
plant、α1
を求め、
前記のパラメータβ
lab、α1
、β
lab、α0
、β
plant、α0
、β
plant、α1
を用いて前記プラント規模の反応器の特性を模擬する第2のモデルを生成し、
前記プラント規模の反応器の特性を模擬する第2のモデルを用いて、条件αの変化による前記プラント規模の反応器のプラント特性の変化を算出することを特徴とする反応器規模拡大シミュレーション方法。
【請求項10】
請求項9に記載の反応器規模拡大シミュレーション方法であって、
前記計算機は、前記第1の計測値と、前記第1のモデルが与える出力の差分に応じて前記第1のモデルの特性をチューニングし前記実験室規模の反応器のパラメータβ
lab、α1
を計算することを特徴とする反応器規模拡大シミュレーション方法。
(【請求項11】以降は省略されています)
発明の詳細な説明
【技術分野】
【0001】
本発明は、実験室規模の試行に基づいてプラント規模の挙動をシミュレートするための反応器規模拡大シミュレータ並びに反応器規模拡大シミュレーション方法に関する。
続きを表示(約 2,800 文字)
【背景技術】
【0002】
生産性および製品品質を改善するために、プラントオペレータは、既存のプラント条件(例えば、反応器を操作する場合、反応器のジャケット材料、撹拌速度、又は原材料及び添加剤の質量など)を変更して、その改善度合いを検証したい場合がある。しかしながらこれらの変更を実際の実規模の反応器上で試験することは、費用がかかり、時間がかかることから、一般的にはシミュレータを使用することによって、所望の修正の効果を検証することが行われている。
【0003】
プラントシミュレータは、対象プラントの挙動を表す物理ベースのモデルを用いて構成されるが、モデルの精度は、適用されるモデルパラメータ(例えば熱伝達パラメータおよび流体特性)に大きく依存する。このため、プラントシミュレータのモデルパラメータは修正された条件で正確なシミュレーションを可能とするために、最初に最適に設定されなければならない。例えば、反応器中の添加剤の量を増加させることにより、より速い熱伝達速度を促進することができるが、この事象をプラントシミュレータに反映させる場合、既存のプラントモデルの熱伝達パラメータは、添加剤の量の増加によるプラント挙動変化を適正に表すように把握されて、調整されなければならない。このパラメータ調整の結果、高いシミュレーション精度が維持される。
【0004】
これらの点に関して、特許文献1は、反応器シミュレーションのためのプラントモデルパラメータを調整する方法を開示している。特許文献1においては、従来よりも実用性と一般性に優れたB2B制御システムを提供することを目的として、「制御装置は、バッチ反応プロセスを制御するPIDコントローラを実現するカスケード制御実行部6と、反応プロセスモデルを記憶するモデル記憶部1と、モデル調整部7と、反応プロセスモデルを線形近似した伝達関数モデルを用いてPIDコントローラのPIDパラメータを調整する制御パラメータ調整部5とを備える。モデル調整部7は、冷媒入口温度Tciの実績データを平滑化して反応プロセスモデルの入力として与え、反応プロセスモデルの出力である反応温度Travの時系列データと反応温度Trの実績データとの2乗誤差を算出し、2乗誤差が最小になる、反応プロセスモデルの適応パラメータを非線形最適化により求め、適応パラメータを用いて反応プロセスモデルのモデルパラメータを調整する」ように構成することを提案している。
【0005】
また特許文献2は、プロセスプラントの少なくとも一部分の動温度動作を実験室規模でシミュレートするための方法の提供を目的として、「プロセスプラントの少なくとも一部分の動温度動作を実験装置を使用してシミュレートする方法であり、前記プロセスプラントは化学的及び/又は物理的反応を行うための工業用反応容器、当該工業用反応容器と相互作用する工業用温度制御装置、当該工業用温度制御装置と相互作用する工業用熱伝達ユニット及び少なくとも当該工業用温度制御装置を制御するための制御ユニットとを含んでおり、前記実験装置は、化学的及び/又は物理的反応を行うための実験反応容器と、当該実験反応容器と相互作用する実験温度制御装置と、前記実験温度制御装置と相互作用する実験熱伝達ユニットと、前記実験装置を作動させ且つ制御するためのコントローラとを含んでおり、実験装置を制御するために所定の時間間隔で温度プロフィル及び/又は温度設定値が提供され、前記温度プロフィル及び/又は温度設定値は数学的モデルから導き出され、当該数学的モデルは、前記プロセスプラントの少なくとも一部分の動温度動作を記述しており、前記温度プロフィル及び/又は温度設定値が、前記実験装置を制御するためのコントローラによって使用されることを特徴するプロセスプラントの動温度動作を実験装置を使用してシミュレートする方法。」のように構成することを提案している。
【先行技術文献】
【特許文献】
【0006】
特開2013-69094号公報
特開2007-87383号公報
【発明の概要】
【発明が解決しようとする課題】
【0007】
特許文献1によれば、その目的とするところを達成することができる。しかしながら、適応パラメータを用いて反応プロセスモデルのモデルパラメータを調整する同調方法を実現するためには、対象反応器からのデータを必要とする。これは、プラントモデルを調整するために、プラント規模の反応器で試験を実施しなければならないことを意味する。先に指摘したように、プラント規模の反応器で試験を実施することは、高価であり、時間がかかる可能性がある。この点に関して、(実験室におけるような)より小さいスケールでの試験がより実用的であり、実験室規模の反応器を用いた実験結果に基づいて、プラント規模モデルの調整を可能にする規模拡大方法を採用することは有用である。
【0008】
然るに往々にして、実験室規模の反応器は規模の違いにより、プラント規模の反応器と比較して異なる熱挙動を示すことがある。したがって、実験室規模の反応器からの熱伝達パラメータを規模拡大することは、プラント規模の反応器の挙動を推定するうえで重要である。
【0009】
この点に関して、特許文献2は新しい運転条件を試験するために、実験室規模の反応器からプラント規模の反応器までの熱速度を規模拡大する手段を提供したものである。具体的には、特許文献2では実験室規模の反応器での試行により、実験室規模の熱量(Q
lab
)を算出している。次いで、実験室規模およびプラント規模の反応器の体積(または反応質量)の差に基づいて、計算されたQ
lab
にスケール係数を適用して、プラント規模の熱量(Q
ind
)の推定値を生成する。しかし、反応器規模の差のみに基づく実験室規模の状態(例えば、Q
lab
)からのスケーリング法は、プラント規模の反応器の実際の状態を正しく反映していないことがある。特許文献2におけるこの手法は、プラント規模の伝熱パラメータを計算する精度を低くすることができる(Q
ind
:特許文献2)。
【0010】
以上のことから本発明においては、実験室規模の反応器からプラント規模の反応器に規模を拡大するために好適な反応器規模拡大シミュレータ並びに反応器規模拡大シミュレーション方法を提供することを本発明の目的とする。
【課題を解決するための手段】
(【0011】以降は省略されています)
この特許をJ-PlatPat(特許庁公式サイト)で参照する
関連特許
個人
生産早送り装置
1か月前
株式会社豊田自動織機
産業車両
1か月前
株式会社FUJI
工作機械
3か月前
株式会社カネカ
製造システム
27日前
株式会社ダイヘン
移動体
3か月前
オムロン株式会社
スレーブ装置
3日前
愛知製鋼株式会社
車両用システム
1か月前
ローム株式会社
基準電圧源
24日前
株式会社FUJI
加工機械ライン
2か月前
個人
作業車両自動化システム
1か月前
愛知製鋼株式会社
目標軌跡の設定方法
2か月前
トヨタ自動車株式会社
生産管理システム
2か月前
株式会社ダイフク
搬送設備
13日前
株式会社ダイフク
搬送設備
1か月前
株式会社ダイフク
搬送設備
1か月前
株式会社ダイフク
搬送設備
3か月前
トヨタ自動車株式会社
移動制御システム
1か月前
株式会社オプトン
制御プログラム生成装置
3か月前
キヤノン電子株式会社
加工装置、及び、制御方法
2か月前
トヨタ自動車株式会社
減圧弁
1か月前
株式会社鷺宮製作所
制御装置
3か月前
株式会社ダイフク
物品搬送設備
13日前
カヤバ株式会社
減圧弁
1日前
キヤノン株式会社
配送システム
27日前
トヨタ自動車株式会社
制御装置
3日前
株式会社ダイフク
物品搬送設備
3か月前
株式会社ダイフク
物品搬送設備
3か月前
株式会社ダイフク
物品搬送設備
3か月前
トヨタ自動車株式会社
クラッチペダル
1か月前
マーク ヘイリー
消防ロボット
2か月前
株式会社ダイヘン
負荷時タップ切換器
3か月前
株式会社CAOS
移動体の制御システム
23日前
キヤノン電子株式会社
加工システム、及び、加工装置
1か月前
ルネサスエレクトロニクス株式会社
半導体装置
1か月前
愛知製鋼株式会社
マーカシステム及び制御方法
1か月前
株式会社TMEIC
安全性診断装置
7日前
続きを見る
他の特許を見る