TOP
|
特許
|
意匠
|
商標
特許ウォッチ
Twitter
他の特許を見る
10個以上の画像は省略されています。
公開番号
2025133426
公報種別
公開特許公報(A)
公開日
2025-09-11
出願番号
2024031374
出願日
2024-03-01
発明の名称
容積式往復ポンプユニット、および外気取込装置
出願人
旭サナック株式会社
代理人
弁理士法人サトー
主分類
F04B
53/00 20060101AFI20250904BHJP(液体用容積形機械;液体または圧縮性流体用ポンプ)
要約
【課題】洗浄効率を向上させて、洗浄作業時の洗浄液の使用量の低減や、洗浄に要する時間を削減する。
【解決手段】容積式往復ポンプユニットは、移送対象となる液体の入口及び出口と、前記入口と前記出口とを繋ぎ前記移送対象が流れる移送経路と、を有する容積式往復型のポンプ装置と、前記入口側に設けられ、前記移送対象の移送時に前記移送経路に生じる負圧によって前記移送経路に外気を取り込む外気取込装置と、を備える。
【選択図】図2
特許請求の範囲
【請求項1】
移送対象となる液体の入口及び出口と、前記入口と前記出口とを繋ぎ前記移送対象が流れる移送経路と、を有する容積式往復型のポンプ装置と、
前記入口側に設けられ、前記移送対象の移送時に前記移送経路に生じる負圧によって前記移送経路に外気を取り込む外気取込装置と、
を備える容積式往復ポンプユニット。
続きを表示(約 1,100 文字)
【請求項2】
前記外気取込装置は、
前記移送経路側と外部とを繋ぐ外気取込口を有し、外気が前記外気取込口を通って前記移送経路側へ流入することを許可し、前記移送経路側の前記移送対象が前記外気取込口を通って外部へ流出することを禁止する外気用逆止弁と、
前記外気取込口を開閉する外気用開閉弁と、を有している、
請求項1に記載の容積式往復ポンプユニット。
【請求項3】
前記外気取込装置は、
前記外気用逆止弁と前記外気用開閉弁との間に設けられて、前記外気用逆止弁を通過する空気の量を調整可能な流量調整弁を更に有している、
請求項2に記載の容積式往復ポンプユニット。
【請求項4】
前記外気用逆止弁は、
前記外気取込口を有する金属製の受け部材と、
樹脂で構成され、前記受け部材に対して接近及び離れる方向へ移動可能に構成され前記受け部材に接触して前記外気取込口を塞ぐとともに、前記受け部材から離れて前記外気取込口を開く樹脂製のポペットと、を有し、
前記受け部材のうち前記ポペットが接触する受け面の角度と、前記ポペットのうち前記受け面に接触する接触面の角度とが異なっている、
請求項2又は3に記載の容積式往復ポンプユニット。
【請求項5】
前記外気取込装置は、前記ポンプ装置の前記入口に接続されて前記入口とサクションホースとを接続する接続部材を更に有し、
前記接続部材は、
前記移送経路と前記サクションホースとを接続する接続経路を有するとともに、前記接続経路の途中部分に前記外気取込口が設けられ、
前記外気取込口の径方向の中心を通りかつ前記外気取込口の延伸方向へ延びる中心線は、前記接続経路の径方向の中心に対して外側へずらした位置に設定されている、
請求項2又は3に記載の容積式往復ポンプユニット。
【請求項6】
移送対象となる液体の入口及び出口と、前記入口と前記出口とを繋ぎ前記移送対象が流れる移送経路と、を有する容積式往復型のポンプ装置の前記入口側に接続され、前記移送対象の移送時に生じる負圧によって前記移送経路に外気を取り込むものであって、
前記移送経路側と外部とを繋ぐ外気取込口を有し、外気が前記外気取込口を通って前記移送経路側へ流入することを許可し、前記移送経路側の前記移送対象が前記外気取込口を通って外部へ流出することを禁止する外気用逆止弁と、
前記外気取込口を開閉する外気用開閉弁と、
を備える外気取込装置。
発明の詳細な説明
【技術分野】
【0001】
本発明の実施形態は、容積式往復ポンプユニット、および外気取込装置に関する。
続きを表示(約 2,300 文字)
【背景技術】
【0002】
例えばダイヤフラムポンプ等の容積式往復型のポンプ装置を、塗装システムにおいて塗料の供給用に用いることが周知である。この場合、塗装作業の終了後には、ポンプ内で塗料が乾燥固化してしまうことを防ぐためにポンプ内を十分に洗浄する必要がある。また、塗料の色を変更する際には、変更前後の塗料が混ざってしまうことを防ぐためにポンプ内を十分に洗浄する必要がある。
【0003】
従来、このようなポンプに対し、作業者は、例えば次の(1)~(5)の手順に沿ってポンプ内部の洗浄を行っていた。(1)まず、作業者は、サクションホースを塗料タンクから引き抜き、ポンプ内に溜まっている塗料を排出する。(2)次に、作業者は、サクションホースを洗浄液タンクに移動させると共に、リターンホースを廃液タンクに移動させる。これにより、サクションホースから洗浄液タンクに貯留されたシンナー等の洗浄液をポンプ内に吸入させると共に、その吸入した洗浄液がリターンホースから廃液タンクに排出させる。
【0004】
(3)次に、作業者は、廃液タンクに排出される洗浄液の色を確認し、洗浄液の成分が増えてきたらつまり塗料による着色が薄くなってきたら、リターンホースを洗浄液に移動させる。すると、洗浄液タンクからサクションホースを介してポンプに吸入された洗浄液は、リターンホースを介して再び洗浄液タンクに排出される。このように、洗浄液タンクとポンプ内とで洗浄液を循環させる。(4)そして、作業者は、洗浄液の循環をある程度継続したら、洗浄液タンクの洗浄液を新品のものに交換し、再び上記(3)を行う。(5)そして、上記(3)、(4)の作業を何度か繰り返し、リターンホースから排出される洗浄液に塗料の色が付いていないことを確認して作業を終了する。
【先行技術文献】
【特許文献】
【0005】
特開2007-262911号公報
【発明の概要】
【発明が解決しようとする課題】
【0006】
しかしながら、上述した従来の構成では、洗浄液の洗浄効果を十分に発揮できていたとはいえなかった。そのため、洗浄に使用する洗浄液の量が多く、洗浄液のコストも増大し、また、洗浄に時間がかかり生産性も低下する。
【0007】
本発明は上記事情に鑑みてなされたものであり、その目的は、洗浄効率を向上させて、洗浄作業時の洗浄液の使用量の低減や、洗浄に要する時間を削減することができる、容積式往復ポンプユニット10、および外気取込装置を提供することにある。
【課題を解決するための手段】
【0008】
実施形態による容積式往復ポンプユニットは、移送対象となる液体の入口及び出口と、前記入口と前記出口とを繋ぎ前記移送対象が流れる移送経路と、を有する容積式往復型のポンプ装置と、前記入口側に設けられ、前記移送対象の移送時に前記移送経路に生じる負圧によって前記移送経路に外気を取り込む外気取込装置と、を備える。
【0009】
また、実施形態による外気取込装置は、移送対象となる液体の入口及び出口と、前記入口と前記出口とを繋ぎ前記移送対象が流れる移送経路と、を有する容積式往復型のポンプ装置の前記入口側に接続され、前記移送対象の移送時に生じる負圧によって前記移送経路に外気を取り込むものであって、前記移送経路側と外部とを繋ぐ外気取込口を有し、外気が前記外気取込口を通って前記移送経路側へ流入することを許可し、前記移送経路側の前記移送対象が前記外気取込口を通って外部へ流出することを禁止する外気用逆止弁と、前記外気取込口を開閉する外気用開閉弁と、を備える。
【図面の簡単な説明】
【0010】
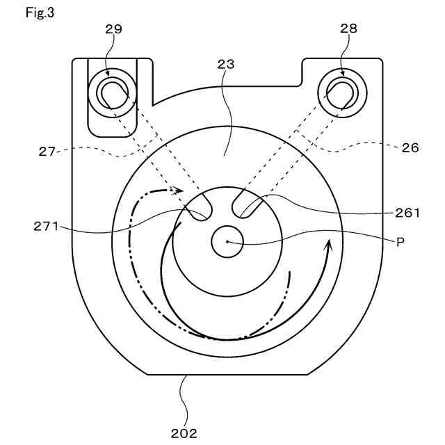
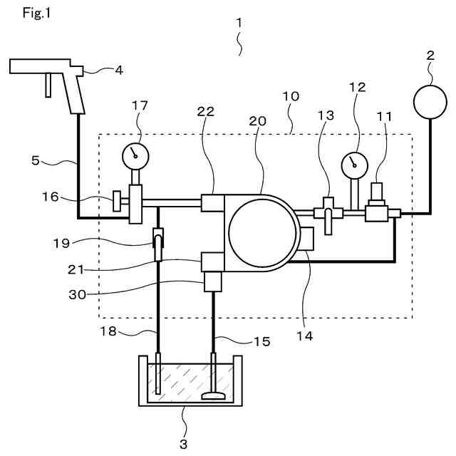
一実施形態による容積式往復ポンプユニットを用いた塗装システムの構成の一例を概念的に示す図
一実施形態による容積式往復ポンプユニットの一例について、ポンプ装置が停止した状態でかつ外気取込装置が閉じている状態を示す断面図
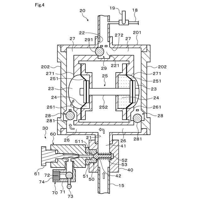
一実施形態による容積式往復ポンプユニットの一例について、ポンプ室の内部構成の一例を示す図
一実施形態による容積式往復ポンプユニットの一例について、外気取込装置を閉じた状態でポンプ装置を動作させた状態を示す断面図(その1)
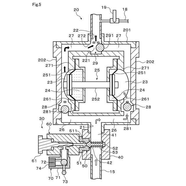
一実施形態による容積式往復ポンプユニットの一例について、外気取込装置を閉じた状態でポンプ装置が動作させた状態を示す断面図(その2)
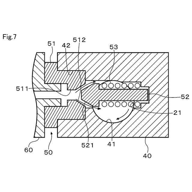
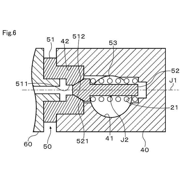
一実施形態による外気取込装置の一例について、図2の矢印X6-X6線に沿って接続部材及び外気用逆止弁の周辺の構成を拡大して示す断面図
一実施形態による外気取込装置の一例について、図6の状態から外気用逆止弁が開いた状態を示す断面図
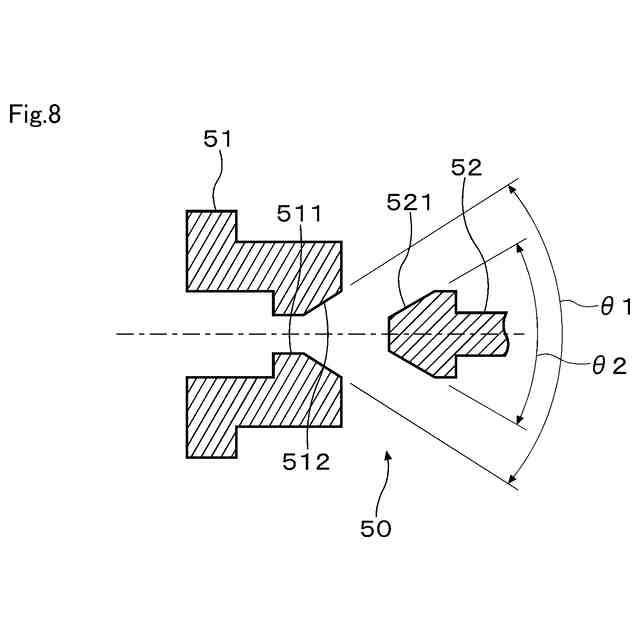
一実施形態による外気取込装置の一例について、外気用逆止弁の受け部材の受け面と、ポペットの接触面との角度関係を示す図
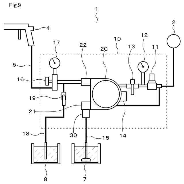
一実施形態による容積式往復ポンプユニットを用いた塗装システムについて、洗浄時の構成の一例を概念的に示す図
一実施形態による容積式往復ポンプユニットを用いた塗装システムについて、洗浄時の作業フローの一例を示すフローチャート
一実施形態による容積式往復ポンプユニットの一例について、外気取込装置を開いた状態でポンプ装置を動作させた状態を示す断面図
一実施形態による外気取込装置を用いた実施例と、外気取込装置を用いない比較例1、2との洗浄効果を示す図
【発明を実施するための形態】
(【0011】以降は省略されています)
この特許をJ-PlatPat(特許庁公式サイト)で参照する
関連特許
旭サナック株式会社
粉体塗装装置
27日前
旭サナック株式会社
容積式往復ポンプユニット、および外気取込装置
24日前
個人
圧縮機
5か月前
個人
海流製造装置。
18日前
ダイニチ工業株式会社
空調装置
3か月前
株式会社ツインバード
送風装置
16日前
株式会社ツインバード
送風装置
16日前
カヤバ株式会社
電動ポンプ
1か月前
ビッグボーン株式会社
送風装置
1か月前
株式会社不二越
蓄圧装置
2か月前
株式会社酉島製作所
ポンプ
3か月前
株式会社ニクニ
液封式ポンプ装置
4か月前
シャープ株式会社
送風装置
5か月前
シャープ株式会社
送風装置
5か月前
個人
携帯型扇風機用の送風ノズル
4か月前
株式会社酉島製作所
ポンプ
4か月前
株式会社ノーリツ
ロータリ圧縮機
1か月前
シャープ株式会社
送風装置
5か月前
株式会社電業社機械製作所
ポンプ
5か月前
株式会社酉島製作所
ポンプ
5か月前
株式会社不二越
油圧ユニット
4か月前
株式会社坂製作所
スクロール圧縮機
3か月前
リンナイ株式会社
羽根車
5か月前
小倉クラッチ株式会社
ルーツブロア
2か月前
サンデン株式会社
スクロール圧縮機
2日前
サンデン株式会社
スクロール圧縮機
2日前
サンデン株式会社
スクロール圧縮機
2日前
株式会社不二越
ベーンポンプ
2か月前
株式会社ノーリツ
ロータリー圧縮機
3か月前
株式会社コスメック
ピストン型ポンプ
4か月前
株式会社アイシン
ポンプケース
9日前
株式会社島津製作所
真空ポンプ
1か月前
株式会社島津製作所
真空ポンプ
16日前
株式会社村田製作所
圧電ポンプ
5か月前
個人
連結式螺旋翼体及び流体移送装置
4か月前
エドワーズ株式会社
真空ポンプ
10日前
続きを見る
他の特許を見る