TOP
|
特許
|
意匠
|
商標
特許ウォッチ
Twitter
他の特許を見る
10個以上の画像は省略されています。
公開番号
2025079132
公報種別
公開特許公報(A)
公開日
2025-05-21
出願番号
2023191606
出願日
2023-11-09
発明の名称
ポンプ
出願人
株式会社酉島製作所
代理人
個人
,
個人
主分類
F04D
29/44 20060101AFI20250514BHJP(液体用容積形機械;液体または圧縮性流体用ポンプ)
要約
【課題】 空気吸込渦の吸込みを抑制する。
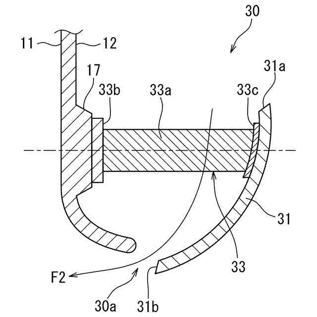
【解決手段】 ポンプ10は、水槽1の底近傍から上向きに延在し、下端に水槽1内の水を吸い込む吸込口11aを有するケーシング11と、吸込口11aの外周側でケーシング11の周方向に沿って延在し、上側且つケーシング11の中心側に開放された樋状の横部材31と、横部材31から上向きに延在し、少なくとも上端部において水の流れ方向の上流側に開放された樋状の縦部材32とを備える。
【選択図】図1
特許請求の範囲
【請求項1】
水槽の底近傍から上向きに延在し、下端に水槽内の水を吸い込む吸込口を有するケーシングと、
前記ケーシングにおける前記吸込口を画定する部分の外周側で前記ケーシングの周方向に沿って延在し、上側且つ前記ケーシングの中心側に開放された樋状の横部材と、
前記横部材から上向きに延在し、少なくとも上端部において前記水の流れ方向の上流側に開放されるように前記ケーシングに取り付けられた樋状の縦部材と、
を備える、ポンプ。
続きを表示(約 260 文字)
【請求項2】
前記縦部材は、下側ほど拡開されている、
請求項1に記載のポンプ。
【請求項3】
前記縦部材の下端は、前記横部材の上端縁と同径の円弧状であり、前記横部材の前記上端縁に固着されている、
請求項1又は2に記載のポンプ。
【請求項4】
前記横部材の前記下端は、前記吸込口よりも下方に位置する、
請求項1又は2に記載のポンプ。
【請求項5】
前記縦部材の上端は、排水可能な最低水位よりも上方に位置する、
請求項1又は2に記載のポンプ。
発明の詳細な説明
【技術分野】
【0001】
本発明は、ポンプに関する。
続きを表示(約 1,300 文字)
【背景技術】
【0002】
特許文献1は、水槽の底近傍から上向きに延在するケーシングを備えた立軸ポンプを開示している。水は、水槽からケーシング下端の吸込口を介してケーシングに流入する。水位が低いと、空気吸込渦が水面から吸込口に向かって発生する。空気吸込渦がケーシングに流入すると、揚水効率の低下を招く。
【0003】
そこで、この立軸ポンプは、吸込口を外囲する半円筒体と、ケーシングの外側に配置された複数の縦棒及び縦リブとを備えている。これらの部材は、空気吸込渦を分流させること又は空気吸込渦そのものを破壊することを期待されている。そのためには、空気吸込渦の発生位置に縦リブ及び縦棒を的確に配置する必要がある。
【先行技術文献】
【特許文献】
【0004】
特許第7339017号公報
【発明の概要】
【発明が解決しようとする課題】
【0005】
しかし、ポンプ場ごとに特有の地勢的条件を主な要因として、水槽の形状は、ポンプ場ごとに大きく異なる。ポンプの製造段階において、新規導入先の水槽内の流れ場を正確に予測し、空気吸込渦の発生位置を正確に特定することは困難である。そのため、期待どおりの作用がもたらされるように縦リブ及び縦棒を適切に配置することは困難である。
【0006】
本発明は、空気吸込渦の吸込みを抑制することを課題とする。
【課題を解決するための手段】
【0007】
本発明の一態様は、水槽の底近傍から上向きに延在し、下端に水槽内の水を吸い込む吸込口を有するケーシングと、前記ケーシングにおける前記吸込口を画定する部分の外周側で前記ケーシングの周方向に沿って延在し、上側且つ前記ケーシングの中心側に開放された樋状の横部材と、前記横部材から上向きに延在し、少なくとも上端部において前記水の流れ方向の上流側に開放された樋状の縦部材と、を備える、ポンプを提供する。
【0008】
上記構成によれば、水槽内の水面における水流が、縦部材で受け止められる。水流は、ポンプの作用により吸込口に引き込まれるようにして、縦部材によって案内されつつ、下に向けられる。水流は、縦部材の下端付近に達すると、上側に開放された横部材で受け止められる。水流は、横部材によって案内され、中心側に向けられる。横部材が吸込口の外周側に配置されていることから、中心側に向けられたこの水流は、吸込口に吸い込まれていく。たとえ空気吸込渦が縦部材の周辺で発生していたとしても、このような水流により吸込口に到達するのを阻害される。したがって、空気吸込渦の吸込みを抑制できる。
【0009】
前記縦部材は、下側ほど拡開されていてもよい。
【0010】
上記構成によれば、水流が縦部材に案内されて下に向けられると同時に、周方向にも向けられる。そのため、空気吸込渦の発生位置が、縦部材の上端の位置から周方向に多少ずれていたとしても、空気吸込渦の吸込みを水流で阻害できる。
(【0011】以降は省略されています)
この特許をJ-PlatPat(特許庁公式サイト)で参照する
関連特許
株式会社酉島製作所
液化ガス昇圧ポンプ
28日前
個人
海流製造装置。
28日前
株式会社スギノマシン
圧縮機
6日前
株式会社ツインバード
送風装置
26日前
株式会社ツインバード
送風装置
26日前
カヤバ株式会社
電動ポンプ
2か月前
ビッグボーン株式会社
送風装置
1か月前
株式会社不二越
蓄圧装置
2か月前
株式会社ノーリツ
ロータリ圧縮機
1か月前
株式会社酉島製作所
ポンプ
3か月前
サンデン株式会社
スクロール圧縮機
12日前
株式会社ノーリツ
ロータリー圧縮機
3か月前
株式会社不二越
ベーンポンプ
2か月前
小倉クラッチ株式会社
ルーツブロア
2か月前
樫山工業株式会社
真空ポンプ
7日前
サンデン株式会社
スクロール圧縮機
12日前
サンデン株式会社
スクロール圧縮機
12日前
株式会社坂製作所
スクロール圧縮機
3か月前
株式会社豊田自動織機
流体機械
1か月前
エドワーズ株式会社
真空ポンプ
20日前
株式会社島津製作所
真空ポンプ
26日前
株式会社チロル
送風機、送風機付衣服
1か月前
株式会社島津製作所
真空ポンプ
1か月前
株式会社アイシン
ポンプケース
19日前
NTN株式会社
電動オイルポンプ
13日前
株式会社豊田自動織機
電動圧縮機
1か月前
株式会社豊田自動織機
電動圧縮機
2か月前
株式会社豊田自動織機
電動圧縮機
3か月前
已久工業股ふん有限公司
空気圧縮機構造
2か月前
株式会社豊田自動織機
電動圧縮機
1か月前
株式会社豊田自動織機
電動圧縮機
1か月前
株式会社ナノバブル研究所
気液駆動装置
20日前
株式会社豊田自動織機
遠心圧縮機
4か月前
株式会社豊田自動織機
電動圧縮機
2か月前
株式会社豊田自動織機
電動圧縮機
1か月前
株式会社豊田自動織機
電動圧縮機
2か月前
続きを見る
他の特許を見る