TOP
|
特許
|
意匠
|
商標
特許ウォッチ
Twitter
他の特許を見る
10個以上の画像は省略されています。
公開番号
2025133489
公報種別
公開特許公報(A)
公開日
2025-09-11
出願番号
2024031476
出願日
2024-03-01
発明の名称
電動ポンプ
出願人
ニデックパワートレインシステムズ株式会社
代理人
個人
,
個人
,
個人
,
個人
主分類
F04C
15/00 20060101AFI20250904BHJP(液体用容積形機械;液体または圧縮性流体用ポンプ)
要約
【課題】固定部分のがたつきを抑制できる電動ポンプを提供する。
【解決手段】ロータ、ステータを収容し、軸方向一方側に開口する第1ハウジングと、基板を収容し、第1ハウジングのハウジング端部を軸方向一方側から覆う第2ハウジングと、環状の拘束部材と、を備える。第1ハウジングは、第1ハウジングの外周面に設けられる被連結部を有する。第2ハウジングは、ハウジング本体と、ハウジング本体に対して軸方向他方側に位置する連結部と、を有する。連結部の弾性片は、径方向に弾性変形可能であり被連結部に径方向外側から連結される。拘束部材は、複数の弾性片を径方向外側から覆うリング状部と、リング状部の軸方向他方側の端部から径方向内側に突出し、連結部の軸方向他方側の第1端部に対して軸方向他方側から突き当たる突出部と、リング状部に設けられ、連結部に対するリング状部の軸方向他方側への移動を制限する移動拘束部と、を有する。
【選択図】図3
特許請求の範囲
【請求項1】
中心軸線を中心として回転可能なロータと、
前記ロータと隙間を介して対向するステータと、
前記ロータ、および前記ステータを収容し、軸方向一方側に開口する第1ハウジングと、
前記ステータに電気的に接続された基板を収容し、前記第1ハウジングの軸方向一方側のハウジング端部を、軸方向一方側から覆う第2ハウジングと、
前記中心軸線周りの周方向に延びる環状の拘束部材と、を備え、
前記第1ハウジングは、前記第1ハウジングの外周面に設けられる被連結部を有し、
前記第2ハウジングは、
ハウジング本体と、
前記ハウジング本体に対して軸方向他方側に位置する連結部と、を有し、
前記連結部は、周方向に並ぶ複数の弾性片を有し、
前記弾性片は、径方向に弾性変形可能であり前記被連結部に径方向外側から連結され、
前記拘束部材は、
複数の前記弾性片を径方向外側から覆うリング状部と、
前記リング状部の軸方向他方側の端部から径方向内側に突出し、前記連結部の軸方向他方側の第1端部に対して軸方向他方側から突き当たる突出部と、
前記リング状部に設けられ、前記連結部に対する前記リング状部の軸方向他方側への移動を制限する移動拘束部と、を有する、
電動ポンプ。
続きを表示(約 410 文字)
【請求項2】
前記連結部は、前記連結部の外周面から径方向内側に窪む凹部を有し、
前記移動拘束部は、前記リング状部の内周面から径方向内側に突出し、前記凹部に挿入されるカシメ突起を有する、
請求項1に記載の電動ポンプ。
【請求項3】
前記凹部は、周方向において前記弾性片と重なる位置に設けられる、
請求項2に記載の電動ポンプ。
【請求項4】
前記連結部は、周方向において隣り合う前記弾性片どうしの間に位置し、前記連結部の前記第1端部から軸方向一方側に延びる切欠きを有し、
前記凹部の少なくとも一部が、軸方向において前記切欠きと重なる位置に設けられる、
請求項2または3に記載の電動ポンプ。
【請求項5】
前記凹部は、前記連結部の軸方向一方側の第2端部において、軸方向一方側に開口する、
請求項2または3に記載の電動ポンプ。
発明の詳細な説明
【技術分野】
【0001】
本発明は、電動ポンプに関する。
続きを表示(約 1,900 文字)
【背景技術】
【0002】
電動機のベースとカバーとを、嵌合によって接続する構成が知られる。例えば、特許文献1には、ベースに設けられた凸部を有するベース側嵌合部と、カバー側に設けられた弾性変形可能な弾性片を有するカバー側嵌合部と、を備える構成が開示されている。この構成において、カバー側嵌合部の弾性片を、ベース側嵌合部の凸部に嵌合する、いわゆるスナップフィット構造により、ベースとカバーとを接続している。
【先行技術文献】
【特許文献】
【0003】
国際公開第2022/224720号
【発明の概要】
【発明が解決しようとする課題】
【0004】
上記のような構成においては、外力が加わった場合や振動等により、弾性片と凸部とのスナップフィット構造の嵌合にがたつきが生じるおそれがある。
【0005】
本発明は、上記事情に鑑みて、固定部分のがたつきを抑制できる電動ポンプを提供することを目的の一つとする。
【課題を解決するための手段】
【0006】
本発明の電動ポンプの一つの態様は、中心軸線を中心として回転可能なロータと、前記ロータと隙間を介して対向するステータと、前記ロータ、および前記ステータを収容し、軸方向一方側に開口する第1ハウジングと、前記ステータに電気的に接続された基板を収容し、前記第1ハウジングの軸方向一方側のハウジング端部を、軸方向一方側から覆う第2ハウジングと、前記中心軸線周りの周方向に延びる環状の拘束部材と、を備える。前記第1ハウジングは、前記第1ハウジングの外周面に設けられる被連結部を有する。前記第2ハウジングは、ハウジング本体と、前記ハウジング本体に対して軸方向他方側に位置する連結部と、を有する。前記連結部は、周方向に並ぶ複数の弾性片を有する。前記弾性片は、径方向に弾性変形可能であり前記被連結部に径方向外側から連結される。前記拘束部材は、複数の前記弾性片を径方向外側から覆うリング状部と、前記リング状部の軸方向他方側の端部から径方向内側に突出し、前記連結部の軸方向他方側の第1端部に対して軸方向他方側から突き当たる突出部と、前記リング状部に設けられ、前記連結部に対する前記リング状部の軸方向他方側への移動を制限する移動拘束部と、を有する。
【発明の効果】
【0007】
本発明の一つの態様によれば、固定部分のがたつきを抑制できる電動ポンプが提供される。
【図面の簡単な説明】
【0008】
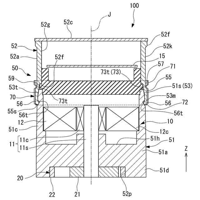
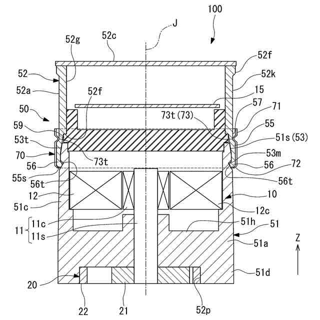
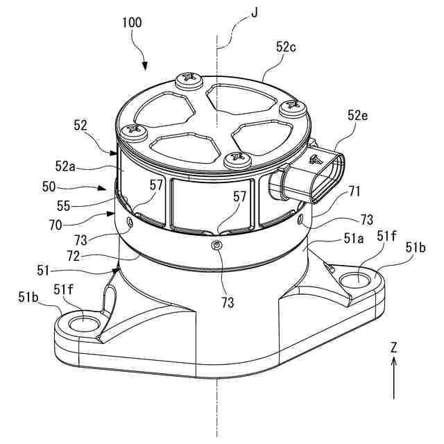
図1は、一実施形態の電動ポンプの正面図である。
図2は、一実施形態の電動ポンプの斜視図である。
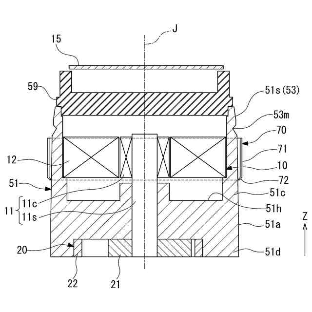
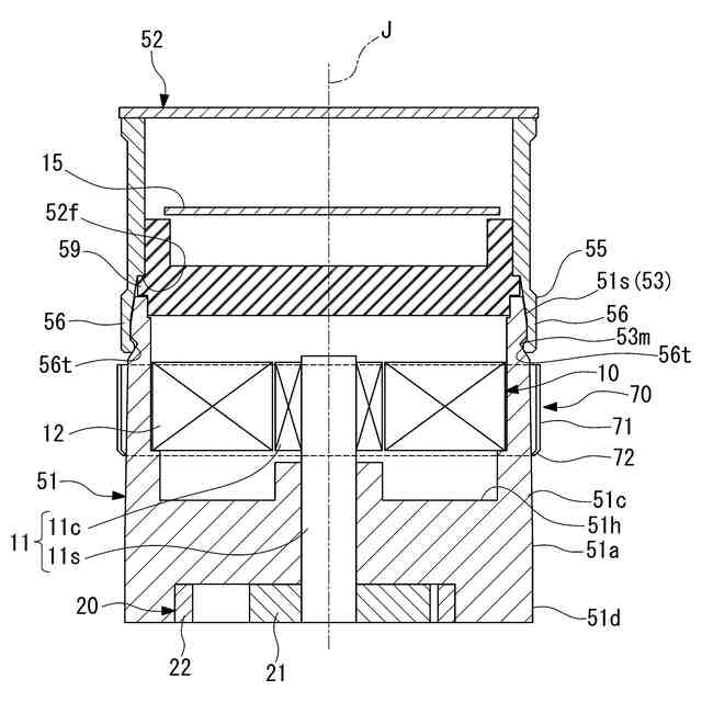
図3は、一実施形態の電動ポンプの中心軸線に沿った断面図である。
図4は、一実施形態の電動ポンプの第1ハウジングを示す斜視図である。
図5は、一実施形態の電動ポンプにおいて、拘束部材を取り外した状態を示す斜視図である。
図6は、一実施形態の電動ポンプの第2ハウジングを示す斜視図である。
図7は、一実施形態の電動ポンプの拘束部材を示す斜視図である。
図8は、一実施形態の電動ポンプを組み立てるに際し、第1ハウジングに、予め拘束部材をセットした状態を示す図である。
図9は、一実施形態の電動ポンプを組み立てるに際し、第1ハウジングの上側に、第2ハウジングを被せた状態を示す図である。
【発明を実施するための形態】
【0009】
図1は、本実施形態の電動ポンプ100の正面図である。図2は、本実施形態の電動ポンプ100の斜視図である。図3は、本実施形態の電動ポンプ100の中心軸線Jに沿った断面図である。
【0010】
各図には、適宜、以下の実施形態の電動ポンプの中心軸線Jを示す。中心軸線Jは、仮想軸線である。以下の説明においては、中心軸線Jが延びる方向、つまり中心軸線Jの軸方向を単に「軸方向」と呼び、中心軸線Jを中心とする径方向を単に「径方向」と呼び、中心軸線Jを中心とする周方向を単に「周方向」と呼ぶ。各図においては、軸方向と平行なZ軸を示す。以下の説明においては、軸方向のうちZ軸の矢印が向く側(+Z側)を「上側」と呼び、軸方向のうちZ軸の矢印が向く側と逆側(-Z側)を「下側」と呼ぶ。以下の実施形態において、上側は「軸方向一方側」に相当し、下側は「軸方向他方側」に相当する。なお、上側および下側とは、単に各部の配置関係等を説明するための名称であり、実際の配置関係等は、これらの名称で示される配置関係等以外の配置関係等であってもよい。
(【0011】以降は省略されています)
この特許をJ-PlatPat(特許庁公式サイト)で参照する
関連特許
個人
圧縮機
5か月前
個人
海流製造装置。
18日前
株式会社ツインバード
送風装置
16日前
ダイニチ工業株式会社
空調装置
3か月前
株式会社ツインバード
送風装置
16日前
カヤバ株式会社
電動ポンプ
1か月前
ビッグボーン株式会社
送風装置
1か月前
株式会社不二越
蓄圧装置
2か月前
シャープ株式会社
送風装置
5か月前
シャープ株式会社
送風装置
5か月前
株式会社ノーリツ
ロータリ圧縮機
1か月前
株式会社酉島製作所
ポンプ
4か月前
株式会社酉島製作所
ポンプ
5か月前
株式会社酉島製作所
ポンプ
3か月前
シャープ株式会社
送風装置
5か月前
株式会社ニクニ
液封式ポンプ装置
4か月前
個人
携帯型扇風機用の送風ノズル
4か月前
小倉クラッチ株式会社
ルーツブロア
2か月前
株式会社不二越
ベーンポンプ
2か月前
株式会社坂製作所
スクロール圧縮機
3か月前
株式会社ノーリツ
ロータリー圧縮機
3か月前
リンナイ株式会社
羽根車
5か月前
サンデン株式会社
スクロール圧縮機
2日前
サンデン株式会社
スクロール圧縮機
2日前
サンデン株式会社
スクロール圧縮機
2日前
株式会社不二越
油圧ユニット
4か月前
株式会社村田製作所
圧電ポンプ
5か月前
株式会社島津製作所
真空ポンプ
1か月前
株式会社アイシン
ポンプケース
9日前
株式会社コスメック
ピストン型ポンプ
4か月前
株式会社豊田自動織機
流体機械
1か月前
株式会社チロル
送風機、送風機付衣服
1か月前
エドワーズ株式会社
真空ポンプ
10日前
株式会社島津製作所
真空ポンプ
16日前
個人
連結式螺旋翼体及び流体移送装置
4か月前
株式会社ナノバブル研究所
気液駆動装置
10日前
続きを見る
他の特許を見る