TOP
|
特許
|
意匠
|
商標
特許ウォッチ
Twitter
他の特許を見る
公開番号
2025133711
公報種別
公開特許公報(A)
公開日
2025-09-11
出願番号
2025028640
出願日
2025-02-26
発明の名称
加工方法及び加工装置
出願人
国立大学法人 熊本大学
代理人
個人
,
個人
,
個人
主分類
B24B
9/16 20060101AFI20250904BHJP(研削;研磨)
要約
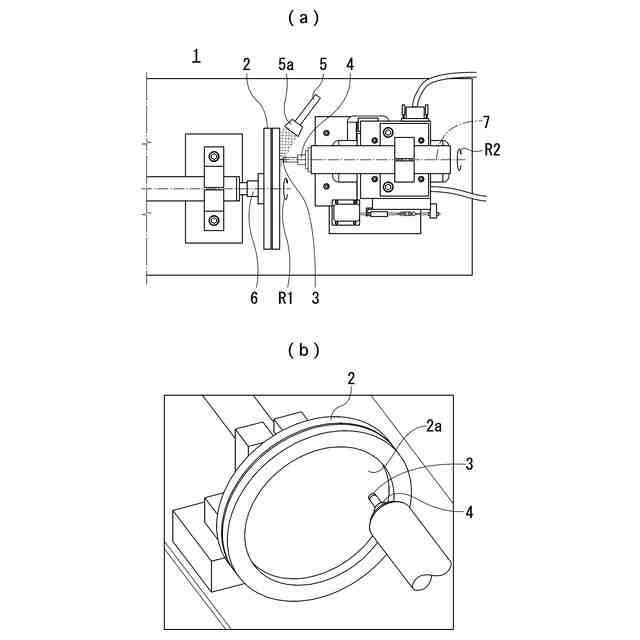
【課題】単結晶ダイヤモンド基板を加工するドライ研磨にて、高能率な加工を実現可能な加工方法及び加工装置を提供する。
【解決手段】本発明の加工方法は、単結晶ダイヤモンド基板3を固定して、合成石英定盤2のみを回転させ、単結晶ダイヤモンド基板3の研磨レートの高い方向に合成石英定盤2を相対運動させる第1の工程と、単結晶ダイヤモンド基板3と合成石英定盤2のそれぞれを回転させて相対運動させる第2の工程を有する。また、第1の工程及び第2の工程ではいずれも、単結晶ダイヤモンド基板3と、合成石英定盤2は接触した状態であり、かつ、接触部位に窒素ガス供給部5から窒素ガスが供給される。
【選択図】図1
特許請求の範囲
【請求項1】
絶縁性材料で構成された加工部材と、単結晶ダイヤモンドで構成された被加工物の接触部位に窒素ガスを供給すると共に、前記被加工物は固定し、前記加工部材を同被加工物に接触させた状態で、同加工部材を同被加工物の研磨レートの高い方向に相対的に変位させる第1の工程と、
前記第1の工程の後、前記加工部材と前記被加工物の接触部位に窒素ガスを供給すると共に、前記加工部材を前記被加工物に接触させた状態で、同加工部材と同被加工物の両方を相対的に変位させる第2の工程を備える
加工方法。
続きを表示(約 1,400 文字)
【請求項2】
前記第1の工程では、前記被加工物の被加工面に、前記加工部材の加工面における凹凸状態が転写され、
前記第2の工程では、前記被加工面に転写された凹凸及び前記加工面における凹凸の低減が進行し、前記被加工面が平滑化する
請求項1に記載の加工方法。
【請求項3】
前記第1の工程の処理と前記第2の工程の処理の組み合わせを複数回行う
請求項1または請求項2に記載の加工方法。
【請求項4】
前記第1の工程及び前記第2の工程を経た前記被加工物に対する、次の前記第1の工程の処理では、前記被加工面に、1つ前の前記第2の工程で低減された前記加工面における凹凸状態が転写され、
次の前記第1の工程の処理に続けて行う、前記第2の工程の処理では、前記被加工面に転写された凹凸及び前記加工面における凹凸の低減が進行し、前記被加工面が平滑化する
請求項3に記載の加工方法。
【請求項5】
前記第1の工程は、励起窒素種の生成及び前記被加工物の被加工面の摩耗が促進されるように、前記加工部材を前記相対的に変位させる速度を上昇させる
請求項1または請求項2に記載の加工方法。
【請求項6】
前記第1の工程は、励起窒素種の生成及び前記被加工物の被加工面の摩耗が促進されるように、前記加工部材を前記被加工物に接触させる荷重を増加させる
請求項1または請求項2に記載の加工方法。
【請求項7】
前記第2の工程は、前記加工部材を、前記被加工物と接触させたまま、接触部位に窒素ガスを供給する
請求項1または請求項2に記載の加工方法。
【請求項8】
前記第2の工程は、前記加工部材を、前記被加工物と再び接触させて、接触部位に窒素ガスを供給する
請求項1または請求項2に記載の加工方法。
【請求項9】
前記加工部材は、合成石英、サファイア、セラミックス、ガラス、単結晶ダイヤモンド、多結晶ダイヤモンド、ダイヤモンドライクカーボン(DLC)膜のうちいずれか1つからなる
請求項1また請求項2に記載の加工方法。
【請求項10】
絶縁性材料で構成された加工部材と、
単結晶ダイヤモンドで構成された被加工物を前記加工部材と接触可能に保持する保持機構と、
前記加工部材及び前記被加工物との接触部位に窒素ガスを供給する窒素ガス供給部と、
前記加工部材と前記被加工物を接触させた状態で、前記加工部材及び前記被加工物の少なくとも一方を相対的に変位させる駆動部と、
前記窒素ガス供給部及び前記駆動部を制御して、
前記加工部材と前記被加工物の接触部位に窒素ガスを供給すると共に、前記被加工物は固定し、前記加工部材を同被加工物に接触させた状態で、同加工部材を同被加工物に対して、一定の方向に相対的に変位させる第1の制御と、
前記加工部材を、前記被加工物と接触させ、接触部位に窒素ガスを供給すると共に、前記加工部材を前記被加工物に接触させた状態で、同加工部材と同被加工物の両方を相対的に変位させる第2の制御を行う制御部とを備える
加工装置。
(【請求項11】以降は省略されています)
発明の詳細な説明
【技術分野】
【0001】
本発明は加工方法及び加工装置に関する。詳しくは、単結晶ダイヤモンド基板を加工するドライ研磨にて、高能率な加工を実現可能な加工方法及び加工装置に係るものである。
続きを表示(約 1,100 文字)
【背景技術】
【0002】
ダイヤモンドは、5.4eVという広いバンドギャップを持ち、熱伝導率が大きく、絶縁破壊電界や電荷移動度などに優れていることから、次世代パワー半導体デバイス用材料として有力視されている。
【0003】
ダイヤモンドを用いて半導体デバイスを製作するためには、デバイスの下地となる単結晶ダイヤモンド基板の表面を原子レベルで平滑、かつ無擾乱に仕上げる加工技術が必要不可欠であるといわれている。しかしながら、単結晶ダイヤモンド基板は、高硬度かつ化学的に安定であるために、加工することは極めて難しく、加工技術の開発が技術的課題となっている。
【0004】
例えば、従来の加工方法として、化学機械研磨などの砥粒を用いた研磨により化学的除去を行う加工が知られている。しかしながら、研磨剤中での化学反応を利用するため除去速度が遅く、加工能率が不充分である問題があった。
【0005】
ここで、上述した溶液環境下での研磨に対して、砥粒を使用せずに加工能率の向上を試みた大気環境下での加工方法が存在する。
【0006】
例えば、本願の発明者によって、無機酸化物で構成された研磨定盤に紫外光やプラズマを照射して、定盤表面上のケミカルコンタミネーション(有機汚染物物)を除去するとともに、定盤表面を親水化させる(最表面部にOH基を表出させる)加工方法が提案されている(例えば、特許文献1参照)。
【0007】
また、本願の発明者によって、紫外光やプラズマを用いるかわりに、窒素ガスを援用して、被加工物と加工部材の接触部位に供給することで、加工能率を高める加工方法が提案されている(例えば、特許文献2参照)。
【先行技術文献】
【特許文献】
【0008】
国際公開第2014/034921号
特開2021-000683号公報
【発明の概要】
【発明が解決しようとする課題】
【0009】
しかしながら、特許文献1及び特許文献2に記載の加工方法では、従来の手法で数nm/hの加工能率であったものを、数μm/hにまで増加させることができるが、ダイヤモンド半導体を実用化するには、さらなる加工能率の向上が求められている。
【0010】
本発明は以上の点に鑑みて創案されたものであって、単結晶ダイヤモンド基板を加工するドライ研磨にて、高能率な加工を実現可能な加工方法及び加工装置を提供することを目的とするものである。
【課題を解決するための手段】
(【0011】以降は省略されています)
特許ウォッチbot のツイートを見る
この特許をJ-PlatPat(特許庁公式サイト)で参照する
関連特許
国立大学法人 熊本大学
加工方法及び加工装置
21日前
国立大学法人 熊本大学
塑性加工金属の製造方法
22日前
国立大学法人 東京大学
推定装置、及びプログラム
14日前
国立大学法人 熊本大学
Staple核酸の新規用途
4か月前
国立大学法人 熊本大学
TRPC6の発現を抑制する方法
7か月前
国立大学法人 熊本大学
非アルコール性脂肪性肝疾患治療薬
9か月前
JSCテクノロジー株式会社
冷却装置
7か月前
国立大学法人 熊本大学
チップ型耐熱音響センサ及びその製造方法
4か月前
アンリツ株式会社
光てこ感度の決定方法
6か月前
国立大学法人 熊本大学
クリック反応素子AOCN誘導体又はその塩
21日前
国立大学法人 熊本大学
高機能性モルタル組成物及びモルタル硬化体
8か月前
国立大学法人 熊本大学
パルス電流発生装置及びパルス電流発生方法
1か月前
国立大学法人 熊本大学
プログラマブル論理回路装置及びその構成方法
7か月前
国立大学法人 熊本大学
メタボリックメモリーの評価方法及び評価システム
5か月前
本田技研工業株式会社
正極集電体と正極合材の剥離装置
今日
国立大学法人 熊本大学
情報処理方法、情報処理装置、機械学習モデルの作成方法
1か月前
国立大学法人 熊本大学
音響センサの取り付け部材及び音響センサの取り付け方法
5か月前
国立大学法人 熊本大学
カイコを用いた糖代謝異常処置剤の評価方法およびその応用
3か月前
国立大学法人 熊本大学
パルス発生回路、基板処理装置、およびエネルギー回生方法
6か月前
大陽日酸株式会社
多孔性金属錯体含有膜及びその製造方法
3か月前
国立大学法人 熊本大学
カイコを用いた脂質代謝異常処置剤の評価方法およびその応用
3か月前
国立大学法人 熊本大学
生体振動情報モニタリング方法及び生体振動情報モニタリング装置
5か月前
国立大学法人 熊本大学
ステント及びその製造方法
6か月前
国立大学法人 熊本大学
固体電解質型ガスセンサ素子及びその製造方法、並びに固体電解質型ガスセンサ
13日前
三菱電機エンジニアリング株式会社
推論モデル生成装置及び推論モデル生成方法
8か月前
国立大学法人 熊本大学
抗原ペプチド、核酸、ベクター、HLA/抗原ペプチド複合体、検出試薬、医薬組成物
5か月前
国立研究開発法人産業技術総合研究所
二次元材料を含むトランジスタとその製造方法
5か月前
国立大学法人 熊本大学
極小ナノ粒子および極小ナノ粒子溶液
1か月前
積水化学工業株式会社
黒色フィルム用組成物、黒色フィルム及び黒色フィルムの製造方法
1か月前
三菱電機エンジニアリング株式会社
ニューラルネットワーク作成装置およびニューラルネットワーク作成方法
7か月前
国立大学法人 熊本大学
GM1ガングリオシドーシス予防剤又は治療剤、及びGM1ガングリオシドーシス予防用又は治療用組成物
8か月前
個人
包丁研ぎ器具
2か月前
個人
研磨体
3か月前
株式会社サンポー
ブラスト装置
4か月前
株式会社クボタ
管研削装置
2か月前
株式会社村田製作所
切削装置
3か月前
続きを見る
他の特許を見る