TOP
|
特許
|
意匠
|
商標
特許ウォッチ
Twitter
他の特許を見る
10個以上の画像は省略されています。
公開番号
2025133992
公報種別
公開特許公報(A)
公開日
2025-09-11
出願番号
2025119194,2023516869
出願日
2025-07-15,2021-04-26
発明の名称
モータポンプ
出願人
株式会社荏原製作所
代理人
個人
,
個人
,
個人
主分類
F04D
13/06 20060101AFI20250904BHJP(液体用容積形機械;液体または圧縮性流体用ポンプ)
要約
【課題】需要の期待に応える特徴を有するモータポンプが提供される。
【解決手段】モータポンプは、羽根車と、ポンプケーシングと、モータケーシングと、を備える。羽根車は、永久磁石を収容する磁石収容部と、磁石収容部の開口端を閉じる側板と、側板に接続された主板と、を備えている。
【選択図】図5
特許請求の範囲
【請求項1】
永久磁石を収容する羽根車と、
前記羽根車を収容するポンプケーシングと、
モータ固定子を収容するモータケーシングと、を備え、
前記羽根車は、
前記永久磁石を収容する磁石収容部と、
前記磁石収容部の開口端を閉じる側板と、
前記側板に接続された主板と、を備えている、モータポンプ。
続きを表示(約 370 文字)
【請求項2】
前記側板は、前記磁石収容部に超音波溶着される側板側溶着部を有しており、
前記主板は、前記側板に超音波溶着される主板側溶着部を有している、請求項1に記載のモータポンプ。
【請求項3】
永久磁石を収容する羽根車と、
前記羽根車を収容するポンプケーシングと、
モータ固定子を収容するモータケーシングと、
前記羽根車を回転自在に支持する軸受と、を備えており、
前記軸受は、前記羽根車に固定された回転側軸受体の側面に対向して配置された傾斜面を有する固定側軸受体を備えている、モータポンプ。
【請求項4】
前記傾斜面は、前記羽根車のスラスト荷重を支持するスラスト面であり、前記回転側軸受体の側面に向かって、窄むテーパー形状を有している、請求項3に記載のモータポンプ。
発明の詳細な説明
【技術分野】
【0001】
本発明は、モータポンプに関する。
続きを表示(約 1,200 文字)
【背景技術】
【0002】
カップリングによって連結されたモータおよびポンプを備えるポンプ装置が知られている。このようなポンプ装置は、カップリングを介して、モータの駆動力をポンプの羽根車に伝達する構造を有している。
【先行技術文献】
【特許文献】
【0003】
特開2011-106323号公報
特開2016-169734号公報
特開2019-143521号公報
【発明の概要】
【発明が解決しようとする課題】
【0004】
しかしながら、このようなポンプ装置では、ポンプおよびモータは、並んで配置されるため、設置面積が大きくなってしまう。その一方で、近年、コンパクト化の需要が高まっており、結果として、ポンプおよびモータの一体構造に対する要求も高まっている。さらに、低コスト、省エネルギーで、かつ安定的な運転が可能なポンプ装置の需要も高まっている。
【0005】
そこで、本発明は、需要の期待に応える特徴を有するモータポンプを提供することを目的とする。
【課題を解決するための手段】
【0006】
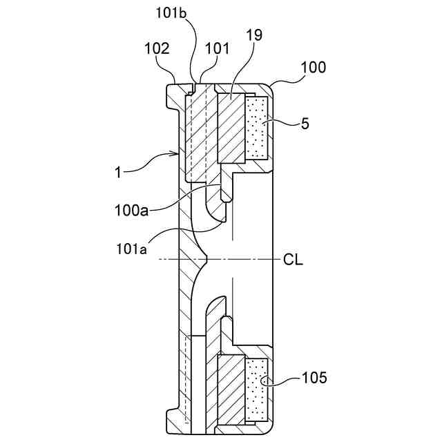
一態様では、永久磁石を収容する羽根車と、前記羽根車を収容するポンプケーシングと、モータ固定子を収容するモータケーシングと、を備えるモータポンプが提供される。前記羽根車は、前記永久磁石を収容する磁石収容部と、前記磁石収容部の開口端を閉じる側板と、前記側板に接続された主板と、を備えている。
【0007】
一態様では、前記側板は、前記磁石収容部に超音波溶着される側板側溶着部を有しており、前記主板は、前記側板に超音波溶着される主板側溶着部を有している。
【0008】
一態様では、永久磁石を収容する羽根車と、前記羽根車を収容するポンプケーシングと、モータ固定子を収容するモータケーシングと、前記羽根車を回転自在に支持する軸受と、を備えており、前記軸受は、前記羽根車に固定された回転側軸受体の側面に対向して配置された傾斜面を有する固定側軸受体を備えている、モータポンプが提供される。
【0009】
一態様では、前記傾斜面は、前記羽根車のスラスト荷重を支持するスラスト面であり、前記回転側軸受体の側面に向かって、窄むテーパー形状を有している。
【0010】
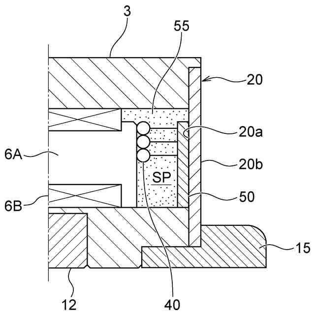
一態様では、永久磁石を収容する羽根車と、前記羽根車を収容するポンプケーシングと、複数の固定子コイルを有するモータ固定子と、前記モータ固定子を収容するモータケーシングと、前記モータケーシング内に形成された収容空間を閉じる放熱部材と、前記複数の固定子コイルに接続され、かつ前記収容空間に配置された基板と、を備えている、モータポンプが提供される。
(【0011】以降は省略されています)
この特許をJ-PlatPat(特許庁公式サイト)で参照する
関連特許
株式会社荏原製作所
給水装置
1か月前
株式会社荏原製作所
養殖装置
1か月前
株式会社荏原製作所
モータポンプ
20日前
株式会社荏原製作所
モータポンプ
20日前
株式会社荏原製作所
温度制御システム
29日前
株式会社荏原製作所
温度制御システム
12日前
株式会社荏原製作所
ポンプおよびポンプ装置
12日前
株式会社荏原製作所
ポンプおよびポンプ装置
12日前
株式会社荏原製作所
研磨装置および研磨方法
13日前
株式会社荏原製作所
磁気軸受装置および圧縮機
1か月前
株式会社荏原製作所
回転機器の監視補助システム
23日前
株式会社荏原製作所
給水装置、及び、給水システム
1か月前
株式会社荏原製作所
基板処理装置および基板処理方法
1か月前
株式会社荏原製作所
中間ユニットを備えた基板処理システム
12日前
株式会社荏原製作所
研磨ヘッド、研磨装置、および研磨方法
12日前
株式会社荏原製作所
研磨装置、研磨方法、および研磨ヘッド
12日前
株式会社荏原製作所
洗浄装置、洗浄装置を備えるめっき装置、洗浄方法
23日前
株式会社荏原製作所
粘着テープの切断方法、および粘着テープの切断装置
1か月前
株式会社荏原製作所
情報処理システム、情報処理方法、情報処理プラグラム
14日前
株式会社荏原製作所
動画取得支援装置、動画取得支援方法、及び、プログラム
1か月前
株式会社荏原製作所
養殖装置
1か月前
株式会社荏原製作所
モータポンプ
20日前
株式会社荏原製作所
モータポンプ
20日前
株式会社荏原製作所
Fe基合金、及び耐腐食摩耗性及び耐摩耗性のFe基合金皮膜
1か月前
株式会社荏原製作所
基板研磨装置、基板処理装置、基板研磨方法、およびプログラム
12日前
株式会社荏原製作所
基板吸着部材、トップリング、基板処理装置、および基板吸着部材の製造方法
1か月前
株式会社荏原製作所
基板洗浄装置、基板処理装置、基板洗浄方法、洗浄具の洗浄方法、基板洗浄プログラムおよび洗浄具の洗浄プログラム
14日前
株式会社荏原製作所
データ処理システム、運転状態の評価方法、運転状態評価システム、データ収集装置、運転状態の評価方法、運転状態評価システム、プログラム提供方法、メンテナンス計画方法、メンテナンス計画の提供方法及び課金方法
1か月前
個人
圧縮機
5か月前
個人
海流製造装置。
14日前
ダイニチ工業株式会社
空調装置
3か月前
株式会社ツインバード
送風装置
12日前
個人
扇風機取り付け風力分散機
6か月前
株式会社ツインバード
送風装置
12日前
カヤバ株式会社
電動ポンプ
1か月前
株式会社不二越
蓄圧装置
2か月前
続きを見る
他の特許を見る