TOP
|
特許
|
意匠
|
商標
特許ウォッチ
Twitter
他の特許を見る
10個以上の画像は省略されています。
公開番号
2025136876
公報種別
公開特許公報(A)
公開日
2025-09-19
出願番号
2024035791
出願日
2024-03-08
発明の名称
温度制御システム
出願人
株式会社荏原製作所
,
CKD株式会社
代理人
個人
,
個人
,
個人
主分類
H01L
21/3065 20060101AFI20250911BHJP(基本的電気素子)
要約
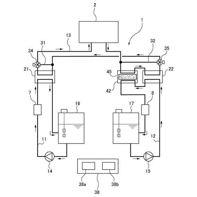
【課題】冷却用の第1熱媒体および加熱用の第2熱媒体と熱交換する第3熱媒体の使用量を従来よりも低減させることができる温度制御システムを提供する。
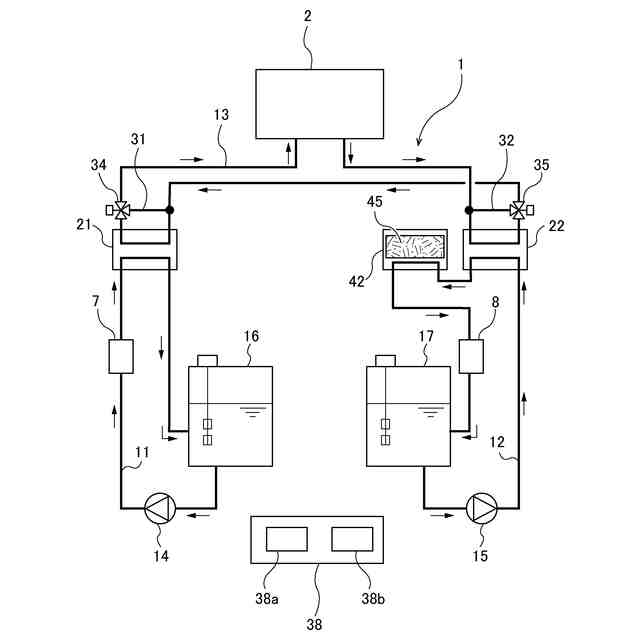
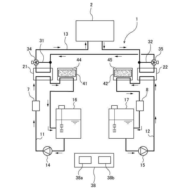
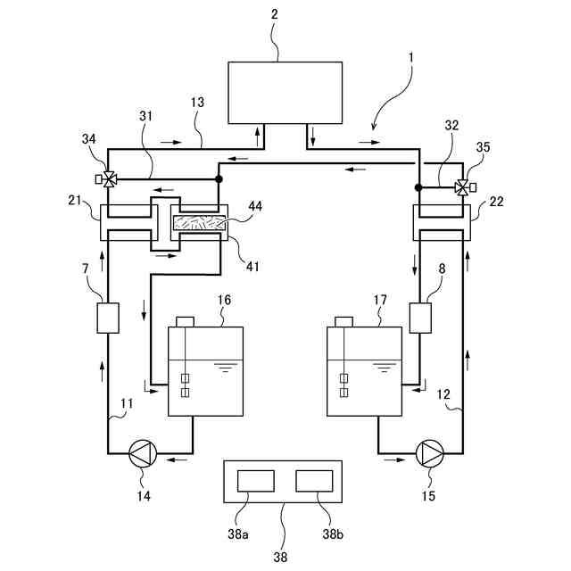
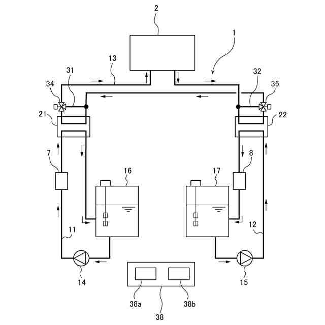
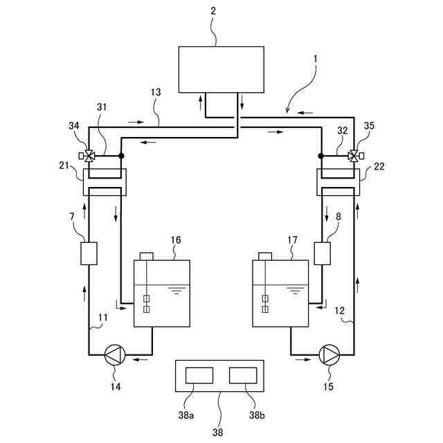
【解決手段】温度制御システム1は、第1熱媒体が循環する第1循環回路11と、第2熱媒体が循環する第2循環回路12と、第3熱媒体が循環する第3循環回路13と、第1循環回路11を流れる第1熱媒体を冷却する冷却装置7と、第2循環回路12を流れる第2熱媒体を加熱する加熱装置8と、第1熱媒体と第3熱媒体との間で熱交換を行う第1熱交換器21と、第2熱媒体と第3熱媒体との間で熱交換を行う第2熱交換器22を備える。第1熱交換器21と第2熱交換器22は、第3循環回路13によって直列に連結されている。
【選択図】図1
特許請求の範囲
【請求項1】
半導体製造装置の温度を調節するための温度制御システムであって、
第1熱媒体が循環する第1循環回路と、
前記第1循環回路から独立しており、第2熱媒体が循環する第2循環回路と、
前記第1循環回路および前記第2循環回路から独立しており、第3熱媒体が循環する第3循環回路と、
前記第1循環回路を流れる前記第1熱媒体を冷却する冷却装置と、
前記第2循環回路を流れる前記第2熱媒体を加熱する加熱装置と、
前記冷却装置によって冷却された前記第1熱媒体と前記第3熱媒体との間で熱交換を行う第1熱交換器と、
前記加熱装置によって加熱された前記第2熱媒体と前記第3熱媒体との間で熱交換を行う第2熱交換器と、
前記第3循環回路に接続され、前記第1熱交換器をバイパスする第1バイパスラインと、
前記第3循環回路に接続され、前記第2熱交換器をバイパスする第2バイパスラインを備え、
前記第1熱交換器と前記第2熱交換器は、前記第3循環回路によって直列に連結されている、温度制御システム。
続きを表示(約 1,100 文字)
【請求項2】
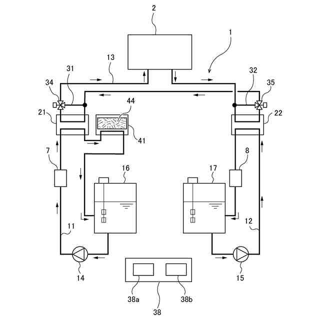
前記温度制御システムは、前記第1熱媒体の熱エネルギーを蓄える第1蓄熱材を有する第1蓄熱部をさらに備えており、
前記第1蓄熱部は、前記第1循環回路に接続されており、かつ前記第1熱媒体の流れ方向において前記第1熱交換器の下流に配置されている、請求項1に記載の温度制御システム。
【請求項3】
前記第1蓄熱部は、前記第1循環回路および前記第3循環回路に接続されており、
前記第1蓄熱部は、前記第1熱媒体の流れ方向において前記第1熱交換器の下流に配置され、かつ前記第3熱媒体の流れ方向において前記第1熱交換器の上流に配置されており、
前記第1蓄熱部は、前記第1熱交換器に送られる前の前記第3熱媒体と、前記第1蓄熱材との間で熱交換を行うように構成されている、請求項2に記載の温度制御システム。
【請求項4】
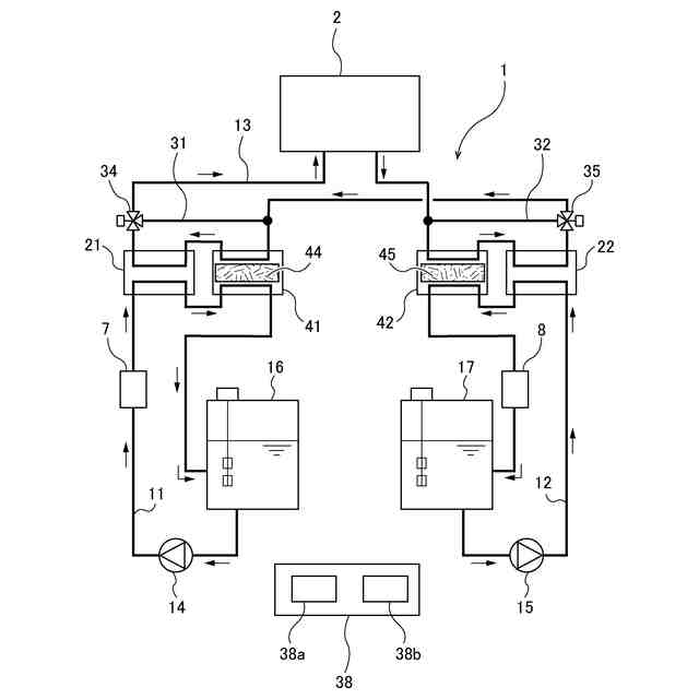
前記温度制御システムは、前記第2熱媒体の熱エネルギーを蓄える第2蓄熱材を有する第2蓄熱部をさらに備えており、
前記第2蓄熱部は、前記第2循環回路に接続されており、かつ前記第2熱媒体の流れ方向において前記第2熱交換器の下流に配置されている、請求項1に記載の温度制御システム。
【請求項5】
前記第2蓄熱部は、前記第2循環回路および前記第3循環回路に接続されており、
前記第2蓄熱部は、前記第2熱媒体の流れ方向において前記第2熱交換器の下流に配置され、かつ前記第3熱媒体の流れ方向において前記第2熱交換器の上流に配置されており、
前記第2蓄熱部は、前記第2熱交換器に送られる前の前記第3熱媒体と、前記第2蓄熱材との間で熱交換を行うように構成されている、請求項4に記載の温度制御システム。
【請求項6】
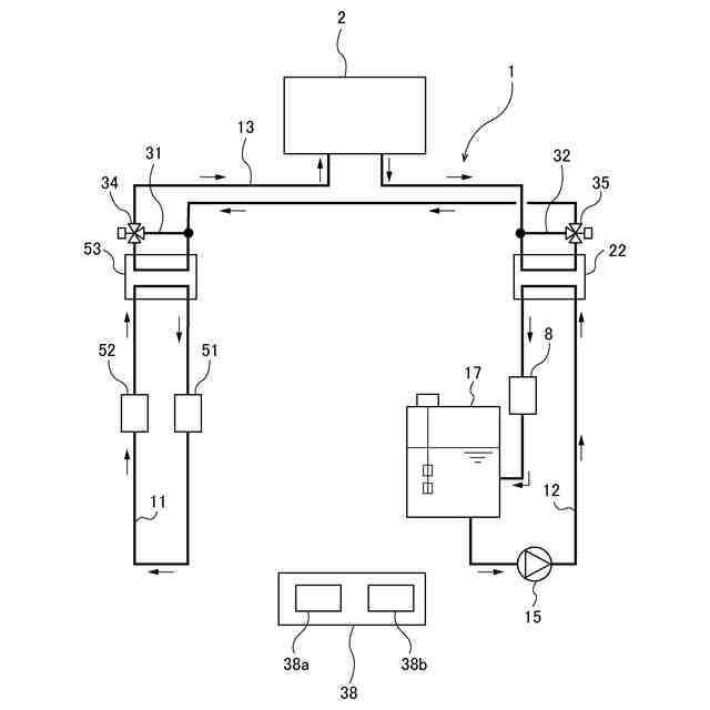
前記第1熱交換器および前記第2熱交換器は、複数の第1熱交換器および複数の第2熱交換器であり、
前記複数の第1熱交換器は、前記第1循環回路によって並列に接続され、
前記複数の第2熱交換器は、前記第2循環回路によって並列に接続され、
前記第3循環回路は、複数の第3循環回路であり、
前記複数の第1熱交換器および前記複数の第2熱交換器は、複数組の第1熱交換器および第2熱交換器を構成し、
前記複数組の第1熱交換器および第2熱交換器は、前記複数の第3循環回路にそれぞれに接続されており、
前記第1バイパスラインは、前記複数の第1熱交換器をバイパスする複数の第1バイパスラインであり、
前記第2バイパスラインは、前記複数の第2熱交換器をバイパスする複数の第2バイパスラインである、請求項1に記載の温度制御システム。
発明の詳細な説明
【技術分野】
【0001】
本発明は、エッチング装置、CVD装置、PVD装置などの半導体製造装置に使用される熱媒体の温度を制御する温度制御システムに関する。
続きを表示(約 1,800 文字)
【背景技術】
【0002】
半導体デバイスを製造するための半導体製造装置(例えばエッチング装置、CVD装置、PVD装置)は、処理温度を制御しながら製造プロセスを実行するように構成される。例えば、エッチング装置では、ウェーハを支持するサセプタ内に形成された流路に、温度調節された熱媒体としての液体を流すことで、ウェーハの処理温度を調節する。
【0003】
半導体製造装置に供給される熱媒体は、冷却装置および加熱装置により予め冷却および加熱される。冷却された熱媒体と加熱された熱媒体は、混合されることで、温度調節された熱媒体が生成される。温度調節された熱媒体は、半導体製造装置を通過することで、半導体製造装置内のウェーハの処理温度を調節する。
【0004】
しかしながら、冷却された熱媒体と加熱された熱媒体を混合して必要な温度の熱媒体を作るため、以下の問題がある。
1.冷却装置で冷却される熱媒体、加熱装置で加熱される熱媒体、および半導体製造装置に供給される熱媒体には、同じ熱媒体を使用する必要があるため、低温域から高温域まで安定して使用可能な熱媒体の量が多い。このような使用可能な温度範囲が広い熱媒体は、非常に高価である。
2.冷却側の熱媒体と加熱側の熱媒体の量のバランスが崩れるため、冷却系統と加熱系統との間で熱媒体の量の調整が必要になる。
【0005】
そこで、このような問題を解決するために、図11に示すように、冷却用の第1熱媒体が循環する第1循環回路301と、加熱用の第2熱媒体が循環する第2循環回路302と、半導体製造装置200に供給される第3熱媒体が循環する第3循環回路303と、第1熱媒体と第3熱媒体との間で熱交換を行う第1熱交換器305と、第2熱媒体と第3熱媒体との間で熱交換を行う第2熱交換器306を備えた温度制御システムが提案されている。
【0006】
温度制御システムは、第1循環回路301を流れる第1熱媒体を冷却する冷却装置307と、第2循環回路302を流れる第2熱媒体を加熱する加熱装置308と、第1熱媒体を保持する第1バッファタンク311と、第2熱媒体を保持する第2バッファタンク312を備えている。第3循環回路303は、半導体製造装置200に連結されており、第3熱媒体は、第3循環回路303および半導体製造装置200を通って循環する。半導体製造装置200内の処理温度は、第3熱媒体によって調節される。第3熱媒体の温度は、第1熱交換器305および第2熱交換器306内で第1熱媒体および第2熱媒体により調節される。
【0007】
この温度制御システムによれば、第1熱交換器305と第2熱交換器306を設けることで、第1循環回路301、第2循環回路302、および第3循環回路303を独立した閉回路とすることができる。したがって、使用可能な温度範囲が広い第3熱媒体として、第1熱媒体および第2熱媒体とは異なる熱媒体を使用することができ、結果として第3熱媒体の使用量を低減することができる。
【先行技術文献】
【特許文献】
【0008】
特開2021-77086号公報
【発明の概要】
【発明が解決しようとする課題】
【0009】
しかしながら、図11に示す温度制御システムでは、第1熱媒体と第3熱媒体との間で熱交換を行う第1熱交換器305と、第2熱媒体と第3熱媒体との間で熱交換を行う第2熱交換器306は、並列に配列される。このため、これら2つの熱交換器305,306を連結するために必要な第3循環回路303が長くなり、結果として、第3循環回路303内を循環する第3熱媒体の使用量を低減させるのには限界があった。また、第3循環回路303には断熱施工がされるため、配管の径に比べて必要な設置スペースが大きくなる。さらに、並列配置では、第1熱交換器305および第2熱交換器306を通過した第3熱媒体の逆流を防止するための逆止弁314,315が必要となる。結果として、温度制御システムのコストが増加するという課題があった。
【0010】
そこで、本発明は、冷却用の第1熱媒体および加熱用の第2熱媒体と熱交換する第3熱媒体の使用量を従来よりも低減させることができる温度制御システムを提供する。
【課題を解決するための手段】
(【0011】以降は省略されています)
この特許をJ-PlatPat(特許庁公式サイト)で参照する
関連特許
株式会社荏原製作所
モータポンプ
20日前
株式会社荏原製作所
モータポンプ
20日前
株式会社荏原製作所
温度制御システム
29日前
株式会社荏原製作所
温度制御システム
12日前
株式会社荏原製作所
ポンプおよびポンプ装置
12日前
株式会社荏原製作所
ポンプおよびポンプ装置
12日前
株式会社荏原製作所
研磨装置および研磨方法
13日前
株式会社荏原製作所
回転機器の監視補助システム
23日前
株式会社荏原製作所
研磨装置、研磨方法、および研磨ヘッド
12日前
株式会社荏原製作所
研磨ヘッド、研磨装置、および研磨方法
12日前
株式会社荏原製作所
中間ユニットを備えた基板処理システム
12日前
株式会社荏原製作所
洗浄装置、洗浄装置を備えるめっき装置、洗浄方法
23日前
株式会社荏原製作所
粘着テープの切断方法、および粘着テープの切断装置
1か月前
株式会社荏原製作所
情報処理システム、情報処理方法、情報処理プラグラム
14日前
株式会社荏原製作所
モータポンプ
20日前
株式会社荏原製作所
モータポンプ
20日前
株式会社荏原製作所
基板研磨装置、基板処理装置、基板研磨方法、およびプログラム
12日前
株式会社荏原製作所
基板洗浄装置、基板処理装置、基板洗浄方法、洗浄具の洗浄方法、基板洗浄プログラムおよび洗浄具の洗浄プログラム
14日前
個人
安全なNAS電池
26日前
日機装株式会社
加圧装置
1か月前
日本発條株式会社
積層体
2日前
個人
フリー型プラグ安全カバー
1か月前
東レ株式会社
多孔質炭素シート
21日前
キヤノン株式会社
電子機器
21日前
ローム株式会社
半導体装置
21日前
個人
防雪防塵カバー
2日前
エイブリック株式会社
半導体装置
23日前
エイブリック株式会社
半導体装置
23日前
ローム株式会社
半導体装置
今日
ローム株式会社
半導体装置
今日
ローム株式会社
半導体装置
1か月前
ローム株式会社
半導体装置
今日
株式会社GSユアサ
蓄電装置
1か月前
個人
半導体パッケージ用ガラス基板
1日前
ニチコン株式会社
コンデンサ
14日前
株式会社GSユアサ
蓄電装置
29日前
続きを見る
他の特許を見る