TOP
|
特許
|
意匠
|
商標
特許ウォッチ
Twitter
他の特許を見る
公開番号
2025136255
公報種別
公開特許公報(A)
公開日
2025-09-19
出願番号
2024034599
出願日
2024-03-07
発明の名称
中間ユニットを備えた基板処理システム
出願人
株式会社荏原製作所
代理人
個人
,
個人
,
個人
主分類
H01L
21/304 20060101AFI20250911BHJP(基本的電気素子)
要約
【課題】種々の処理モジュールを組み合わせることを可能とすることで、拡張性を向上させることができる基板処理システムを提供する。
【解決手段】基板処理システムは、基板Wを処理するように構成された複数の処理モジュール11,12と、複数の処理モジュール11,12の間に配置された中間ユニット20を備える。中間ユニット20は、基板Wを洗浄する洗浄モジュール71,72と、基板Wが一時的に置かれる基板ステーション75を備えている。洗浄モジュール71,72および基板ステーション75は、鉛直方向に沿って配列されている。
【選択図】図8
特許請求の範囲
【請求項1】
基板を処理するための基板処理システムであって、
前記基板を処理するように構成された複数の処理モジュールと、
前記複数の処理モジュールの間に配置された中間ユニットを備え、
前記中間ユニットは、前記基板を洗浄する洗浄モジュールと、前記基板が一時的に置かれる基板ステーションを備えており、
前記洗浄モジュールおよび前記基板ステーションは、鉛直方向に沿って配列されている、基板処理システム。
続きを表示(約 620 文字)
【請求項2】
前記洗浄モジュールは、前記複数の処理モジュールのうちのいずれか1つによって処理された前記基板を洗浄する後洗浄モジュールを含む、請求項1に記載の基板処理システム。
【請求項3】
前記後洗浄モジュールは、前記基板の両面を洗浄するように構成されている、請求項2に記載の基板処理システム。
【請求項4】
前記洗浄モジュールは、前記複数の処理モジュールによって処理される前の前記基板を洗浄する前洗浄モジュールを含む、請求項1に記載の基板処理システム。
【請求項5】
前記前洗浄モジュールは、前記複数の処理モジュールによって処理される前記基板の面とは反対側の面である裏面を洗浄するように構成されている、請求項4に記載の基板処理システム。
【請求項6】
前記中間ユニットは、前記基板ステーションおよび前記洗浄モジュールの上方に配置されたファンフィルタユニットをさらに備えている、請求項1に記載の基板処理システム。
【請求項7】
前記中間ユニットは、前記洗浄モジュールおよび前記基板ステーションを覆うモジュールカバー壁をさらに備えており、
前記モジュールカバー壁は、メンテナンス扉を有する、請求項1に記載の基板処理システム。
【請求項8】
前記メンテナンス扉は、前記洗浄モジュールの裏側に位置している、請求項7に記載の基板処理システム。
発明の詳細な説明
【技術分野】
【0001】
本発明は、複数の処理モジュールを備えた基板処理システムに関し、特に基板処理システムの拡張性を高める技術に関する。
続きを表示(約 2,000 文字)
【背景技術】
【0002】
半導体デバイスの製造では、研削、CMP(化学機械研磨)、部分的研磨などの種々の処理が基板に対して実行される。通常、これらの処理は、個別の基板処理装置によって実行される。例えば、基板の研削には研削装置が使用され、基板のCMPにはCMP装置が使用される。
【0003】
その一方で、種々の処理を基板に対して実行することができる複合基板処理装置を実現する試みがある。具体的には、種々の処理を実行する複数の処理モジュールを搭載した複合型基板処理装置が提案されている。このような複合型基板処理装置は、基板に対する複数の処理を1つの装置内で完結することができるので、スループットの向上が期待される。
【先行技術文献】
【特許文献】
【0004】
特開2014-37009号公報
特開2023-76852号公報
特開平10-50640号公報
【発明の概要】
【発明が解決しようとする課題】
【0005】
しかしながら、各処理モジュール内の清浄度は、その処理に依存して異なる。例えば、基板の粗研磨をする研削処理は、CMPに比べて多量の研磨屑を伴う。このため、研削処理を行うための研削モジュールの清浄度は、CMPを行うためのCMPモジュールの清浄度よりも低い。このような清浄度の異なる処理モジュールを組み合わせると、一方の処理モジュールから他の処理モジュールに汚染が拡散するおそれがある。このような理由から、同じまたは近い清浄度の処理モジュールのみを組み合わせる必要があり、結果として、複合型基板処理装置の拡張性が低かった。
【0006】
そこで、本発明は、種々の処理モジュールを組み合わせることを可能とすることで、拡張性を向上させることができる基板処理システムを提供する。
【課題を解決するための手段】
【0007】
一態様では、基板を処理するための基板処理システムであって、前記基板を処理するように構成された複数の処理モジュールと、前記複数の処理モジュールの間に配置された中間ユニットを備え、前記中間ユニットは、前記基板を洗浄する洗浄モジュールと、前記基板が一時的に置かれる基板ステーションを備えており、前記洗浄モジュールおよび前記基板ステーションは、鉛直方向に沿って配列されている、基板処理システムが提供される。
【0008】
一態様では、前記洗浄モジュールは、前記複数の処理モジュールのうちのいずれか1つによって処理された前記基板を洗浄する後洗浄モジュールを含む。
一態様では、前記後洗浄モジュールは、前記基板の両面を洗浄するように構成されている。
一態様では、前記洗浄モジュールは、前記複数の処理モジュールによって処理される前の前記基板を洗浄する前洗浄モジュールを含む。
一態様では、前記前洗浄モジュールは、前記複数の処理モジュールによって処理される前記基板の面とは反対側の面である裏面を洗浄するように構成されている。
一態様では、前記中間ユニットは、前記基板ステーションおよび前記洗浄モジュールの上方に配置されたファンフィルタユニットをさらに備えている。
一態様では、前記中間ユニットは、前記洗浄モジュールおよび前記基板ステーションを覆うモジュールカバー壁をさらに備えており、前記モジュールカバー壁は、メンテナンス扉を有する。
一態様では、前記メンテナンス扉は、前記洗浄モジュールの裏側に位置している。
【発明の効果】
【0009】
中間ユニットは、複数の処理モジュール間の中継装置としての機能を有するのみならず、複数の処理モジュール間での汚染の拡散を防止する機能を持つ。すなわち、中間ユニットの洗浄モジュールは、各処理モジュールで処理される前または後の基板を洗浄して、基板から研磨屑および砥粒などの物質を除去することができる。したがって、清浄度の異なる複数の処理モジュールを組み合わせることができ、結果として、基板処理システムの拡張性が向上する。
【図面の簡単な説明】
【0010】
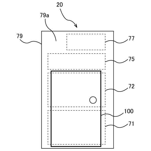
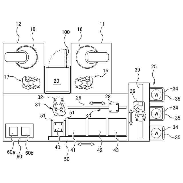
基板処理システムの一実施形態を示す平面図である。
中間ユニットの一実施形態を示す図である。
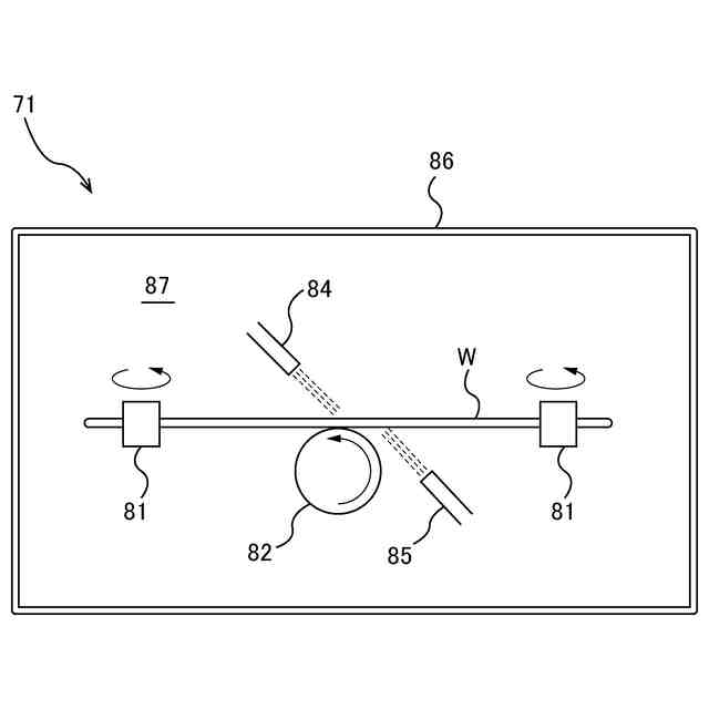
前洗浄モジュールの一実施形態を示す模式図である。
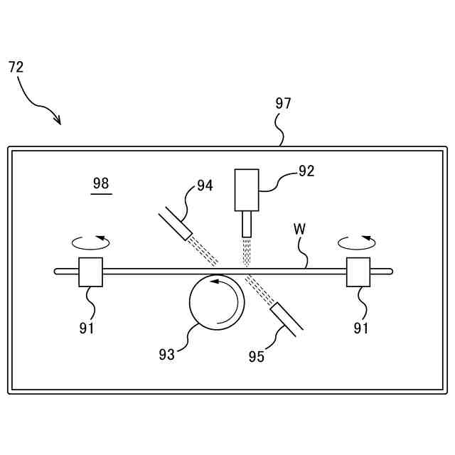
後洗浄モジュールの一実施形態を示す模式図である。
図2に示す中間ユニットの背面図である。
中間ユニットの他の実施形態を示す図である。
図1に示す基板処理システム内の基板搬送ルートの一例を示す模式図である。
図1に示す基板処理システム内の基板搬送ルートの他の例を示す模式図である。
【発明を実施するための形態】
(【0011】以降は省略されています)
この特許をJ-PlatPat(特許庁公式サイト)で参照する
関連特許
日本発條株式会社
積層体
3日前
個人
防雪防塵カバー
3日前
ローム株式会社
半導体装置
1日前
ローム株式会社
半導体装置
1日前
ローム株式会社
半導体装置
1日前
個人
半導体パッケージ用ガラス基板
2日前
株式会社GSユアサ
蓄電装置
3日前
トヨタ自動車株式会社
二次電池
3日前
ローム株式会社
電子装置
3日前
日本特殊陶業株式会社
保持装置
1日前
日本特殊陶業株式会社
保持装置
3日前
ローム株式会社
半導体装置
3日前
矢崎総業株式会社
コネクタ
6日前
トヨタ自動車株式会社
電池パック
7日前
トヨタ自動車株式会社
電池パック
7日前
ヒロセ電機株式会社
電気コネクタ
3日前
株式会社カネカ
正極活物質
3日前
TDK株式会社
コイル部品
1日前
株式会社デンソー
電子装置
3日前
住友電装株式会社
コネクタ
3日前
ローム株式会社
半導体装置
3日前
住友電装株式会社
コネクタ
3日前
トヨタ自動車株式会社
電池パック
7日前
住友電装株式会社
コネクタ
3日前
住友電装株式会社
コネクタ
3日前
日本航空電子工業株式会社
コネクタ
7日前
日本航空電子工業株式会社
コネクタ
13日前
大阪瓦斯株式会社
燃料電池システム
3日前
ノリタケ株式会社
金ペースト
3日前
株式会社オカムラ
モバイルバッテリ
3日前
トヨタ自動車株式会社
セルスタック
6日前
本田技研工業株式会社
固体電池
1日前
富士通株式会社
冷却装置及び電子機器
3日前
住友電装株式会社
ワイヤハーネス
6日前
TDK株式会社
コイル部品
3日前
矢崎総業株式会社
コネクタ
7日前
続きを見る
他の特許を見る