TOP
|
特許
|
意匠
|
商標
特許ウォッチ
Twitter
他の特許を見る
公開番号
2025134187
公報種別
公開特許公報(A)
公開日
2025-09-17
出願番号
2024031935
出願日
2024-03-04
発明の名称
成膜装置
出願人
株式会社レゾナック・ハードディスク
代理人
弁理士法人ITOH
主分類
C23C
14/56 20060101AFI20250909BHJP(金属質材料への被覆;金属質材料による材料への被覆;化学的表面処理;金属質材料の拡散処理;真空蒸着,スパッタリング,イオン注入法,または化学蒸着による被覆一般;金属質材料の防食または鉱皮の抑制一般)
要約
【課題】キャリアを搬送する回転部材の位置精度を維持しつつ、基板の損傷又は落下を抑制することができる成膜装置を提供する。
【解決手段】本発明の一態様に係る成膜装置において、キャリアを搬送する搬送機構は、チャンバ内に設けられ、前記キャリアを支持する支持ユニットを有し、前記支持ユニットは、前記キャリアを支持する複数の回転部材を有し、且つ前記キャリアの搬送方向の上流側から下流側へ延びており、前記複数の回転部材は、前記支持ユニットの前記上流側から前記下流側へ一列に並んで配置されており、前記各回転部材は、円環状を有する回転部材外周部と、前記回転部材外周部の内側に設けられるベアリングと、前記回転部材外周部の内周面と前記ベアリングの外周面との間に設けられる緩衝部材と、を有する。
【選択図】図1
特許請求の範囲
【請求項1】
基板を保持するキャリアと、
前記基板に対して成膜処理を行う複数のチャンバと、
前記複数のチャンバのうち少なくとも1つの内部を減圧する真空ポンプと、
前記チャンバ内を密閉空間にするゲートバルブと、
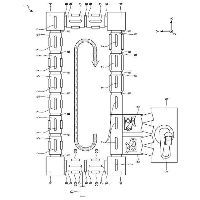
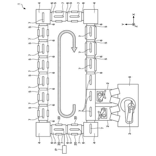
前記キャリアを前記ゲートバルブ内及び前記複数のチャンバ内へ搬送する搬送機構と、
を備え、
前記複数のチャンバのうち少なくとも1つは、前記基板の加熱機構を有し、
前記搬送機構は、前記チャンバ内に設けられ、前記キャリアを支持する支持ユニットを有し、
前記支持ユニットは、前記キャリアを支持する複数の回転部材を有し、且つ前記キャリアの搬送方向の上流側から下流側へ延びており、
前記複数の回転部材は、前記支持ユニットの前記上流側から前記下流側へ一列に並んで配置されており、
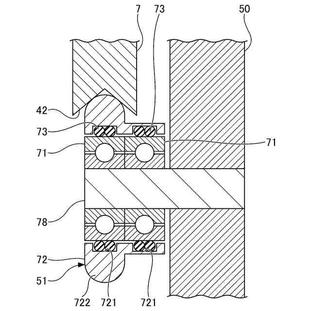
前記各回転部材は、円環状を有する回転部材外周部と、前記回転部材外周部の内側に設けられるベアリングと、前記回転部材外周部の内周面と前記ベアリングの外周面との間に設けられる緩衝部材と、を有する、成膜装置。
続きを表示(約 630 文字)
【請求項2】
前記回転部材外周部は、内周面に設けられ、前記緩衝部材を収容する凹部を有し、
前記回転部材は、前記回転部材外周部の内周面と、前記ベアリングの外周面との間に形成される間隙を有し、
前記緩衝部材と前記ベアリングの外周面とは、接触している、請求項1に記載の成膜装置。
【請求項3】
前記ベアリングは、前記回転部材外周部の内側に、軸方向に沿って2つ設けられ、
前記緩衝部材は、前記2つのベアリングのそれぞれの外周面に対向して複数設けられている、請求項2に記載の成膜装置。
【請求項4】
前記緩衝部材は、円環状の弾性部材であり、前記凹部は、円環状に形成されている、請求項3に記載の成膜装置。
【請求項5】
前記回転部材外周部は、一端に設けられた円環状の鍔部を有し、
前記キャリアは、前記鍔部に鉛直方向下側から支持されると被支持面を有し、
前記緩衝部材は、鉛直方向から見たとき、少なくとも前記鍔部と重なる位置に配置されている、請求項4に記載の成膜装置。
【請求項6】
前記キャリアは、前記基板を内側に配置する孔部が設けられた基板ホルダと、前記基板ホルダの孔部の周囲に弾性変形可能に取り付けられた複数の支持部材とを備え、
前記複数の支持部材は、前記基板の外周端部と当接し、前記孔部の内側に嵌め込まれた前記基板を支持する、請求項5に記載の成膜装置。
発明の詳細な説明
【技術分野】
【0001】
本開示は、成膜装置に関する。
続きを表示(約 1,800 文字)
【背景技術】
【0002】
従来から、基板を保持するキャリアを複数のチャンバ内に順次搬送させて基板に対して成膜処理を行う成膜装置が知られている(例えば、特許文献1を参照)。このような成膜装置は、複数のチャンバがゲートバルブを経由して接続された構造を有している場合が多く、キャリアがゲートバルブを通過する際に上下方向に振動し、この振動で基板が損傷を受けることがあり、又は落下することがあった。
【0003】
特許文献2には、ゲートバルブを経由して接続されたチャンバの間をキャリアが通過する際のキャリアに加わる衝撃を緩和することを可能としたインライン式成膜装置が開示されている。衝撃を緩和する構成として、キャリアをガイドするガイド機構である主ベアリングを支持する支軸と軸孔との間に、筒状の弾性部材が配置された緩衝機構、又は複数のOリングが軸方向に並んで配置された緩衝機構が記載されている。
【先行技術文献】
【特許文献】
【0004】
特開平8-274142号公報
特開2010-33645号公報
【発明の概要】
【発明が解決しようとする課題】
【0005】
しかしながら、特許文献2に記載のインライン式成膜装置では、緩衝部材としての複数のOリングが、主ベアリングを支持する支軸と軸孔との間に配置されているため、緩衝部材に加わるモーメントが大きくなる。よって、緩衝部材が変形し、主ベアリングの位置精度を維持することが難しいという問題があった。また、緩衝部材の変形を抑えるために緩衝部材の硬度を高めることが考えられるが、真空環境下で使用可能な緩衝部材の種類は少なく、硬度の選択範囲が一定の硬度以上に限られる。緩衝部材の硬度を高めると、緩衝性が失われ、主ベアリングに加わる振動を低減することが難しくなる。
【0006】
そこで、本開示の技術は、上記課題に鑑み、キャリアを搬送する回転部材の位置精度を維持しつつ、基板の損傷又は落下を抑制することが可能な成膜装置を提供することを目的とする。
【課題を解決するための手段】
【0007】
本発明の一態様に係る成膜装置は、基板を保持するキャリアと、前記基板に対して成膜処理を行う複数のチャンバと、前記複数のチャンバのうち少なくとも1つの内部を減圧する真空ポンプと、前記チャンバ内を密閉空間にするゲートバルブと、前記キャリアを前記ゲートバルブ内及び前記複数のチャンバ内へ搬送する搬送機構と、を備え、前記複数のチャンバのうち少なくとも1つは、前記基板の加熱機構を有し、前記搬送機構は、前記チャンバ内に設けられ、前記キャリアを支持する支持ユニットを有し、前記支持ユニットは、前記キャリアを支持する複数の回転部材を有し、且つ前記キャリアの搬送方向の上流側から下流側へ延びており、前記複数の回転部材は、前記支持ユニットの前記上流側から前記下流側へ一列に並んで配置されており、前記各回転部材は、円環状を有する回転部材外周部と、前記回転部材外周部の内側に設けられるベアリングと、前記回転部材外周部の内周面と前記ベアリングの外周面との間に設けられる緩衝部材と、を有する。
【発明の効果】
【0008】
本開示の成膜装置によれば、キャリアを搬送する回転部材の位置精度を維持しつつ、基板の損傷又は落下を抑制することができる。
【図面の簡単な説明】
【0009】
一実施形態に係る成膜装置の平面図である。
一実施形態に係る成膜装置によって製造される記録媒体の断面図である。
一実施形態に係る成膜装置のチャンバの側面図である。
一実施形態に係る成膜装置のキャリアの側面図(a)及び正面図(b)である。
一実施形態に係る支持ユニットの側面図である。
一実施形態に係る支持ユニットの平面図である。
一実施形態に係る支持ユニットの断面図である。
【発明を実施するための形態】
【0010】
以下、図面を参照して本開示の実施形態について詳細に説明する。各図面において、同一構成要素には同一符号を付与し、重複した説明を適宜省略する。
(【0011】以降は省略されています)
この特許をJ-PlatPat(特許庁公式サイト)で参照する
関連特許
個人
フッ素樹脂塗装鋼板の保管方法
2か月前
株式会社カネカ
製膜装置
5日前
株式会社京都マテリアルズ
めっき部材
9日前
株式会社カネカ
製膜装置
5日前
株式会社オプトラン
蒸着装置
5か月前
株式会社KSマテリアル
防錆組成物
3か月前
株式会社三愛工業所
アルミニウム材
4か月前
日本化学産業株式会社
複合めっき皮膜
2か月前
台灣晶技股ふん有限公司
無電解めっき法
1か月前
東京エレクトロン株式会社
成膜方法
27日前
日東電工株式会社
積層体の製造方法
4か月前
JFEスチール株式会社
鋼部品
2か月前
住友重機械工業株式会社
成膜装置
3か月前
信越半導体株式会社
真空蒸着方法
4か月前
住友重機械工業株式会社
成膜装置
4か月前
株式会社内村
防食具、防食具の設置方法
29日前
DOWAサーモテック株式会社
浸炭方法
5か月前
東京エレクトロン株式会社
基板処理装置
4か月前
東京エレクトロン株式会社
基板処理装置
5か月前
東京エレクトロン株式会社
基板処理装置
6か月前
株式会社アルバック
基板ステージ装置
6日前
黒崎播磨株式会社
溶射装置
13日前
フジタ技研株式会社
被覆部材、及び、表面被覆金型
7日前
株式会社デンソー
接合体
19日前
国立大学法人千葉大学
成膜装置及び成膜方法
1か月前
株式会社アルバック
成膜装置、および搬送方法
2か月前
黒崎播磨株式会社
溶射用ランス
4か月前
川崎重工業株式会社
水素遮蔽膜
1か月前
ケニックス株式会社
蒸発源装置
1か月前
東京エレクトロン株式会社
成膜方法及び成膜装置
4か月前
株式会社オプトラン
光学薄膜形成装置および方法
5か月前
株式会社神戸製鋼所
成膜方法
5か月前
株式会社アルバック
真空蒸着装置、真空蒸着方法
2か月前
株式会社カネカ
製膜装置
5か月前
学校法人静岡理工科大学
放電被覆装置及び放電被覆方法
1か月前
キヤノントッキ株式会社
成膜装置
5か月前
続きを見る
他の特許を見る