TOP
|
特許
|
意匠
|
商標
特許ウォッチ
Twitter
他の特許を見る
公開番号
2025135183
公報種別
公開特許公報(A)
公開日
2025-09-18
出願番号
2024032865
出願日
2024-03-05
発明の名称
流体制御装置
出願人
株式会社村田製作所
代理人
弁理士法人 楓国際特許事務所
主分類
F04B
45/047 20060101AFI20250910BHJP(液体用容積形機械;液体または圧縮性流体用ポンプ)
要約
【課題】高い冷却効率を有する小型化の流体制御装置を構成する。
【解決手段】流体制御装置は、ポンプ筐体を備えるポンプとバルブ筐体を備えるバルブとが第1方向に並んで配置される。ポンプは、ポンプ筐体に形成された第1孔と第2孔と、第1孔から第2孔に気体を送出可能な振動体とを備える。バルブは、ポンプ筐体に接続する側の第1バルブ筐体部材に形成された第2孔と、第1バルブ筐体部材に対向して配置された第2バルブ筐体部材に形成された第3孔と、バルブ筐体の第2バルブ筐体部材に形成された排気路とを備える。バルブ筐体の第2バルブ筐体部材は、ポンプ筐体の外形と重ならない部分で構成される突出部を備える。突出部は、排気路の一部を備える。外部へ開口する排気路の外側端面は、第1方向におけるポンプ側に向いている。振動体は、ポンプ筐体から突出する振動体突出部を備える。排気路の外側端面の一部は、ポンプ筐体よりも外側に位置する。
【選択図】図1
特許請求の範囲
【請求項1】
ポンプ筐体を備えるポンプとバルブ筐体を備えるバルブとが第1方向に並んで配置される流体制御装置であって、
前記ポンプは、
前記ポンプ筐体に形成された第1孔と、
前記ポンプ筐体に形成された第2孔と、
前記ポンプ筐体に配置され、前記第1孔から前記第2孔へ気体を送出可能な振動体と、
を備え、
前記バルブは、
前記バルブ筐体における前記ポンプ筐体に接続する側の第1バルブ筐体部材に形成された前記第2孔と、
前記バルブ筐体における前記第1バルブ筐体部材に対向して配置された第2バルブ筐体部材に形成された第3孔と、
前記バルブ筐体の前記第2バルブ筐体部材に形成された排気路と、
を備え、
前記第2バルブ筐体部材は、前記第1方向に視て前記ポンプ筐体の外形と重ならない部分で構成される突出部を備え、
前記突出部は、前記排気路の少なくとも一部を備え、
外部へ開口する前記排気路の外側端面は、前記第1方向における前記ポンプ側に向いており、
前記振動体は、前記第1方向に視て前記ポンプ筐体から突出する振動体突出部を備え、
前記第1方向に視て、前記排気路の前記外側端面の少なくとも一部は、前記ポンプ筐体よりも外側に位置する、
流体制御装置。
続きを表示(約 360 文字)
【請求項2】
前記第1方向に視て、前記排気路の前記外側端面は前記振動体突出部に重ならない、
請求項1に記載の流体制御装置。
【請求項3】
前記排気路を複数備え、
前記複数の排気路は、前記第1方向に視た前記バルブ筐体の中心に対して点対称の位置に配置される、
請求項1に記載の流体制御装置。
【請求項4】
前記第1方向に視て、前記排気路の前記外側端面は、前記ポンプ筐体に重なる部分を有する、
請求項1に記載の流体制御装置。
【請求項5】
前記振動体は、圧電体と、金属を材料とする振動体と、の積層構造を備え、
前記振動体は、前記ポンプ筐体に保持され、かつ、前記振動体突出部を備える、
請求項1に記載の流体制御装置。
発明の詳細な説明
【技術分野】
【0001】
本発明は、気体等の流体を搬送する流体制御装置に関する。
続きを表示(約 1,100 文字)
【背景技術】
【0002】
特許文献1には、流体制御装置が記載されている。特許文献1の流体制御装置は、ポンプ筐体、急速排気バルブ、および、ヒートシンクを備える。急速排気バルブは、吐出孔と排気路を備えている。
【0003】
ヒートシンクは、ポンプ筐体に物理的に接続する。ヒートシンクの一部は、排気路に対向する位置に配置される。
【0004】
流体制御装置は、ポンプの駆動時には、急速排気バルブの吐出孔に連通するカフに空気を供給する。流体制御装置は、ポンプの駆動停止時には、急速排気バルブの排気路から、カフにたまった空気を排出する。
【0005】
排気路から排出された空気は、ヒートシンクに当たり、ヒートシンクを冷却する。ヒートシンクが冷却されることで、ポンプ筐体が冷却される。
【先行技術文献】
【特許文献】
【0006】
特開2016-200067号公報
【発明の概要】
【発明が解決しようとする課題】
【0007】
しかしながら、特許文献1のような従来の流体制御装置では、ポンプ筐体の冷却にヒートシンクを必要とするので、大型化してしまう。また、ポンプ筐体は、間接的に冷却されるため、高い冷却効率を実現することが難しかった。
【0008】
したがって、本発明の目的は、高い冷却効率を有する小型化の流体制御装置を提供することにある。
【課題を解決するための手段】
【0009】
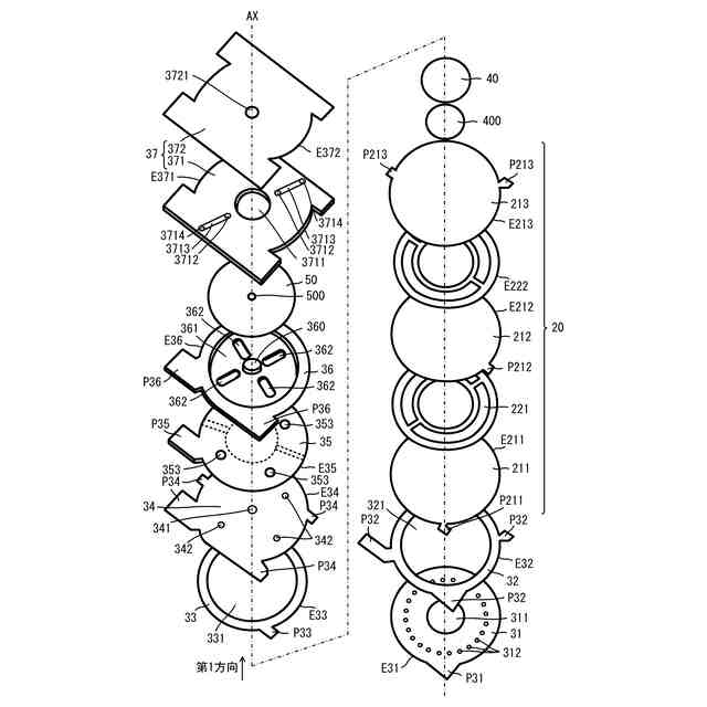
この発明の一実施形態に係る流体制御装置は、ポンプ筐体を備えるポンプとバルブ筐体を備えるバルブとが第1方向に並んで配置される。ポンプは、ポンプ筐体に形成された第1孔と、ポンプ筐体に形成された第2孔と、ポンプ筐体に配置され、第1孔から第2孔に気体を送出可能な振動体と、を備える。バルブは、バルブ筐体におけるポンプ筐体に接続する側の第1バルブ筐体部材に形成された第2孔と、バルブ筐体における第1バルブ筐体部材に対向して配置された第2バルブ筐体部材に形成された第3孔と、バルブ筐体の第2バルブ筐体部材に形成された排気路と、を備える。
【0010】
バルブ筐体の第2バルブ筐体部材は、第1方向に視てポンプ筐体の外形と重ならない部分で構成される突出部を備える。突出部は、排気路の少なくとも一部を備える。外部へ開口する排気路の外側端面は、第1方向におけるポンプ側に向いている。振動体は、第1方向に視てポンプ筐体から突出する振動体突出部を備える。第1方向に視て、排気路の外側端面の少なくとも一部は、ポンプ筐体よりも外側に位置する。
(【0011】以降は省略されています)
この特許をJ-PlatPat(特許庁公式サイト)で参照する
関連特許
株式会社村田製作所
電池
14日前
株式会社村田製作所
釣り具
13日前
株式会社村田製作所
電子部品
6日前
株式会社村田製作所
測定装置
1日前
株式会社村田製作所
電池パック
1日前
株式会社村田製作所
コイル部品
20日前
株式会社村田製作所
高周波回路
今日
株式会社村田製作所
噴霧ノズル
8日前
株式会社村田製作所
フィルタ回路
10日前
株式会社村田製作所
フィルタ装置
今日
株式会社村田製作所
複合型電子部品
6日前
株式会社村田製作所
弾性波フィルタ
20日前
株式会社村田製作所
インダクタ部品
20日前
株式会社村田製作所
積層インダクタ
10日前
株式会社村田製作所
圧力センサ装置
1日前
株式会社村田製作所
電子部品包装装置
1日前
株式会社村田製作所
呼吸検出システム
10日前
株式会社村田製作所
多層基板及び電子機器
10日前
株式会社村田製作所
多層基板及び電子機器
10日前
株式会社村田製作所
造粒粉及びインダクタ
今日
株式会社村田製作所
ファブリペロー干渉計
今日
株式会社村田製作所
光学的パターン表示物品
6日前
株式会社村田製作所
積層セラミック電子部品
7日前
株式会社村田製作所
積層セラミック電子部品
7日前
株式会社村田製作所
積層セラミック電子部品
今日
株式会社村田製作所
濾過装置および濾過方法
今日
株式会社村田製作所
積層セラミック電子部品
6日前
株式会社村田製作所
積層セラミック電子部品
今日
株式会社村田製作所
積層セラミック電子部品
今日
株式会社村田製作所
二次電池および電池パック
今日
株式会社村田製作所
高周波回路および通信装置
1日前
株式会社村田製作所
樹脂多層基板及び電子機器
10日前
株式会社村田製作所
樹脂多層基板及び電子機器
10日前
株式会社村田製作所
積層セラミックコンデンサ
10日前
株式会社村田製作所
積層セラミックコンデンサ
8日前
株式会社村田製作所
積層セラミックコンデンサ
2日前
続きを見る
他の特許を見る