TOP
|
特許
|
意匠
|
商標
特許ウォッチ
Twitter
他の特許を見る
公開番号
2025135794
公報種別
公開特許公報(A)
公開日
2025-09-19
出願番号
2024033764
出願日
2024-03-06
発明の名称
コイル部品
出願人
株式会社村田製作所
代理人
個人
,
個人
,
個人
主分類
H01F
17/04 20060101AFI20250911BHJP(基本的電気素子)
要約
【課題】コアにおける実装基板側に向けられる実装面に導電性ペーストの焼結体からなる導体膜を備える端子電極が設けられた、コイル部品において、端子電極の固着強度を高める。
【解決手段】実装面9、10、13、14には、当該実装面の端縁より巻芯部の軸線方向に直交する幅方向での内側に頂部21~24を位置させる隆起部17~20が設けられ、隆起部は、頂部から上記端縁に向かってより低くなるように延びる傾斜面27~30を形成している。導体膜37~40となるべき導電性ペーストをたとえばディッピング法により実装面9、10、13、14に付与したとき、実装面に隆起部17~20が設けられているので、導電性ペーストの付与厚みを厚くすることができ、導電性ペーストの焼結体からなる導体膜37~40を厚く形成することができ、そのため、導体膜を備える端子電極33~36の実装面に対する固着強度を高めることができる。
【選択図】図2
特許請求の範囲
【請求項1】
軸線方向に延びる巻芯部および前記巻芯部の前記軸線方向での各端部に設けられた鍔部を有する、コアと、
前記巻芯部に巻回されたワイヤと、
前記ワイヤが接続された端子電極と、
を備え、
前記鍔部は、実装時において実装基板側に向けられる実装面を有し、
前記端子電極は、前記実装面に設けられた導体膜を備え、
前記実装面には、当該実装面の端縁より前記軸線方向に直交する幅方向での内側に頂部を位置させる隆起部が設けられ、前記隆起部は、前記頂部から前記端縁に向かってより低くなるように延びる傾斜面を有している、
コイル部品。
続きを表示(約 710 文字)
【請求項2】
前記実装面は、前記鍔部の、実装時において実装基板側に向けられる底面から段差をもって盛り上がった凸状部に位置する、請求項1に記載のコイル部品。
【請求項3】
前記導体膜は、前記隆起部の前記頂部上に位置する部分に比べて、前記隆起部の前記頂部のまわりに位置する部分の方がより厚い、請求項1に記載のコイル部品。
【請求項4】
前記隆起部の前記頂部は、直線状に延びる部分を有する、請求項1に記載のコイル部品。
【請求項5】
前記直線状に延びる部分は、前記巻芯部の前記軸線方向と平行に延びる、請求項4に記載のコイル部品。
【請求項6】
前記傾斜面は、前記頂部から少なくとも前記幅方向における互いに逆の2方向に延びている、請求項5に記載のコイル部品。
【請求項7】
前記直線状に延びる部分は、前記巻芯部の前記軸線方向と直交する方向に延びる、請求項4に記載のコイル部品。
【請求項8】
前記隆起部の前記傾斜面は、前記巻芯部の前記軸線方向に平行な断面で見た勾配の方が前記巻芯部の軸線方向に垂直な断面で見た勾配より大きい、請求項1に記載のコイル部品。
【請求項9】
前記ワイヤは、前記傾斜面における前記頂部以外の位置において、前記端子電極に接続される、請求項1に記載のコイル部品。
【請求項10】
前記ワイヤは、前記傾斜面における、接続前の前記ワイヤの径以下の高低差を与える部分において、前記端子電極に接続される、請求項1に記載のコイル部品。
(【請求項11】以降は省略されています)
発明の詳細な説明
【技術分野】
【0001】
本開示は、ワイヤを巻回した巻芯部および巻芯部の軸線方向での各端部に設けられた鍔部を有するコアと、鍔部に設けられ、ワイヤが接続される端子電極と、を備える、コイル部品に関するもので、特に、鍔部における端子電極を設ける部分の構造に関するものである。
続きを表示(約 1,300 文字)
【背景技術】
【0002】
たとえば特開2017-41589号公報(特許文献1)には、ワイヤを巻回した巻芯部および巻芯部の各端部に設けられた鍔部を有するコアを備える、コイル部品が記載されている。鍔部の、実装時において実装基板側に向けられる実装面には、端子電極が設けられる。端子電極にはワイヤが熱圧着により接続される。端子電極は、実装面に付与された導電性ペーストの焼結体からなる導体膜を備える。
【先行技術文献】
【特許文献】
【0003】
特開2017-41589号公報
【発明の概要】
【発明が解決しようとする課題】
【0004】
端子電極に備える導体膜となるべき導電性ペーストは、たとえばディッピング法により実装面に付与される。特許文献1に記載のコイル部品では、当該文献の図面に示されているように、端子電極が設けられる実装面は平坦である。このように実装面が平坦である場合、そこに付与される導電性ペーストは、その厚みを十分に確保できない場合がある。その場合には、実装面に対する端子電極の固着強度が低くなるという課題がある。
【0005】
そこで、本開示の目的は、実装面に対する端子電極の固着強度を高めることができる、コイル部品を提供しようとすることである。
【課題を解決するための手段】
【0006】
本開示は、軸線方向に延びる巻芯部および巻芯部の軸線方向での各端部に設けられた鍔部を有する、コアと、巻芯部に巻回されたワイヤと、ワイヤが接続される端子電極と、を備える、コイル部品に向けられる。
【0007】
鍔部は、実装時において実装基板側に向けられる実装面を有する。端子電極は、実装面に付与された導電性ペーストの焼結体からなる導体膜を備える。
【0008】
上述した技術的課題を解決するため、本開示では、実装面には、当該実装面の端縁より上記軸線方向に直交する幅方向での内側に頂部を位置させる隆起部が設けられ、隆起部は、上記頂部から端縁に向かってより低くなるように延びる傾斜面を形成していることを特徴としている。
【発明の効果】
【0009】
本開示によれば、端子電極に備える導体膜となるべき導電性ペーストをたとえばディッピング法により実装面に付与したとき、実装面に隆起部が設けられているので、導電性ペーストの付与厚みを厚くすることができる。そのため、導電性ペーストの焼結体からなる導体膜を厚く形成することができ、導体膜を備える端子電極の実装面に対する固着強度を高めることができる。
【図面の簡単な説明】
【0010】
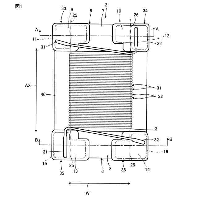
本開示の一実施形態によるコイル部品1の外観を実装面側から示す底面図である。
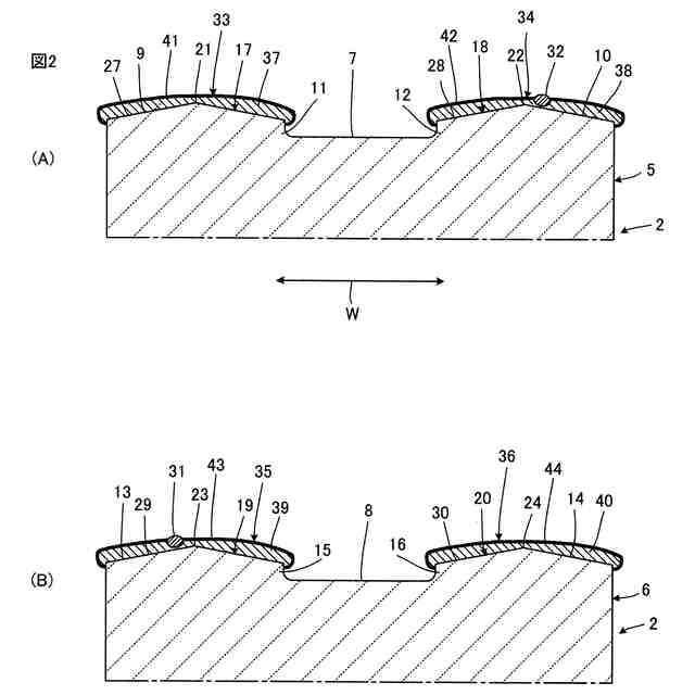
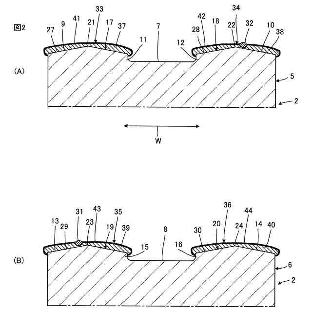
(A)は図1の線A-Aに沿う断面図であり、(B)は図1の線B-Bに沿う断面図である。
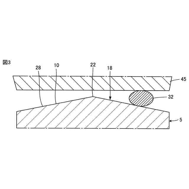
端子電極へのワイヤ32の熱圧着工程を説明するための断面図である。
【発明を実施するための形態】
(【0011】以降は省略されています)
この特許をJ-PlatPat(特許庁公式サイト)で参照する
関連特許
株式会社村田製作所
噴霧ノズル
1日前
株式会社村田製作所
積層セラミック電子部品
今日
株式会社村田製作所
積層セラミック電子部品
今日
株式会社村田製作所
積層セラミックコンデンサ
今日
株式会社村田製作所
転倒検知装置、及び転倒検知方法
今日
個人
安全なNAS電池
27日前
日機装株式会社
加圧装置
1か月前
個人
フリー型プラグ安全カバー
1か月前
日本発條株式会社
積層体
3日前
東レ株式会社
多孔質炭素シート
22日前
エイブリック株式会社
半導体装置
24日前
個人
防雪防塵カバー
3日前
エイブリック株式会社
半導体装置
24日前
ローム株式会社
半導体装置
1日前
ローム株式会社
半導体装置
22日前
キヤノン株式会社
電子機器
22日前
ローム株式会社
半導体装置
1日前
ローム株式会社
半導体装置
1日前
オムロン株式会社
電磁継電器
1か月前
株式会社GSユアサ
蓄電装置
3日前
ニチコン株式会社
コンデンサ
15日前
沖電気工業株式会社
アンテナ
1か月前
個人
半導体パッケージ用ガラス基板
2日前
株式会社GSユアサ
蓄電装置
1か月前
東レ株式会社
ガス拡散層の製造方法
22日前
株式会社GSユアサ
蓄電装置
1か月前
株式会社GSユアサ
蓄電装置
1か月前
ニチコン株式会社
コンデンサ
15日前
株式会社ティラド
面接触型熱交換器
14日前
マクセル株式会社
配列用マスク
14日前
トヨタ自動車株式会社
蓄電装置
1か月前
株式会社ヨコオ
コネクタ
24日前
トヨタ自動車株式会社
二次電池
3日前
株式会社カネカ
二次電池
1か月前
日本特殊陶業株式会社
保持装置
1日前
日本特殊陶業株式会社
保持装置
3日前
続きを見る
他の特許を見る