TOP
|
特許
|
意匠
|
商標
特許ウォッチ
Twitter
他の特許を見る
公開番号
2025139680
公報種別
公開特許公報(A)
公開日
2025-09-29
出願番号
2024038639
出願日
2024-03-13
発明の名称
樹脂多層基板及び電子機器
出願人
株式会社村田製作所
代理人
弁理士法人 楓国際特許事務所
主分類
H05K
3/28 20060101AFI20250919BHJP(他に分類されない電気技術)
要約
【課題】樹脂積層体の表面を保護する保護膜の剥がれを抑制した樹脂多層基板、及び当該樹脂多層基板を備える電子機器、を得る。
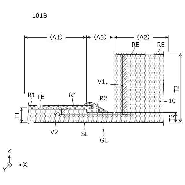
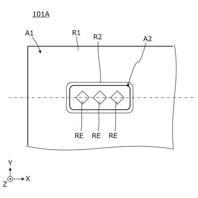
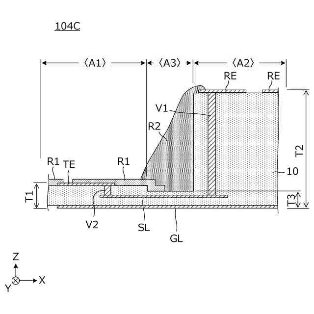
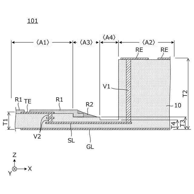
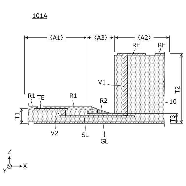
【解決手段】樹脂多層基板101Aは樹脂積層体10を備える。樹脂積層体10は、層方向領域として第1領域A1、第2領域A2、及び第3領域A3を有する。樹脂多層基板101Aは、第1領域A1の表面から第3領域A3にかけて貼付された第1樹脂材R1と、第3領域A3内に形成された第2樹脂材R2と、を備える。第2樹脂材R2は、第1樹脂材R1の一部を被覆し、第3領域A3に存在する第1樹脂材R1の端部を被覆する。第1樹脂材R1のヤング率をE1、第2樹脂材のヤング率をE2で表すとき、E1<E2の関係にある。第1樹脂材R1と樹脂積層体10との密着力をAD1、第2樹脂材R2と樹脂積層体10との密着力をAD2で表すとき、AD2≧AD1の関係にある。
【選択図】図1
特許請求の範囲
【請求項1】
導体パターンが形成された樹脂層を含む複数の樹脂層の積層による樹脂積層体を備え、
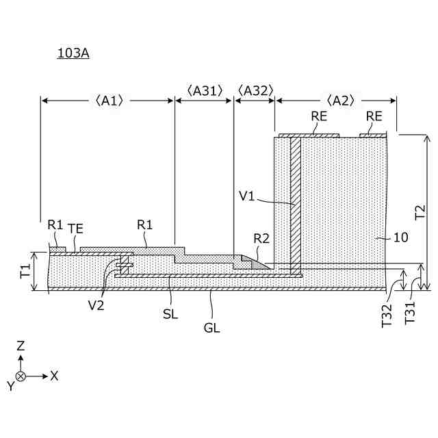
前記樹脂積層体は、層方向領域として第1領域、第2領域、及び前記第1領域と前記第2領域との間の領域である第3領域を有し、
前記樹脂積層体の前記第1領域の平均厚みをT1で表し、前記樹脂積層体の前記第2領域の平均厚みをT2で表し、前記樹脂積層体の前記第3領域の平均厚みをT3で表すとき、それら厚みはT3<T1<T2の関係にあり、
前記第1領域の表面から前記第3領域にかけて覆う第1樹脂材と、
前記第3領域内に形成された第2樹脂材と、
を備え、
前記第2樹脂材は、前記第1樹脂材の一部を被覆し、前記第3領域に存在する前記第1樹脂材の端部を被覆し、
前記第1樹脂材のヤング率をE1、前記第2樹脂材のヤング率をE2で表すとき、E1<E2の関係にあり、
前記第1樹脂材と前記樹脂積層体との密着力をAD1、前記第2樹脂材と前記樹脂積層体との密着力をAD2で表すとき、AD2≧AD1の関係にある、
樹脂多層基板。
続きを表示(約 930 文字)
【請求項2】
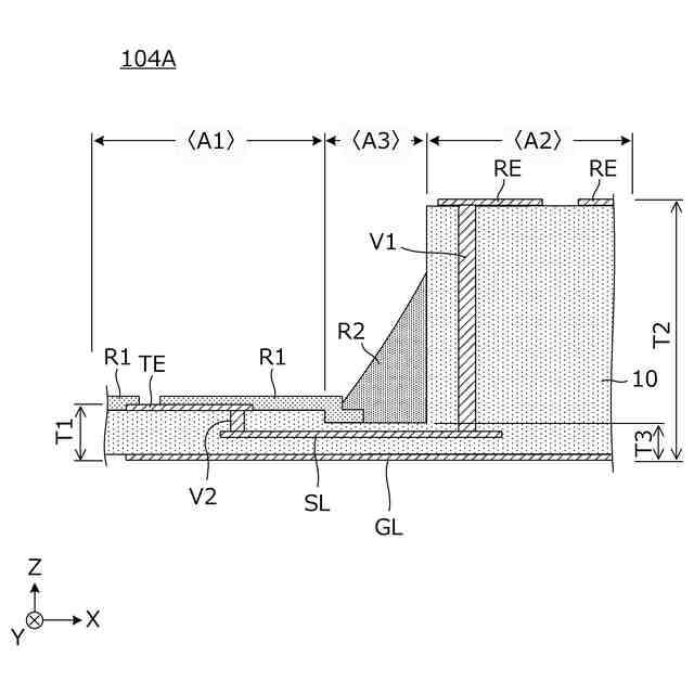
前記第2樹脂材は、前記第1樹脂材の端部から前記第1領域にかけて前記第1樹脂材を被覆する、
請求項1に記載の樹脂多層基板。
【請求項3】
前記第3領域は、前記樹脂積層体の厚みが複数段階に分かれた領域であり、
前記第2樹脂材は、前記第3領域の所定段に位置する前記第1樹脂材の端部から、前記第3領域のうち前記所定段より一段以上上部にかけて、又は前記第1樹脂材の端部から前記第1領域にかけて、前記第1樹脂材を被覆する、
請求項1又は2に記載の樹脂多層基板。
【請求項4】
前記第2樹脂材は、前記第1領域の厚みよりも高い位置まで前記第2領域の側面部を被覆する、
請求項1又は2に記載の樹脂多層基板。
【請求項5】
前記第2樹脂材と前記第2領域の側面のとの密着力は前記第2樹脂材と前記第3領域の上面との密着力より大きい、
請求項4に記載の樹脂多層基板。
【請求項6】
前記第2樹脂材は前記第2領域の側面部に達する前記導体パターンを被覆する、
請求項4に記載の樹脂多層基板。
【請求項7】
前記第2領域の上面を被覆する第3樹脂材を備え、
前記第3樹脂材の端部と前記第2樹脂材とは、互いに非接触の位置関係にそれぞれ配置されている、
請求項1又は2に記載の樹脂多層基板。
【請求項8】
前記第2領域の側面に形成された第3樹脂材を備え、
前記第2樹脂材は、前記第2領域の側面において、前記第3樹脂材の端部を被覆している、
請求項1又は2に記載の樹脂多層基板。
【請求項9】
前記第2領域の上面を覆う第3樹脂材を備え、
前記第2樹脂材は、前記第2領域の上面において、前記第3樹脂材の端部を被覆している、
請求項1又は2に記載の樹脂多層基板。
【請求項10】
請求項1又は2に記載の樹脂多層基板と、当該樹脂多層基板に実装された電子部品とを備える、又は前記樹脂多層基板を実装する他基板を備える、電子機器。
(【請求項11】以降は省略されています)
発明の詳細な説明
【技術分野】
【0001】
本発明は、導体パターンが形成された樹脂層を含む複数の樹脂層の積層による樹脂積層体を備える樹脂多層基板、及び当該樹脂多層基板を備える電子機器、に関する。
続きを表示(約 1,300 文字)
【背景技術】
【0002】
特許文献1には、樹脂層の積層数の相違により、積層方向の厚みが異なる第1領域と第2領域とを有する多層基板が示されている。
【0003】
このように、樹脂層の積層数が第1領域と第2領域とで相違する場合、この第1領域と第2領域との境界に段差部が形成される。
【先行技術文献】
【特許文献】
【0004】
特開2019-16743号公報
【発明の概要】
【発明が解決しようとする課題】
【0005】
導体パターンが形成された樹脂層を含む複数の樹脂層の積層による樹脂積層体を備える樹脂多層基板においては、各導体パターンの位置関係や使用形態に応じて、積層方向の厚みが異なる領域が必要となる。
【0006】
一方、樹脂多層基板に形成された回路を保護するために、又は樹脂多層基板自体を補強するために、樹脂多層基板の表面に絶縁性の保護膜を、粘着層を介して貼付することで、樹脂積層体の表面に保護膜を被覆する構成も採られる。
【0007】
ところが、樹脂積層体の厚みに大きな段差部が生じるような樹脂積層体においては、その段差部に連続する保護膜を形成することは困難であるので、厚みが比較的均等な領域に対して連続する保護膜を被覆することになる。樹脂多層基板がこのような構造であると、保護膜の端部が樹脂多層基板の外縁ではなく、内側に位置するので、保護膜が剥がれやすくなる。
【0008】
そこで、本発明の目的は、樹脂積層体の表面を保護する保護膜の剥がれを抑制した樹脂多層基板、及び当該樹脂多層基板を備える電子機器、を提供することにある。
【課題を解決するための手段】
【0009】
(a)本開示の一例としての樹脂多層基板は、
導体パターンが形成された樹脂層を含む複数の樹脂層の積層による樹脂積層体を備え、
前記樹脂積層体は、層方向領域として第1領域、第2領域、及び前記第1領域と前記第2領域との間の領域である第3領域を有し、
前記樹脂積層体の前記第1領域の平均厚みをT1で表し、前記樹脂積層体の前記第2領域の平均厚みをT2で表し、前記樹脂積層体の前記第3領域の平均厚みをT3で表すとき、それら厚みはT3<T1<T2の関係にあり、
前記第1領域の表面から前記第3領域にかけて覆う第1樹脂材と、
前記第3領域内に形成された第2樹脂材と、
を備え、
前記第2樹脂材は、前記第1樹脂材の一部を被覆し、前記第3領域に存在する前記第1樹脂材の端部を被覆し、
前記第1樹脂材のヤング率をE1、前記第2樹脂材のヤング率をE2で表すとき、E1<E2の関係にあり、
前記第1樹脂材と前記樹脂積層体との密着力をAD1、前記第2樹脂材と前記樹脂積層体との密着力をAD2で表すとき、AD2≧AD1の関係にある。
【0010】
(b)本開示の一例としての電子機器は、樹脂多層基板と、当該樹脂多層基板に実装された電子部品とを備える、又は前記樹脂多層基板を実装する他基板を備える。
(【0011】以降は省略されています)
この特許をJ-PlatPat(特許庁公式サイト)で参照する
関連特許
株式会社村田製作所
電池
6日前
株式会社村田製作所
釣り具
5日前
株式会社村田製作所
噴霧ノズル
今日
株式会社村田製作所
フィルタ回路
2日前
株式会社村田製作所
インダクタ部品
12日前
株式会社村田製作所
積層インダクタ
2日前
株式会社村田製作所
呼吸検出システム
2日前
株式会社村田製作所
多層基板及び電子機器
2日前
株式会社村田製作所
多層基板及び電子機器
2日前
株式会社村田製作所
積層セラミックコンデンサ
2日前
株式会社村田製作所
樹脂多層基板及び電子機器
2日前
株式会社村田製作所
樹脂多層基板及び電子機器
2日前
株式会社村田製作所
積層セラミックコンデンサ
今日
株式会社村田製作所
積層セラミックコンデンサ
5日前
株式会社村田製作所
積層セラミックコンデンサ
2日前
株式会社村田製作所
モジュール基板及び電子機器
2日前
株式会社村田製作所
弾性波フィルタ及び高周波モジュール
5日前
株式会社村田製作所
弾性波フィルタ及び高周波モジュール
5日前
株式会社村田製作所
多層基板、モジュール基板及び電子機器
2日前
株式会社村田製作所
コイル部品
12日前
株式会社村田製作所
微生物培養装置
12日前
個人
電子部品の実装方法
今日
株式会社コロナ
電気機器
2か月前
個人
非衝突型ガウス加速器
1か月前
株式会社遠藤照明
照明装置
3か月前
日本精機株式会社
回路基板
22日前
キヤノン株式会社
電子機器
3か月前
日本放送協会
基板固定装置
20日前
アイホン株式会社
電気機器
14日前
個人
節電材料
1か月前
キヤノン株式会社
電子機器
14日前
アイホン株式会社
電気機器
1か月前
メクテック株式会社
配線基板
3か月前
メクテック株式会社
配線基板
1か月前
東レ株式会社
霧化状活性液体供給装置
1か月前
マクセル株式会社
配列用マスク
2か月前
続きを見る
他の特許を見る