TOP
|
特許
|
意匠
|
商標
特許ウォッチ
Twitter
他の特許を見る
10個以上の画像は省略されています。
公開番号
2025135238
公報種別
公開特許公報(A)
公開日
2025-09-18
出願番号
2024032970
出願日
2024-03-05
発明の名称
搬送装置
出願人
伊東電機株式会社
代理人
個人
主分類
B65G
39/18 20060101AFI20250910BHJP(運搬;包装;貯蔵;薄板状または線条材料の取扱い)
要約
【課題】カーブコンベヤの曲路で搬送物を円滑に運ぶ、あるいは搬送装置の片側に搬送物を幅寄せする場合に、搬送ローラのサイズに合わせて複数の部品を必要とすることなく、円滑に搬送物を搬送できる搬送装置を提供する。
【解決手段】コンベヤ本体2と、当該コンベヤ本体2によって搬送される搬送部材7によって構成される搬送装置1であって、前記コンベヤ本体2は、複数の搬送ローラ3及び5が配置されており、前記搬送ローラ3及び5の少なくとも一つは動力によって回転して、前記搬送部材7を移動させる搬送装置1において、前記搬送ローラ3と前記搬送部材7のいずれか一方にガイド部材4が設けられ、前記搬送ローラ3と前記搬送部材7の他方に前記ガイド部材4と係合する溝9が設けられており、前記搬送ローラ3を回転することによって、前記搬送部材7が前記コンベヤ本体2側の前記ガイド部材4または前記溝9の配列8に沿って移動する搬送装置1である。
【選択図】図6
特許請求の範囲
【請求項1】
コンベヤ本体と、当該コンベヤ本体によって搬送される搬送部材によって構成される搬送装置であって、前記コンベヤ本体は、複数の搬送ローラが配置されており、前記搬送ローラの少なくとも一つは動力によって回転して前記搬送部材を移動させる搬送装置において、
前記搬送ローラと前記搬送部材のいずれか一方にガイド部材が設けられ、前記搬送ローラと前記搬送部材の他方に前記ガイド部材と係合する溝が設けられており、前記搬送ローラを回転することによって、前記搬送部材が前記コンベヤ本体側の前記ガイド部材または前記溝の配列に沿って移動することを特徴とする搬送装置。
続きを表示(約 690 文字)
【請求項2】
コンベヤ本体と、当該コンベヤ本体によって搬送される搬送部材によって構成される搬送装置であって、前記コンベヤ本体は、複数の搬送ローラが曲路を形成するように配置されており、前記搬送ローラの少なくとも一つは動力によって回転して前記搬送部材を移動させる搬送装置において、
前記搬送ローラと前記搬送部材のいずれか一方にガイド部材が設けられ、前記搬送ローラと前記搬送部材の他方に前記ガイド部材と係合する溝が設けられており、前記搬送ローラを回転することによって、前記搬送部材が曲路に沿って移動することを特徴とする搬送装置。
【請求項3】
前記ガイド部材は、複数の搬送ローラに設けられており、複数の前記ガイド部材の平面配置が曲路を描いていることを特徴とする請求項2に記載の搬送装置。
【請求項4】
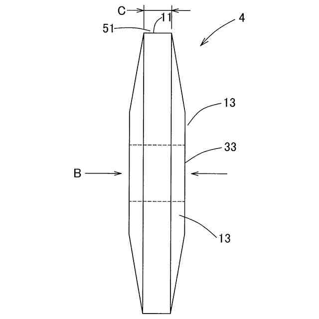
前記搬送部材に前記溝が設けられており、当該溝は、前記コンベヤ本体の曲路にそって曲がっていることを特徴とする請求項3に記載の搬送装置。
【請求項5】
前記ガイド部材は、複数の搬送ローラに設けられており、複数の前記ガイド部材の平面配置は、一方側に向かってしだいに近づいていることを特徴とする請求項1に記載の搬送装置。
【請求項6】
前記搬送ローラに前記ガイド部材が設けられ、前記搬送部材に前記溝が設けられていることを特徴とする請求項1から5のいずれかに記載の搬送装置。
【請求項7】
前記ガイド部材は、リング状であって前記搬送ローラを取り巻いていることを特徴とする請求項6に記載の搬送装置。
発明の詳細な説明
【技術分野】
【0001】
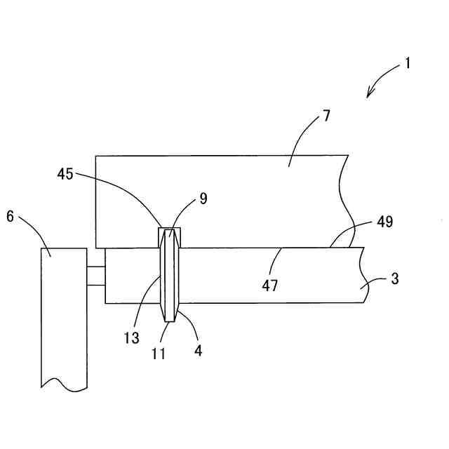
本発明は、搬送装置に関するものであり、特に曲路部を有する搬送装置や、搬送路上の搬送物を、幅方向の任意の位置に幅寄せする機能を有する搬送装置に関するものである。
続きを表示(約 1,900 文字)
【背景技術】
【0002】
製品の組み立てラインや、商品等の配送場では、搬送装置が敷設されることが多い。またコンベヤラインの一部に曲路部を設けたレイアウトを採用する場合もある。また、搬送装置の搬送路の幅は搬送される搬送物の大きさに対応するように設定されている。実際には、搬送路の幅は、搬送物の幅よりも相当に大きく設定されていることが多い。そのため、搬送装置には、搬送路上の幅方向の任意の位置に載置できることが多い。
【0003】
曲路部を構成する搬送装置が、特許文献1に開示されている。図20は、特許文献1に開示された搬送装置100の平面図である。従来技術の搬送装置100は、同心円状に曲げられた2本のフレーム101、102を有し、当該2本のフレーム101、102の間に複数の搬送ローラ103が設けられたものである。
【0004】
搬送ローラ103は、外形形状が円錐形をしている。またいずれかの搬送ローラは、モータが内蔵されたモータ内蔵ローラであり、自転する。また他の搬送ローラ103は、空転ローラである。搬送装置100では、隣接する搬送ローラ103同士の間にベルト105が懸架されており、全ての搬送ローラ103が連動して回転する。
従って、モータ内蔵ローラ内のモータに通電し、モータ内蔵ローラを回転することによって、全ての搬送ローラが回転し、搬送物を搬送することができる。搬送物の搬送軌跡は円弧を描き、進行方向が90度変換される。
【先行技術文献】
【特許文献】
【0005】
特開2011-37576号公報
【発明の概要】
【発明が解決しようとする課題】
【0006】
特許文献1に開示された搬送装置は、搬送用ローラにテーパ状のスリーブを装着するものであった。つまり、搬送用ローラにテーパ状スリーブを装着し、搬送用ローラと一体的に回転させ、搬送物を円滑に搬送する。しかしながら従来の搬送装置では、搬送用ローラの長さや外径によってそのサイズに合わせた複数のテーパ状スリーブが必要となっていた。
【0007】
本発明は、カーブコンベヤの曲路で搬送物を円滑に運ぶ、あるいは搬送装置の片側に搬送物を幅寄せする場合に、搬送ローラのサイズに合わせて複数の部品を必要とすることなく、円滑に搬送物を搬送できる搬送装置を提供する。
【課題を解決するための手段】
【0008】
上記した課題を解決するための態様は、コンベヤ本体と、当該コンベヤ本体によって搬送される搬送部材によって構成される搬送装置であって、前記コンベヤ本体は、複数の搬送ローラが配置されており、前記搬送ローラの少なくとも一つは動力によって回転して前記搬送部材を移動させる搬送装置において、前記搬送ローラと前記搬送部材のいずれか一方にガイド部材が設けられ、前記搬送ローラと前記搬送部材の他方に前記ガイド部材と係合する溝が設けられており、前記搬送ローラを回転することによって、前記搬送部材が前記コンベヤ本体側の前記ガイド部材または前記溝の配列に沿って移動する搬送装置である。
【0009】
本態様によると、搬送ローラと搬送部材のいずれか一方にガイド部材が設けられ、搬送ローラと搬送部材の他方に前記ガイド部材と係合する溝が設けられており、搬送ローラを回転することによって、搬送部材がコンベヤ本体側のガイド部材または溝の配列に沿って移動する。本態様の搬送装置では、搬送部材の溝又はガイド部材が、走行中に搬送ローラ側の溝又はガイド部材と係合する。すなわち、走行中に搬送ローラと搬送部材が係合する。そのため、搬送部材は搬送ローラ側のガイド部材または溝の配列に沿って搬送装置上で円滑に搬送される。
【0010】
同様の課題を解決するためのもう一つの態様は、コンベヤ本体と、当該コンベヤ本体によって搬送される搬送部材によって構成される搬送装置であって、前記コンベヤ本体は、複数の搬送ローラが曲路を形成するように配置されており、前記搬送ローラの少なくとも一つは動力によって回転して前記搬送部材を移動させる搬送装置において、前記搬送ローラと前記搬送部材のいずれか一方にガイド部材が設けられ、前記搬送ローラと前記搬送部材の他方に前記ガイド部材と係合する溝が設けられており、前記搬送ローラを回転することによって、前記搬送部材が曲路に沿って移動する搬送装置である。
(【0011】以降は省略されています)
この特許をJ-PlatPat(特許庁公式サイト)で参照する
関連特許
伊東電機株式会社
搬送装置
15日前
伊東電機株式会社
コンベヤ装置
24日前
伊東電機株式会社
搬送装置、移載装置、並びに搬送物の移載方法
1か月前
伊東電機株式会社
取付部材、並びに、コンベヤ装置
2か月前
個人
箱
11か月前
個人
ゴミ箱
11か月前
個人
収容箱
2か月前
個人
コンベア
4か月前
個人
ゴミ収集器
6か月前
個人
段ボール箱
6か月前
個人
容器
8か月前
個人
段ボール箱
6か月前
個人
土嚢運搬器具
7か月前
個人
楽ちんハンド
4か月前
個人
パウチ補助具
11か月前
個人
バンド
1か月前
個人
宅配システム
6か月前
個人
角筒状構造体
4か月前
個人
閉塞装置
9か月前
個人
廃棄物収容容器
1か月前
個人
包装容器
14日前
個人
お薬の締結装置
5か月前
個人
コード類収納具
7か月前
株式会社コロナ
梱包材
4か月前
個人
ゴミ処理機
8か月前
個人
貯蔵サイロ
6か月前
個人
蓋閉止構造
3か月前
株式会社和気
包装用箱
8か月前
個人
蓋閉止構造
3か月前
個人
積み重ね用補助具
1か月前
個人
把手付米袋
3か月前
三甲株式会社
蓋体
7か月前
株式会社KY7
封止装置
2か月前
三甲株式会社
容器
5か月前
三甲株式会社
容器
5か月前
個人
包装箱
9か月前
続きを見る
他の特許を見る