TOP
|
特許
|
意匠
|
商標
特許ウォッチ
Twitter
他の特許を見る
10個以上の画像は省略されています。
公開番号
2025135268
公報種別
公開特許公報(A)
公開日
2025-09-18
出願番号
2024033030
出願日
2024-03-05
発明の名称
蒸気タービンの非常トリップ装置
出願人
株式会社東芝
,
東芝エネルギーシステムズ株式会社
代理人
弁理士法人サクラ国際特許事務所
主分類
F01D
21/00 20060101AFI20250910BHJP(機械または機関一般;機関設備一般;蒸気機関)
要約
【課題】トリップ状態からの復帰時の蒸気タービンの非常トリップ装置のハンチングを防止する。
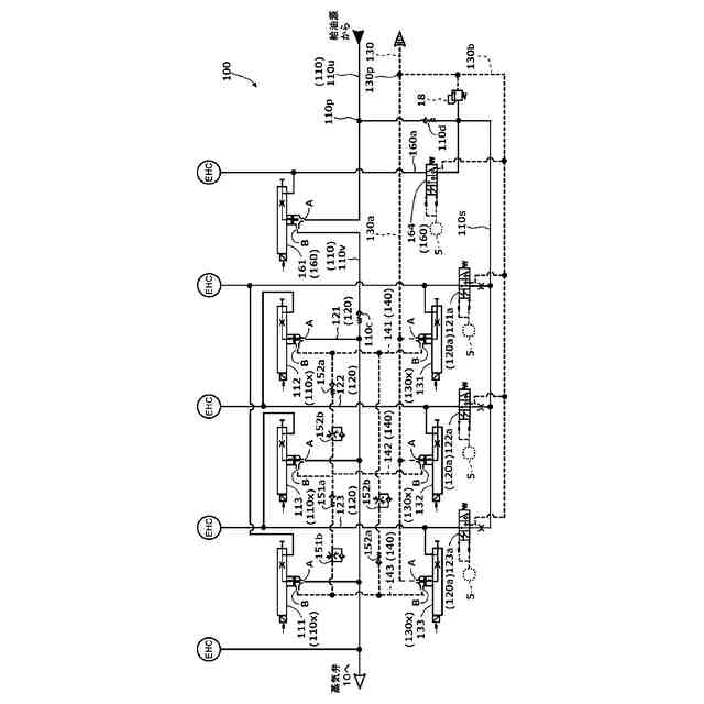
【解決手段】実施形態によれば蒸気タービンの非常トリップ装置100は、非常トリップ信号により蒸気弁10の非常油の油圧を喪失させる。非常トリップ装置100は、非常油配管110、AポートとBポートを有し非常油配管110にAポートが接続された上流側切換え弁110x、非常油を排出する排油配管130、AポートとBポートを有し排油配管130にAポートが接続された下流側切換え弁130x、上流側切換え弁のBポートと下流側切換え弁のBポートを接続する接続配管140、上流側切換え弁との接続状態と排油配管との接続状態との切り替え可能なトリップ電磁弁120a、非常油配管110に設けられた非常油供給停止部160を備える。
【選択図】図2
特許請求の範囲
【請求項1】
非常トリップ信号を受け入れて蒸気弁に供給される非常油の油圧を喪失させ、かつ前記非常トリップ信号の発生前には前記非常油の油圧を維持する蒸気タービンの非常トリップ装置であって、
給油源に接続され前記給油源から前記蒸気弁に至る前記非常油の経路となる非常油配管と、
それぞれが上流側切換え弁Aポートおよび上流側切換え弁Bポートを有し前記非常油配管に前記上流側切換え弁Aポートが接続された複数の上流側切換え弁と、
前記非常油を排出する排油配管と、
それぞれが下流側切換え弁Aポートおよび下流側切換え弁Bポートを有し前記排油配管に前記下流側切換え弁Aポートが接続された複数の下流側切換え弁と、
複数の前記上流側切換え弁のそれぞれの前記上流側切換え弁Bポートと複数の前記下流側切換え弁のそれぞれの前記下流側切換え弁Bポートとを接続する複数の接続配管と、
上流側は前記非常油を前記非常油配管から供給され、下流側は、複数の前記上流側切換え弁との接続状態と前記排油配管との接続状態との切り替え可能な複数のトリップ電磁弁と、
前記非常油配管の流路を遮断可能な非常油供給停止部と、
を備えることを特徴とする蒸気タービンの非常トリップ装置。
続きを表示(約 1,600 文字)
【請求項2】
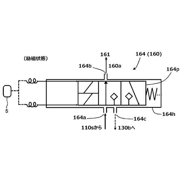
前記非常油供給停止部は、
前記非常トリップ信号を受け入れて動作する供給停止用電磁弁と、
前記非常油配管に設けられ前記非常油配管を上流側非常油配管と下流側非常油配管に区分し、前記供給停止用電磁弁の動作を受けて閉止し複数の前記上流側切換え弁への前記非常油の供給を停止する停止弁と、
を具備することを特徴とする請求項1に記載の蒸気タービンの非常トリップ装置。
【請求項3】
前記停止弁は、遮断弁、パイロットチェック弁、およびスプール弁のいずれか一つであることを特徴とする請求項2に記載の蒸気タービンの非常トリップ装置。
【請求項4】
前記遮断弁は、
前記上流側非常油配管に接続される遮断弁Aポートと、
前記下流側非常油配管に接続される遮断弁Bポートと、
当該遮断弁内での前記遮断弁Aポートと前記遮断弁Bポートの間の連通状態、遮断状態を切り替えるための切換え入力ポートと、
を有することを特徴とする請求項3に記載の蒸気タービンの非常トリップ装置。
【請求項5】
前記パイロットチェック弁は、
前記上流側非常油配管に接続されるパイロットチェック弁Aポートと、
前記下流側非常油配管に接続されるパイロットチェック弁Bポートと、
当該パイロットチェック弁を逆止弁としての一方通行の状態と両方向に通過可能の状態とを切り替えるための外部パイロットポートと、
を有することを特徴とする請求項3に記載の蒸気タービンの非常トリップ装置。
【請求項6】
前記スプール弁は、
前記上流側非常油配管に接続される第1ポートと、
前記下流側非常油配管に接続される第2ポートと、
当該スプール弁内の移動部を移動させて前記第1ポートと前記第2ポートの間の連通状態、遮断状態を切り替えるための第3ポートと、
を有することを特徴とする請求項3に記載の蒸気タービンの非常トリップ装置。
【請求項7】
前記非常油配管は、非常油配管分岐部から分岐し複数の前記トリップ電磁弁に前記非常油を供給する非常油分岐管を有し、
前記非常油供給停止部による前記非常油配管の前記流路の遮断位置は、前記非常油配管において、前記非常油分岐管が分岐する前記非常油配管分岐部の下流側の部分であることを特徴とする請求項1ないし請求項6のいずれか一項に記載の蒸気タービンの非常トリップ装置。
【請求項8】
複数の前記上流側切換え弁は、第1上流側切換え弁、第2上流側切換え弁、および第3上流側切換え弁を有し、
複数の前記下流側切換え弁は、第1下流側切換え弁、第2下流側切換え弁、および第3下流側切換え弁を有し、
複数の前記接続配管は、
前記第1上流側切換え弁の前記上流側切換え弁Bポートと前記第1下流側切換え弁の前記下流側切換え弁Bポートとを接続する第1接続配管と、
前記第2上流側切換え弁の前記上流側切換え弁Bポートと前記第2下流側切換え弁の前記下流側切換え弁Bポートとを接続する第2接続配管と、
前記第3上流側切換え弁の前記上流側切換え弁Bポートと前記第3下流側切換え弁の前記下流側切換え弁Bポートとを接続する第3接続配管と、
を有し、
複数の前記トリップ電磁弁は、
前記非常トリップ信号を受け入れて、前記第3上流側切換え弁および前記第1下流側切換え弁を切り替える第1トリップ電磁弁と、
前記非常トリップ信号を受け入れて、前記第1上流側切換え弁および前記第2下流側切換え弁を切り替える第2トリップ電磁弁と、
前記非常トリップ信号を受け入れて、前記第2上流側切換え弁および前記第3下流側切換え弁を切り替える第3トリップ電磁弁と、
を有する、
ことを特徴とする請求項1に記載の蒸気タービンの非常トリップ装置。
発明の詳細な説明
【技術分野】
【0001】
本発明の実施形態は、蒸気タービンの非常トリップ装置に関する。
続きを表示(約 1,600 文字)
【背景技術】
【0002】
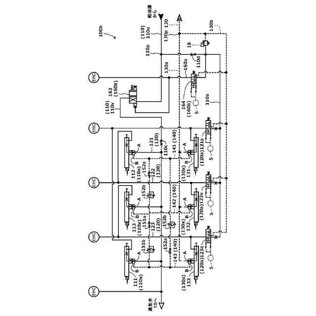
図11は、従来の非常トリップ装置の構成例を示す系統図である。非常トリップ装置は、給油源から蒸気タービンの主蒸気止め弁、蒸気加減弁等の蒸気弁10に供給される非常油の経路を構成する。
【0003】
蒸気タービンの運転中においては、蒸気弁が開状態であり、そのために非常トリップ装置は、非常油の油圧を確保する状態となっている。一方、非常トリップ信号の発生時は、非常トリップ装置は、非常油の油圧を喪失させる状態に移行する。すなわち、非常トリップ装置において非常油が排油側に連通して非常油の油圧が確保されない状態となる。この結果、蒸気弁10は急速に閉止(急閉)する。すなわち、蒸気タービンが非常トリップする。具体的には、蒸気弁が急閉することによって蒸気タービンへの作動蒸気の流入が阻止され、蒸気タービンが停止状態に移行する。
【0004】
このように、非常トリップ装置は、蒸気タービンの運転中においては非常油の油圧を確保し、別に設けられているタービン保護回路5から非常トリップ信号が出されると、トリップ論理に従って非常油の油圧を喪失させるように構成されている。
【0005】
図11は、トリップ論理が「2 out of 3」の場合の構成を示している。ここで、「2 out of 3」とは、非常トリップの論理回路によってそれぞれ生成された3つの系列のタービントリップ信号のうち、1つの系列の成立のみでは動作せず、2つまたは3つの系列が成立した場合に動作する論理である。
【0006】
非常トリップ装置は、このトリップ論理に対応した構成となっている、詳細は、実施形態において説明する。
【0007】
非常トリップ装置は、基本的には、給油源から蒸気弁10への非常油の流路である非常油配管110と、非常油を非常トリップ装置外に排出する排油配管130と、この両配管の間で、流路を切り替えるための各要素を有する。
【0008】
流路を切り替えるための要素として、121a、122a、123aで示す3つのトリップ電磁弁120a、121、122、123で示す3つのパイロット配管120、111、112、113で示す3つの上流側切換え弁110x、131,132、133で示す3つの下流側切換え弁130x、およびこれらの間を接続する141、142、143で示す接続配管140が設けられている。
【0009】
上流側切換え弁110xおよび下流側切換え弁130xは、それぞれ2つのポート(Aポート、Bポート)を有しており、それぞれの切換え弁の内部で、2つのポート間が連通する状態と遮断される状態の間を相互に移行可能となっている。上流側切換え弁110xのAポートは非常油配管110に接続されている。また、下流側切換え弁130xのAポートは排油配管130に接続されている。また、上流側切換え弁110xのBポートと下流側切換え弁130xのBポートは、トリップ論理に対応した組み合わせに従って、接続配管によって互いに接続されている。
【0010】
3つのトリップ電磁弁120aは、それぞれタービントリップ回路からの各系列のタービントリップ信号を受けて、それぞれが対応する上流側切換え弁110xおよび下流側切換え弁130xの内部を連通状態に移行させるように動作する。トリップ電磁弁120aは、たとえば三方弁であり、この動作は油圧回路の切換えの形態で行われる。この結果、非常油配管110と排油配管130とがいずれかの要素を経由して連通した場合には、蒸気弁10に供給する非常油の油圧が喪失して、蒸気タービンのトリップに至ることになる。
【先行技術文献】
【特許文献】
(【0011】以降は省略されています)
この特許をJ-PlatPat(特許庁公式サイト)で参照する
関連特許
株式会社東芝
センサ
16日前
株式会社東芝
センサ
16日前
株式会社東芝
モータ
11日前
株式会社東芝
吸音装置
11日前
株式会社東芝
金型構造
16日前
株式会社東芝
電子装置
10日前
株式会社東芝
半導体装置
13日前
株式会社東芝
半導体装置
13日前
株式会社東芝
半導体装置
13日前
株式会社東芝
半導体装置
13日前
株式会社東芝
半導体装置
23日前
株式会社東芝
半導体装置
13日前
株式会社東芝
粒子加速器
10日前
株式会社東芝
半導体装置
13日前
株式会社東芝
半導体装置
13日前
株式会社東芝
ディスク装置
13日前
株式会社東芝
海水用構造体
23日前
株式会社東芝
音響制御装置
9日前
株式会社東芝
重量測定装置
9日前
株式会社東芝
電子デバイス
11日前
株式会社東芝
電子デバイス
11日前
株式会社東芝
ディスク装置
13日前
株式会社東芝
台車搬送装置
9日前
株式会社東芝
電子デバイス
11日前
株式会社東芝
熱電変換装置
11日前
株式会社東芝
アーク溶接方法
9日前
株式会社東芝
開口部明示部材
24日前
株式会社東芝
磁気ディスク装置
13日前
株式会社東芝
位置推定システム
23日前
株式会社東芝
磁気ディスク装置
11日前
株式会社東芝
磁気ディスク装置
9日前
株式会社東芝
磁気ディスク装置
10日前
株式会社東芝
磁気ディスク装置
9日前
株式会社東芝
光量子乱数生成器
5日前
株式会社東芝
磁気ディスク装置
24日前
株式会社東芝
磁気ディスク装置
9日前
続きを見る
他の特許を見る