TOP
|
特許
|
意匠
|
商標
特許ウォッチ
Twitter
他の特許を見る
10個以上の画像は省略されています。
公開番号
2025142516
公報種別
公開特許公報(A)
公開日
2025-10-01
出願番号
2024041925
出願日
2024-03-18
発明の名称
磁気ディスク装置
出願人
株式会社東芝
,
東芝デバイス&ストレージ株式会社
代理人
弁理士法人スズエ国際特許事務所
主分類
G11B
5/596 20060101AFI20250924BHJP(情報記憶)
要約
【課題】マイクロアクチュエータのストローク制約を考慮した多段アクチュエータ系の磁気ディスク装置を提供する。
【解決手段】本実施形態に係る磁気ディスク装置は、独立して同時にデータの読み書きが可能な複数のヘッドと、各前記ヘッドにそれぞれ1以上備えられ全て独立に制御可能なマイクロアクチュエータと、各前記ヘッドを制御するVCMと、少なくとも前記マイクロアクチュエータの変位量を利用して、同時オントラックさせるヘッドの集合である最終集合を決定する同時オントラックヘッド決定部と、同時オントラック時にVCMの目標位置を決定するVCM目標位置決定部と、同時オントラック時にVCM制御器を切り替えるVCM制御切替部と、前記同時オントラックヘッド決定部が決めた同時オントラックする各ヘッドについて、マイクロアクチュエータの制御器を切り替えるMA制御切替部とを備える。
【選択図】図6
特許請求の範囲
【請求項1】
独立して同時にデータの読み書きが可能な複数のヘッドと、
各前記ヘッドにそれぞれ1以上備えられ全て独立に制御可能なマイクロアクチュエータと、
各前記ヘッドを制御するVCMと、
少なくとも前記マイクロアクチュエータの変位量を利用して、同時オントラックさせるヘッドの集合である最終集合を決定する同時オントラックヘッド決定部と、
同時オントラック時にVCMの目標位置を決定するVCM目標位置決定部と、
同時オントラック時にVCM制御器を切り替えるVCM制御切替部と、
前記同時オントラックヘッド決定部が決めた同時オントラックする各ヘッドについて、マイクロアクチュエータの制御器を切り替えるMA制御切替部と、
を備える磁気ディスク装置。
続きを表示(約 1,000 文字)
【請求項2】
前記同時オントラックヘッド決定部は、外部からの同時オントラック要求に指定されるヘッドの第1集合に基づいて前記最終集合を決定する請求項1に記載の磁気ディスク装置。
【請求項3】
前記同時オントラックヘッド決定部は,外部から受け取ったデータアクセス要求に基づいて同時オントラックさせるヘッドの第1集合を決定し、前記第1集合に基づいて前記最終集合を決定する請求項1に記載の磁気ディスク装置。
【請求項4】
前記最終集合に含まれる第1ヘッドは、前記第1ヘッドを制御する1以上の第1マイクロアクチュエータを備え、
前記1以上の第1マイクロアクチュエータの目標位置が、前記VCMの目標位置と前記1以上の第1マイクロアクチュエータの最大変位量の総和との差の絶対値を超える場合に、前記第1ヘッドを前記第1集合から取り除く請求項2乃至請求項3のいずれか1項に記載の磁気ディスク装置。
【請求項5】
前記VCM目標位置決定部は、前記最終集合に含まれる全てのヘッドの目標位置に基づいて前記VCMの目標位置を決定する請求項1に記載の磁気ディスク装置。
【請求項6】
前記VCM目標位置決定部が決定したVCM目標位置、前記最終集合に含まれる第2ヘッドの目標位置、前記第2ヘッドを制御する1以上の第2マイクロアクチュエータの総変位量に基づいて前記VCMを制御する請求項1に記載の磁気ディスク装置。
【請求項7】
前記MA制御切替部は、前記最終集合に含まれる第3ヘッドを制御する1以上の第3マイクロアクチュエータを、フィードフォワード制御で入力可能な最大電圧を掛ける第1種のマイクロアクチュエータもしくはVCM制御系と、フィードフォワード制御をすることにしたマイクロアクチュエータ制御系の元々の特性を考慮した制御器に切り替えて制御する第2種のマイクロアクチュエータを決定して制御器を切り替える請求項1に記載の磁気ディスク装置。
【請求項8】
前記MA制御切替部は、前記最終集合に含まれる第4ヘッドを制御する1以上の第4マイクロアクチュエータの入力電圧が、各前記第4マイクロアクチュエータごとに予め決まっている入力電圧の最大値である最大電圧を超えないように制御する請求項7に記載の磁気ディスク装置。
発明の詳細な説明
【技術分野】
【0001】
本発明の実施形態は、多段マイクロアクチュエータ系の磁気ディスク装置に関するものである。
続きを表示(約 2,100 文字)
【背景技術】
【0002】
多段マイクロアクチュエータ系の磁気ディスク装置は、1つのヘッドに複数のマイクロアクチュエータを備える。複数のマイクロアクチュエータに対する入力電圧はそれぞれ独立に設定できるが、絶対値の大きな電圧を掛けると素子の劣化を招くことがある。
【先行技術文献】
【特許文献】
【0003】
米国特許第5072318号明細書
米国特許第7054094号明細書
米国特許第8503124号明細書
【発明の概要】
【発明が解決しようとする課題】
【0004】
本発明の実施形態が解決しようとする課題は、マイクロアクチュエータの電圧制約を考慮した多段アクチュエータ系の磁気ディスク装置を提供することである。
【課題を解決するための手段】
【0005】
本実施形態に係る磁気ディスク装置は、本実施形態に係る磁気ディスク装置は、独立して同時にデータの読み書きが可能な複数のヘッドと、各前記ヘッドにそれぞれ1以上備えられ全て独立に制御可能なマイクロアクチュエータと、各前記ヘッドを制御するVCMと、少なくとも前記マイクロアクチュエータの制御入力(マイクロアクチュエータ制御電圧)または変位量を利用して、同時オントラックさせるヘッドの集合である最終集合を決定する同時オントラックヘッド決定部と、同時オントラック時にVCMの目標位置を決定するVCM目標位置決定部と、同時オントラック時にVCM制御器を切り替えるVCM制御切替部と、前記同時オントラックヘッド決定部が決めた同時オントラックする各ヘッドについて、マイクロアクチュエータの制御器を切り替えるMA制御切替部とを備える。
【図面の簡単な説明】
【0006】
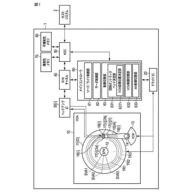
図1は、実施形態に係る磁気ディスク装置の構成図である。
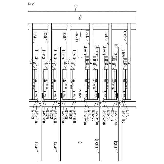
図2は、実施形態に係る磁気ディスク装置の多段マイクロアクチュエータの例を示す模式図である。
図3は、実施形態に係る磁気ディスク装置におけるサーボ制御部及び関連部位に対するブロック線図の例であり、複数のマイクロアクチュエータを備えた1つのヘッドに着目した場合の例である。
図4は、実施形態に係る磁気ディスク装置におけるVCMやマイクロアクチュエータを制御する制御器のブロック線図の例であり、複数のヘッド及び複数のマイクロアクチュエータを考慮した場合の例である。
図5は、実施形態に係る磁気ディスク装置におけるVCMやマイクロアクチュエータを制御する制御器のブロック線図の例であり、複数のマイクロアクチュエータを備えた1つのヘッドiに着目した場合の例である。
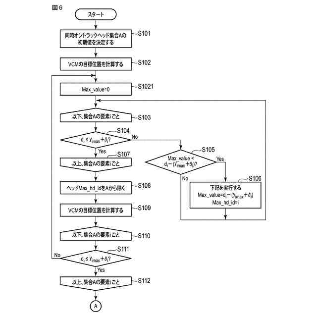
図6は、第1の実施形態に係る磁気ディスク装置が複数のヘッドを制御する際の処理動作を示す第1のフローチャートである。
図7は、第1の実施形態に係る磁気ディスク装置が複数のヘッドを制御する際の処理動作を示す第2のフローチャートである。
図8は、第1の実施形態に係る磁気ディスク装置が複数のヘッドから処理対象とするヘッドを選択する方法を説明するための模式図である。
図9は、第2の実施形態に係る磁気ディスク装置が複数のヘッドを制御する際の処理動作を示すフローチャートである。
図10は、第2の実施形態に係る磁気ディスク装置が複数のヘッドから処理対象とするヘッドを選択する方法を説明するための模式図である。
図11は、第3の実施形態に係る磁気ディスク装置が複数のヘッドを制御する際の処理動作を示すフローチャートである。
図12は、第3の実施形態に係る磁気ディスク装置が複数のヘッドから処理対象とするヘッドを選択する方法を説明するための模式図である。
【発明を実施するための形態】
【0007】
以下、実施の形態について図面を参照して説明する。なお、図面は、一例であって、発明の範囲を限定するものではない。
【0008】
(第1の実施形態)
本実施形態では、1つのヘッドに複数のマイクロアクチュエータ(以降、MAと称する場合もある)を備え、全てのMAの電圧をそれぞれ独立に設定できる構成の磁気ディスク装置(Hard Disk Drive:HDD)において、複数のヘッドでそれぞれオントラックして同時に読み書きする磁気ディスク装置の例を示す。
【0009】
MAは絶対値の大きな電圧を掛けると素子の劣化を招くことがある。そこで、本実施形態の磁気ディスク装置は、複数のヘッドでそれぞれ同時にオントラックする際に、複数ヘッドのそれぞれを制御する複数のMAへの入力電圧を同時に考慮して複数のヘッドを制御する。より具体的には、各MAの電圧制約(入力可能な最大電圧)を考慮して各MAへの入力電圧を制御し、複数ヘッドで同時読み書きをする。
【0010】
図1は、実施形態に係る磁気ディスク装置の構成図である。
(【0011】以降は省略されています)
この特許をJ-PlatPat(特許庁公式サイト)で参照する
関連特許
株式会社東芝
固定子
1か月前
株式会社東芝
モータ
2日前
株式会社東芝
センサ
1か月前
株式会社東芝
センサ
7日前
株式会社東芝
センサ
1か月前
株式会社東芝
センサ
7日前
株式会社東芝
ドア構造
1か月前
株式会社東芝
電子装置
1日前
株式会社東芝
金型構造
7日前
株式会社東芝
吸音装置
2日前
株式会社東芝
燃料電池
2か月前
株式会社東芝
回路素子
1か月前
株式会社東芝
電動送風機
1か月前
株式会社東芝
半導体装置
4日前
株式会社東芝
X線厚み計
2か月前
株式会社東芝
半導体装置
4日前
株式会社東芝
半導体装置
4日前
株式会社東芝
粒子加速器
1日前
株式会社東芝
ラック装置
1か月前
株式会社東芝
半導体装置
4日前
株式会社東芝
半導体装置
14日前
株式会社東芝
半導体装置
4日前
株式会社東芝
半導体装置
16日前
株式会社東芝
半導体装置
4日前
株式会社東芝
半導体装置
4日前
株式会社東芝
半導体装置
2か月前
株式会社東芝
電子デバイス
2日前
株式会社東芝
電子デバイス
2日前
株式会社東芝
重量測定装置
今日
株式会社東芝
計測システム
1か月前
株式会社東芝
電子デバイス
2日前
株式会社東芝
開発支援装置
1か月前
株式会社東芝
差動伝送回路
1か月前
株式会社東芝
ディスク装置
1か月前
株式会社東芝
ディスク装置
1か月前
株式会社東芝
水中洗浄装置
2か月前
続きを見る
他の特許を見る