TOP
|
特許
|
意匠
|
商標
特許ウォッチ
Twitter
他の特許を見る
10個以上の画像は省略されています。
公開番号
2025140019
公報種別
公開特許公報(A)
公開日
2025-09-29
出願番号
2024039159
出願日
2024-03-13
発明の名称
半導体装置
出願人
株式会社東芝
,
東芝デバイス&ストレージ株式会社
代理人
弁理士法人iX
主分類
H10D
12/00 20250101AFI20250919BHJP()
要約
【課題】オン電圧を低減可能な半導体装置を提供する。
【解決手段】実施形態によれば、半導体装置は、第1、2電極と半導体層と第1、2ゲート電極と第1、2絶縁領域とを含む。第2電極から第1電極への方向は、第1方向に沿う。半導体層は、第1、2電極の間に設けられる。半導体層は、第1導電形の第1、2、6半導体領域と第2導電形の第3、4、5半導体領域とを含む。第2半導体領域は、第1半導体領域と第1電極との間に設けられ、第1電極と電気的に接続される。第3半導体領域の一部は、第1、2半導体領域の間に設けられ第1ゲート電極と対向する。第4半導体領域は、第1半導体領域と第2電極との間に設けられ、第2電極と電気的に接続される。第6半導体領域は、第1領域を含む。第1領域は、第4半導体領域と第5半導体領域との間に設けられ第2ゲート電極と対向する。
【選択図】図1
特許請求の範囲
【請求項1】
第1電極と、
第2電極であって、前記第2電極から前記第1電極への方向は、第1方向に沿う、第2電極と、
前記第1電極と前記第2電極との間に設けられ、前記第1電極の側の第1面と、前記第1面とは反対側の第2面と、を有する半導体層であって、前記第1面及び前記第2面は、前記第1方向に垂直な第2方向に沿って延在する、半導体層と、
前記半導体層の前記第1電極の側に設けられた第1ゲート電極と、
前記半導体層の前記第2電極の側に設けられた第2ゲート電極であって、前記第2面が前記第1面と前記第2電極との間に位置する第2ゲート電極と、
前記第1ゲート電極と前記半導体層との間に設けられた第1絶縁領域と、
前記第2ゲート電極と前記半導体層の前記第2面との間に設けられた第2絶縁領域と、
を備え、
前記半導体層は、
第1導電形の第1半導体領域と、
前記第1半導体領域と前記第1電極との間に設けられ、前記第1電極と電気的に接続された、第1導電形の第2半導体領域と、
前記第1電極と電気的に接続された第2導電形の第3半導体領域であって、前記第3半導体領域の一部は、前記第1半導体領域と前記第2半導体領域との間に設けられ前記第1絶縁領域と接して前記第1ゲート電極と対向する、第3半導体領域と、
前記第1半導体領域と前記第2電極との間に設けられ、前記第2電極と電気的に接続された、第2導電形の第4半導体領域と、
前記第2方向において前記第4半導体領域から離れた、第2導電形の第5半導体領域と、
前記第4半導体領域と前記第5半導体領域との間に設けられ前記第2絶縁領域と接して前記第2ゲート電極と対向する第1領域を含む、第1導電形の第6半導体領域と、
を含む、半導体装置。
続きを表示(約 2,200 文字)
【請求項2】
前記第6半導体領域は、前記第1半導体領域と前記第5半導体領域との間に設けられた第2領域を含み、
前記第6半導体領域における第1導電形の不純物濃度は、前記第1半導体領域における第1導電形の不純物濃度よりも高い、請求項1に記載の半導体装置。
【請求項3】
第1電極と、
第2電極であって、前記第2電極から前記第1電極への方向は、第1方向に沿う、第2電極と、
前記第1電極と前記第2電極との間に設けられた半導体層と
前記半導体層の前記第1電極の側に設けられた第1ゲート電極と、
前記半導体層の前記第2電極の側に設けられた第2ゲート電極と、
前記第1ゲート電極と前記半導体層との間に設けられた第1絶縁領域と、
前記第2ゲート電極と前記半導体層との間に設けられた第2絶縁領域と、
を備え、
前記半導体層は、
第1導電形の第1半導体領域と、
前記第1半導体領域と前記第1電極との間に設けられ、前記第1電極と電気的に接続された、第1導電形の第2半導体領域と、
前記第1電極と電気的に接続された第2導電形の第3半導体領域であって、前記第3半導体領域の一部は、前記第1半導体領域と前記第2半導体領域との間に設けられ前記第1絶縁領域と接して前記第1ゲート電極と対向する、第3半導体領域と、
前記第1半導体領域と前記第2電極との間に設けられ、前記第2電極と電気的に接続された、第2導電形の第4半導体領域と、
前記第4半導体領域から離れた、第2導電形の第5半導体領域と、
前記第4半導体領域と前記第5半導体領域との間に設けられ前記第2絶縁領域と接して前記第2ゲート電極と対向する第1領域と、前記第1半導体領域と前記第5半導体領域との間に設けられた第2領域と、を含む第1導電形の第6半導体領域であって、前記第6半導体領域における第1導電形の不純物濃度は、前記第1半導体領域における第1導電形の不純物濃度よりも高い、第6半導体領域と、
を含む、半導体装置。
【請求項4】
前記第5半導体領域における第2導電形の不純物濃度は、前記第4半導体領域における第2導電形の不純物濃度よりも高い、請求項1~3のいずれか1つに記載の半導体装置。
【請求項5】
前記第5半導体領域の前記第1方向に垂直な第2方向に沿った長さは、前記第4半導体領域の前記第2方向に沿った長さよりも短い、請求項1~3のいずれか1つに記載の半導体装置。
【請求項6】
前記第5半導体領域の前記第1方向に垂直な第2方向に沿った長さは、前記第4半導体領域の前記第2方向に沿った長さよりも長い、請求項1~3のいずれか1つに記載の半導体装置。
【請求項7】
前記第4半導体領域は、前記第1方向に垂直な第2方向に複数並べて設けられ、
前記第1領域は、前記第2方向に複数並べて設けられ、
複数の前記第4半導体領域のうち前記第2方向において互いに隣接する2つの前記第4半導体領域の間に、複数の前記第1領域のうち前記第2方向において互いに隣接する2つの前記第1領域が設けられ、
前記2つの前記第1領域の間に、1つの前記第5半導体領域が設けられ、
前記2つの前記第1領域及び前記1つの前記第5半導体領域は、1つの前記第2ゲート電極と前記第1方向において対向する、請求項1~3のいずれか1つに記載の半導体装置。
【請求項8】
前記第4半導体領域は、前記第1方向に垂直な第2方向に複数並べて設けられ、
前記第1領域は、前記第2方向に複数並べて設けられ、
前記第2ゲート電極は、前記第2方向に複数並べて設けられ、
複数の前記第4半導体領域のうち前記第2方向において互いに隣接する2つの前記第4半導体領域の間に、複数の前記第1領域のうち前記第2方向において互いに隣接する2つの前記第1領域が設けられ、
前記2つの前記第1領域の間に、1つの前記第5半導体領域が設けられ、
前記2つの前記第1領域のそれぞれは、複数の前記第2ゲート電極のうち前記第2方向において互いに隣接する2つの前記第2ゲート電極のそれぞれと前記第1方向において対向し、
1つの前記第5半導体領域は、前記2つの前記第2ゲート電極の間に設けられた第3絶縁領域と、前記第1方向において対向する、請求項1~3のいずれか1つに記載の半導体装置。
【請求項9】
前記第5半導体領域は、第1部分領域と、第2部分領域と、を含み、
前記第1部分領域における第2導電形の不純物濃度は、前記第2部分領域における第2導電形の不純物濃度よりも高く、
前記第2絶縁領域は、前記第2部分領域と前記第2ゲート電極との間に位置し、前記第2部分領域と接する、請求項1~3のいずれか1つに記載の半導体装置。
【請求項10】
前記第2ゲート電極から前記第1部分領域への方向は、前記第1方向に沿い、
前記第2ゲート電極から前記第2部分領域への方向は、前記第1方向に沿い、
前記第2部分領域は、前記第1部分領域と前記第2ゲート電極との間に位置する、請求項9に記載の半導体装置。
(【請求項11】以降は省略されています)
発明の詳細な説明
【技術分野】
【0001】
本発明の実施形態は、半導体装置に関する。
続きを表示(約 2,600 文字)
【背景技術】
【0002】
例えば、IGBT(Insulated Gate Bipolar Transistor)などの半導体装置がある。
【先行技術文献】
【特許文献】
【0003】
特開2022-049610号公報
【発明の概要】
【発明が解決しようとする課題】
【0004】
本発明の実施形態は、オン電圧を低減可能な半導体装置を提供する。
【課題を解決するための手段】
【0005】
本発明の実施形態によれば、半導体装置は、第1電極と、第2電極と、半導体層と、第1ゲート電極と、第2ゲート電極と、第1絶縁領域と、第2絶縁領域と、を含む。前記第2電極から前記第1電極への方向は、第1方向に沿う。前記半導体層は、前記第1電極と前記第2電極との間に設けられる。前記半導体層は、前記第1電極の側の第1面と、前記第1面とは反対側の第2面と、を有する。前記第1面及び前記第2面は、前記第1方向に垂直な第2方向に沿って延在する。前記第1ゲート電極は、前記半導体層の前記第1電極の側に設けられる。前記第2ゲート電極は、前記半導体層の前記第2電極の側に設けられる。前記第2面は、前記第1面と前記第2電極との間に位置する。前記第1絶縁領域は、前記第1ゲート電極と前記半導体層との間に設けられる。前記第2絶縁領域は、前記第2ゲート電極と前記半導体層の前記第2面との間に設けられる。前記半導体層は、第1導電形の第1半導体領域と、第1導電形の第2半導体領域と、第2導電形の第3半導体領域と、第2導電形の第4半導体領域と、第2導電形の第5半導体領域と、第1導電形の第6半導体領域と、を含む。前記第2半導体領域は、前記第1半導体領域と前記第1電極との間に設けられ、前記第1電極と電気的に接続される。前記第3半導体領域は、前記第1電極と電気的に接続される。前記第3半導体領域の一部は、前記第1半導体領域と前記第2半導体領域との間に設けられ前記第1絶縁領域と接して前記第1ゲート電極と対向する。前記第4半導体領域は、前記第1半導体領域と前記第2電極との間に設けられ、前記第2電極と電気的に接続される。前記第5半導体領域は、前記第2方向において前記第4半導体領域から離れる。前記第6半導体領域は、第1領域を含む。前記第1領域は、前記第4半導体領域と前記第5半導体領域との間に設けられ前記第2絶縁領域と接して前記第2ゲート電極と対向する。
【図面の簡単な説明】
【0006】
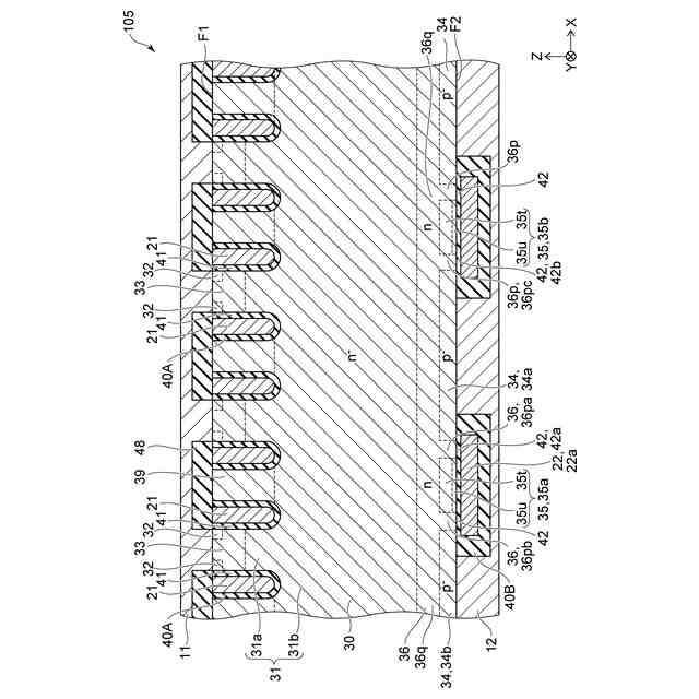
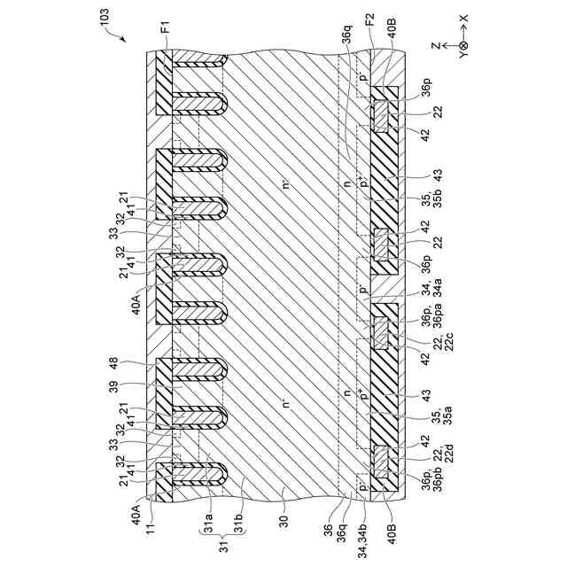
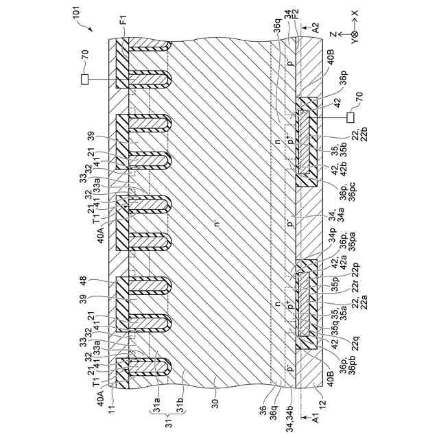
図1は、実施形態に係る半導体装置を例示する模式的断面図である。
図2は、実施形態に係る半導体装置を例示する模式的断面図である。
図3(a)及び図3(b)は、実施形態に係る半導体装置の動作を例示する模式図である。
図4は、参考例に係る半導体装置を例示する模式的断面図である。
図5は、実施形態に係る半導体装置を例示する模式的断面図である。
図6は、実施形態に係る半導体装置を例示する模式的断面図である。
図7は、実施形態に係る半導体装置を例示する模式的断面図である。
図8は、実施形態に係る半導体装置を例示する模式的断面図である。
図9は、実施形態に係る半導体装置を例示する模式的断面図である。
図10は、実施形態に係る半導体装置を例示する模式的断面図である。
【発明を実施するための形態】
【0007】
以下に、本発明の各実施の形態について図面を参照しつつ説明する。
図面は模式的または概念的なものであり、各部分の厚さと幅との関係、部分間の大きさの比率などは、必ずしも現実のものと同一とは限らない。同じ部分を表す場合であっても、図面により互いの寸法や比率が異なって表される場合もある。
本願明細書と各図において、既出の図に関して前述したものと同様の要素には同一の符号を付して詳細な説明は適宜省略する。
以下の説明及び図面において、n
+
、n、n
-
、p
+
、p、p
-
及びの表記は、各不純物濃度の相対的な高低を表す。すなわち、「+」が付されている表記は、「+」及び「-」のいずれも付されていない表記よりも不純物濃度が相対的に高く、「-」が付されている表記は、いずれも付されていない表記よりも不純物濃度が相対的に低いことを示す。これらの表記は、それぞれの領域にp形不純物とn形不純物の両方が含まれている場合には、それらの不純物が補償しあった後の正味の不純物濃度の相対的な高低を表す。以下で説明する各実施形態について、各半導体領域のp形(第2導電形)とn形(第1導電形)を反転させて各実施形態を実施してもよい。
【0008】
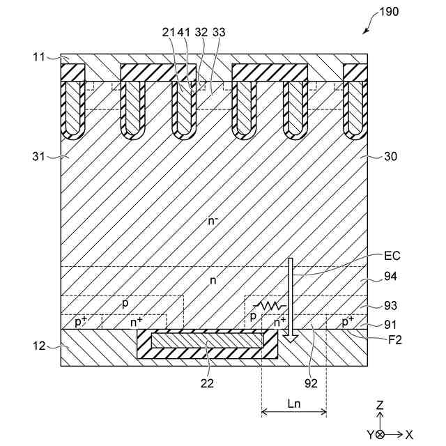
図1及び図2は、実施形態に係る半導体装置を例示する模式的断面図である。
図2は、図1に示したA1-A2線における断面を例示している。図2においては、半導体層30の裏面側の半導体領域の位置を破線で示している。また、それら半導体領域の不純物濃度(n、p
+
、p
-
等)を例示している。
図1に表したように、実施形態に係る半導体装置101は、第1電極11(例えばエミッタ電極)と、第2電極12(例えばコレクタ電極)と、半導体層30と、を含む。半導体層30は、第1電極11と第2電極12との間に設けられている。
【0009】
第2電極12から第1電極11への方向は、第1方向に沿う。実施形態の説明において、第1方向をZ方向とする。第1方向と交差する方向を第2方向(X方向)とする。X方向は、Z方向に対して垂直な方向でよい。第1方向及び第2方向と交差する方向を第3方向(Y方向)とする。Y方向は、Z方向及びX方向に対して垂直な方向でよい。
【0010】
半導体層30は、第1面F1(例えば表面)と第2面F2(例えば裏面)とを有する。第1面F1は、半導体層30の第1電極11の側の面である。第2面F2は、半導体層30の第2電極12の側の面であり、半導体層30の第1面F1とは反対側である。第1面F1及び第2面F2は、それぞれ、Z方向に垂直なX-Y平面に沿って延在する。
(【0011】以降は省略されています)
この特許をJ-PlatPat(特許庁公式サイト)で参照する
関連特許
株式会社東芝
センサ
9日前
株式会社東芝
センサ
1か月前
株式会社東芝
センサ
2か月前
株式会社東芝
センサ
9日前
株式会社東芝
モータ
4日前
株式会社東芝
固定子
1か月前
株式会社東芝
回路素子
2か月前
株式会社東芝
吸音装置
4日前
株式会社東芝
金型構造
9日前
株式会社東芝
電子装置
3日前
株式会社東芝
ドア構造
1か月前
株式会社東芝
電動送風機
1か月前
株式会社東芝
半導体装置
6日前
株式会社東芝
半導体装置
6日前
株式会社東芝
半導体装置
18日前
株式会社東芝
半導体装置
6日前
株式会社東芝
半導体装置
16日前
株式会社東芝
半導体装置
2か月前
株式会社東芝
X線厚み計
2か月前
株式会社東芝
粒子加速器
3日前
株式会社東芝
半導体装置
6日前
株式会社東芝
ラック装置
1か月前
株式会社東芝
半導体装置
6日前
株式会社東芝
半導体装置
6日前
株式会社東芝
半導体装置
6日前
株式会社東芝
重量測定装置
2日前
株式会社東芝
ディスク装置
6日前
株式会社東芝
ディスク装置
6日前
株式会社東芝
熱電変換装置
4日前
株式会社東芝
電子デバイス
4日前
株式会社東芝
電子デバイス
4日前
株式会社東芝
電子デバイス
4日前
株式会社東芝
走行システム
24日前
株式会社東芝
海水用構造体
16日前
株式会社東芝
ディスク装置
1か月前
株式会社東芝
電力変換装置
1か月前
続きを見る
他の特許を見る