TOP
|
特許
|
意匠
|
商標
特許ウォッチ
Twitter
他の特許を見る
10個以上の画像は省略されています。
公開番号
2025143786
公報種別
公開特許公報(A)
公開日
2025-10-02
出願番号
2024043219
出願日
2024-03-19
発明の名称
粒子加速器
出願人
株式会社東芝
,
東芝エネルギーシステムズ株式会社
代理人
弁理士法人東京国際特許事務所
主分類
H05H
9/00 20060101AFI20250925BHJP(他に分類されない電気技術)
要約
【課題】収束要素内蔵ドリフトチューブに内蔵の収束要素の磁場勾配が永久磁石による磁場勾配の小さな値であっても、粒子のビーム透過率を向上させることができる。
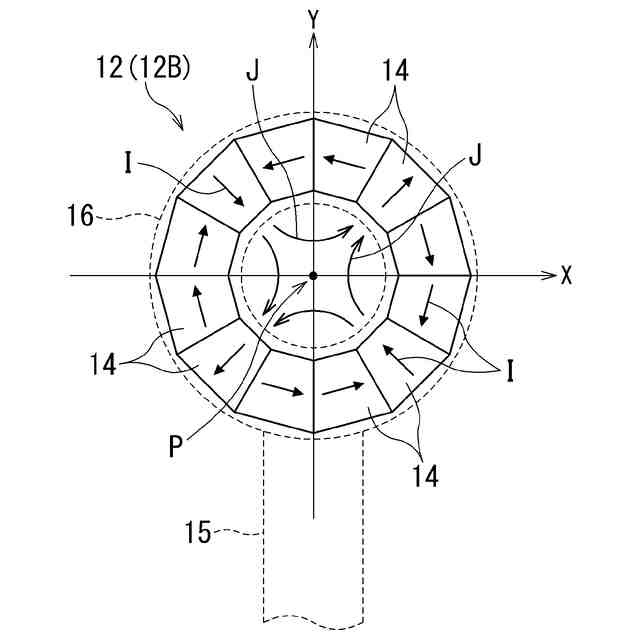
【解決手段】加速空洞11内で粒子が通過するビーム軸P上に、粒子のビームを特定方向に収束させる収束要素を内蔵した収束要素内蔵ドリフトチューブ12が複数配置され、これらの収束要素内蔵ドリフトチューブが発生する電磁場によって加速空洞内で粒子を加速させる粒子加速器としての収束要素内蔵型ドリフトチューブ加速器10において、粒子のビームに対する収束力の方向が同一である収束要素内蔵ドリフトチューブ12(第1種収束要素内蔵ドリフトチューブ12A、第2種収束要素内蔵ドリフトチューブ12Bのそれぞれ)が、ビーム軸上に隣り合って配置されて構成される。
【選択図】図1
特許請求の範囲
【請求項1】
空洞内で粒子が通過するビーム軸上に、前記粒子のビームを特定方向に収束させる収束要素を内蔵した収束要素内蔵ドリフトチューブが複数配置され、これらの収束要素内蔵ドリフトチューブが発生する電磁場によって前記空洞内で前記粒子を加速させる粒子加速器において、
前記粒子のビームに対する収束力の方向が同一である前記収束要素内蔵ドリフトチューブが、前記ビーム軸上に隣り合って配置されて構成されたことを特徴とする粒子加速器。
続きを表示(約 580 文字)
【請求項2】
前記空洞内には、粒子が通過するビーム軸上に、収束要素を内蔵しない収束要素非内蔵ドリフトチューブが、更に配置されたことを特徴とする請求項1に記載の粒子加速器。
【請求項3】
隣り合って配置された前記収束要素内蔵ドリフトチューブのそれぞれの収束要素における磁場勾配が同一の値に設定されたことを特徴とする請求項1または請求項2に記載の粒子加速器。
【請求項4】
前記収束要素内蔵ドリフトチューブは、粒子のビームに対する収束力の方向が異なる複数種類を備え、少なくともこれらの収束要素内蔵ドリフトチューブが周期的に、空洞内でビーム軸上に配置されたことを特徴とする請求項1または2に記載の粒子加速器。
【請求項5】
前記収束要素非内蔵ドリフトチューブは、収束要素内蔵ドリフトチューブよりも小径に構成されたことを特徴とする請求項2に記載の粒子加速器。
【請求項6】
前記収束要素非内蔵ドリフトチューブを空洞に支持する支持部材が、収束要素内蔵ドリフトチューブを前記空洞に支持する支持部材よりも細く形成されたことを特徴とする請求項2に記載の粒子加速器。
【請求項7】
前記収束要素が電磁石、永久磁石または超電導磁石であることを特徴とする請求項1または2に記載の粒子加速器。
発明の詳細な説明
【技術分野】
【0001】
本発明の実施形態は、収束要素内蔵ドリフトチューブを備えた粒子加速器に関する。
続きを表示(約 1,900 文字)
【背景技術】
【0002】
陽子や重粒子を加速する粒子加速器としてドリフトチューブ加速器(DTL)が広く用いられている。このDTLのうち、Hモードの電磁場を励起するIH型DTLは、低速領域においてシャントインピーダンスが高く、加速効率の良い粒子加速を実現できる。
【0003】
ドリフトチューブ加速器ではマイクロ波相当の周波数をもつ電場によって加速が行われる。しかし、数十mA以上の電流値を有する粒子としての陽子や重陽子のビームを加速する際、空間電荷効果の影響により粒子同士が反発し、粒子のビームが大きく発散してしまい、この発散したビームが加速空洞の壁面に衝突してビーム透過率が低下してしまう。これを解決するための手法として、収束磁石を用いた粒子加速器が提案されている。
【先行技術文献】
【特許文献】
【0004】
特許第5602855号公報
【非特許文献】
【0005】
KURENNOY, Sergey S., et al. H-mode accelerating structures with PMQ focusing for low-beta ion beams. Proc. IPAC10, 2010, 828.
KURENNOY, Sergey S., et al. H-mode accelerating structures with permanent-magnet quadrupole beam focusing. Physical Review Special Topics-Accelerators and Beams, 2012, 15.9: 090101.
【発明の概要】
【発明が解決しようとする課題】
【0006】
特許文献1では、高周波四重極加速器(RFQ)などを想定した前段加速器とIH型DTL間に収束磁石を導入することで、加速空洞に入射する粒子のビームのミスマッチを改善し、ビーム透過率を向上させる提案が開示されている。
【0007】
また、非特許文献1及び2では、ドリフトチューブ加速器に粒子のビームを収束させる磁石を内蔵し、ビームを直交する2方向で収束させることで、ビーム径の拡大を抑制しつつ粒子の加速が可能となり、IH型DTLの場合でも、収束磁石を内蔵することで、大きな電流値を有する粒子でも、ビーム径を抑制しつつ粒子の加速が可能である旨が記載されている。
【0008】
図9は、従来の収束要素内蔵型ドリフトチューブ加速器を示す概略縦断面図である。図10には、図9の収束要素内蔵型ドリフトチューブ加速器におけるドリフトチューブの配列構成が示されている。この図10に示すように、従来の収束要素内蔵型ドリフトチューブ加速器100では、加速空洞101内に、粒子のビームを水平方向に収束させる収束要素内蔵ドリフトチューブ102、収束要素が内蔵されていない収束要素非内蔵ドリフトチューブ103、粒子のビームを鉛直方向に収束させる収束要素内蔵ドリフトチューブ104、収束要素非内蔵ドリフトチューブ103が、ビーム軸Oに沿って順次配置(配列)されて1周期を構成し、これらのドリフトチューブ102、103、104、103が周期的に配置されている。
【0009】
ところで、質量:電荷比が小さな1価のHeイオン等を加速する場合、収束要素(収束磁石)のビーム収束力の方向が異なる収束要素内蔵ドリフトチューブ102、104を、ビーム軸Oに沿って交互に配置すると、ビーム径を抑制するために必要な収束要素が有すべき磁場勾配は、収束要素内蔵ドリフトチューブ102、104のそれぞれの収束要素において非常に大きくなってしまう。特に、収束要素として永久磁石を用いる場合には、永久磁石材料の残留磁束密度が定まっているために、上述の大きな磁場勾配の実現が困難な場合がある。
【0010】
また、収束要素(収束磁石)が磁場勾配を上昇させるために磁石外半径を大きくすると、収束要素内蔵ドリフトチューブ102、104の外径が大きくなってしまい、収束要素内蔵型ドリフトチューブ加速器100において加速空洞101の空洞性能を表すQ値が低下する。これにより、加速空洞101の壁面や収束要素内蔵ドリフトチューブ102、104、収束要素非内蔵ドリフトチューブ103で損失される熱量が増加して、収束要素内蔵型ドリフトチューブ加速器100の電力効率が低下してしまう。
(【0011】以降は省略されています)
この特許をJ-PlatPat(特許庁公式サイト)で参照する
関連特許
株式会社東芝
センサ
16日前
株式会社東芝
センサ
2か月前
株式会社東芝
センサ
16日前
株式会社東芝
固定子
1か月前
株式会社東芝
センサ
1か月前
株式会社東芝
モータ
11日前
株式会社東芝
回路素子
2か月前
株式会社東芝
ドア構造
1か月前
株式会社東芝
電子装置
10日前
株式会社東芝
金型構造
16日前
株式会社東芝
吸音装置
11日前
株式会社東芝
半導体装置
13日前
株式会社東芝
電動送風機
1か月前
株式会社東芝
粒子加速器
10日前
株式会社東芝
半導体装置
25日前
株式会社東芝
ラック装置
1か月前
株式会社東芝
半導体装置
23日前
株式会社東芝
半導体装置
13日前
株式会社東芝
半導体装置
13日前
株式会社東芝
半導体装置
13日前
株式会社東芝
半導体装置
13日前
株式会社東芝
半導体装置
13日前
株式会社東芝
半導体装置
13日前
株式会社東芝
アイソレータ
1か月前
株式会社東芝
ディスク装置
1か月前
株式会社東芝
重量測定装置
9日前
株式会社東芝
電力変換装置
2か月前
株式会社東芝
ディスク装置
1か月前
株式会社東芝
開発支援装置
1か月前
株式会社東芝
音響制御装置
9日前
株式会社東芝
ディスク装置
2か月前
株式会社東芝
ディスク装置
1か月前
株式会社東芝
海水用構造体
23日前
株式会社東芝
ディスク装置
13日前
株式会社東芝
走行システム
1か月前
株式会社東芝
ディスク装置
1か月前
続きを見る
他の特許を見る