TOP
|
特許
|
意匠
|
商標
特許ウォッチ
Twitter
他の特許を見る
10個以上の画像は省略されています。
公開番号
2025140687
公報種別
公開特許公報(A)
公開日
2025-09-29
出願番号
2024040229
出願日
2024-03-14
発明の名称
半導体装置
出願人
株式会社東芝
,
東芝デバイス&ストレージ株式会社
代理人
弁理士法人iX
主分類
H10D
30/66 20250101AFI20250919BHJP()
要約
【課題】耐量を向上可能な半導体装置を提供する。
【解決手段】実施形態に係る半導体装置は、第1電極と、第1導電形の第1半導体領域と、第2導電形の第2半導体領域と、第1導電形の第3半導体領域と、第1導電部と、第2導電形の第4半導体領域と、第1導電形の第5半導体領域と、第2電極と、を備える。第1半導体領域は、第1部分と、第1部分の周りに位置する第2部分と、を含む。第2半導体領域は、第1部分の上に設けられている。第1導電部は、第1絶縁層を介して第2半導体領域と対面する。第4半導体領域は、第2部分の上に設けられている。第2導電部は、第2方向において第2絶縁層を介して第4半導体領域と対面する。第2導電部の下端は、第1導電部の下端よりも下方に位置する。第5半導体領域は、第2部分と第2導電部の下端との間に設けられている。第5半導体領域は、第2部分よりも高い第1導電形の不純物濃度を有する。
【選択図】図3
特許請求の範囲
【請求項1】
第1電極と、
前記第1電極の上に設けられた第1導電形の第1半導体領域であって、第1部分と、前記第1電極から前記第1半導体領域に向かう第1方向に垂直な第1面に沿って前記第1部分の周りに位置する第2部分と、を含む前記第1半導体領域と、
前記第1部分の上に設けられた第2導電形の第2半導体領域と、
前記第2半導体領域の上に設けられた第1導電形の第3半導体領域と、
前記第1方向に垂直な第2方向において、第1絶縁層を介して前記第2半導体領域と対面する第1導電部と、
前記第2部分の上に設けられた第2導電形の第4半導体領域と、
前記第2方向において第2絶縁層を介して前記第4半導体領域と対面し、下端が前記第1導電部の下端よりも下方に位置する第2導電部と、
前記第2部分と前記第2導電部の前記下端との間に設けられ、前記第2部分よりも高い第1導電形の不純物濃度を有する、第1導電形の第5半導体領域と、
前記第2半導体領域、前記第3半導体領域、及び前記第4半導体領域の上に設けられた第2電極と、
を備えた半導体装置。
続きを表示(約 670 文字)
【請求項2】
前記第2導電部の前記第2方向における長さは、前記第1導電部の前記第2方向における長さよりも長い、請求項1に記載の半導体装置。
【請求項3】
前記第2方向において前記第1導電部と前記第2導電部との間に位置する第3導電部をさらに備え、
前記第3導電部は、前記第2方向において、第3絶縁層を介して前記第4半導体領域と対面する、請求項1に記載の半導体装置。
【請求項4】
前記第2導電部の前記下端は、前記第3導電部の下端よりも下方に位置する、請求項3に記載の半導体装置。
【請求項5】
前記第3導電部の前記下端は、前記第1導電部の前記下端よりも上方に位置する、請求項4に記載の半導体装置。
【請求項6】
前記第3導電部の前記第2方向における長さは、前記第1導電部の前記第2方向における長さよりも短く、前記第2導電部の前記第2方向における長さよりも短い、請求項3に記載の半導体装置。
【請求項7】
前記第2導電部と前記第3導電部との間の前記第2方向における距離は、前記第1導電部と前記第3導電部との間の前記第2方向における距離よりも長い、請求項3に記載の半導体装置。
【請求項8】
前記第2方向において互いに離れた一対の前記第2導電部が設けられ、
複数の前記第2半導体領域と複数の前記第1導電部が、前記第2方向において交互に設けられ、且つ前記一対の第2導電部の間に位置する、請求項1~7のいずれか1つに記載の半導体装置。
発明の詳細な説明
【技術分野】
【0001】
本発明の実施形態は、半導体装置に関する。
続きを表示(約 2,500 文字)
【背景技術】
【0002】
Metal Oxide Semiconductor Field Effect Transistor(MOSFET)などの半導体装置は、電力変換等の用途に用いられる。半導体装置の耐量は、高いことが望ましい。
【先行技術文献】
【特許文献】
【0003】
特開2017-168659号公報
【発明の概要】
【発明が解決しようとする課題】
【0004】
本発明が解決しようとする課題は、耐量を向上可能な半導体装置を提供することである。
【課題を解決するための手段】
【0005】
実施形態に係る半導体装置は、第1電極と、第1導電形の第1半導体領域と、第2導電形の第2半導体領域と、第1導電形の第3半導体領域と、第1導電部と、第2導電形の第4半導体領域と、第1導電形の第5半導体領域と、第2電極と、を備える。前記第1半導体領域は、前記第1電極の上に設けられている。前記第1半導体領域は、第1部分と、前記第1電極から前記第1半導体領域に向かう第1方向に垂直な第1面に沿って前記第1部分の周りに位置する第2部分と、を含む。前記第2半導体領域は、前記第1部分の上に設けられている。前記第3半導体領域は、前記第2半導体領域の上に設けられている。前記第1導電部は、前記第1方向に垂直な第2方向において、第1絶縁層を介して前記第2半導体領域と対面する。前記第4半導体領域は、前記第2部分の上に設けられている。前記第2導電部は、前記第2方向において第2絶縁層を介して前記第4半導体領域と対面する。前記第2導電部の下端は、前記第1導電部の下端よりも下方に位置する。前記第5半導体領域は、前記第2部分と前記第2導電部の前記下端との間に設けられている。前記第5半導体領域は、前記第2部分よりも高い第1導電形の不純物濃度を有する。前記第2電極は、前記第2半導体領域、前記第3半導体領域、及び前記第4半導体領域の上に設けられている。
【図面の簡単な説明】
【0006】
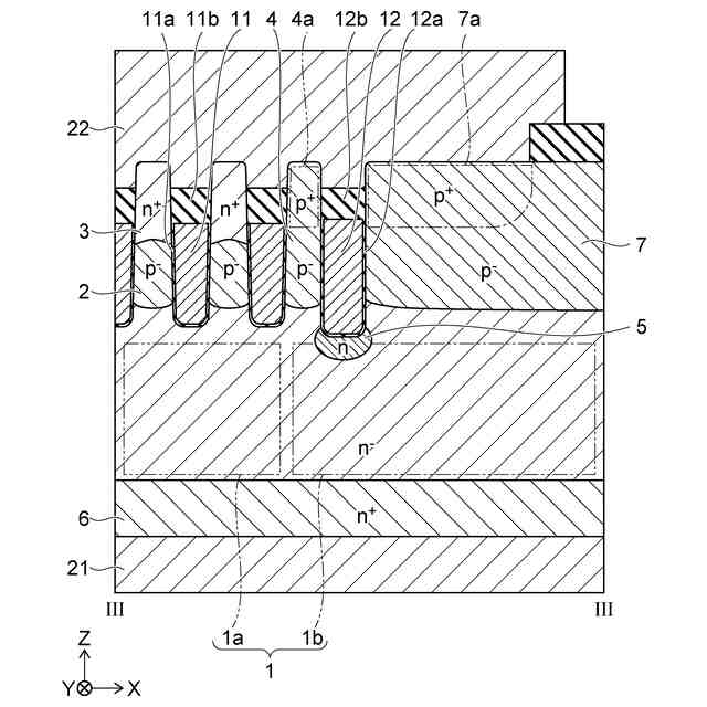
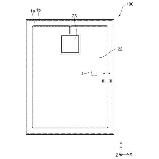
図1は、実施形態に係る半導体装置を示す平面図である。
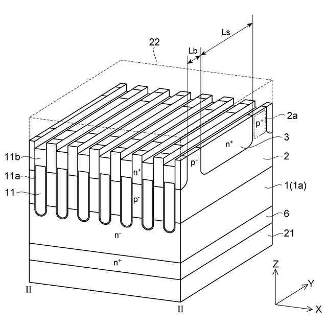
図2は、図1の部分IIを拡大した斜視断面図である。
図3は、図1のIII-III断面図である。
図4(a)及び図4(b)は、実施形態に係る半導体装置の製造方法を例示する断面図である。
図5(a)及び図5(b)は、実施形態に係る半導体装置の製造方法を例示する断面図である。
図6は、実施形態に係る半導体装置の製造方法を例示する断面図である。
図7は、図3の一部を拡大した断面図である。
図8は、実施形態の変形例に係る半導体装置の一部を示す断面図である。
図9は、図8の一部を拡大した断面図である。
【発明を実施するための形態】
【0007】
以下に、本発明の各実施形態について図面を参照しつつ説明する。図面は模式的または概念的なものであり、各部分の厚みと幅との関係、部分間の大きさの比率などは、必ずしも現実のものと同一とは限らない。また、同じ部分を表す場合であっても、図面により互いの寸法や比率が異なって表される場合もある。本願明細書と各図において、既に説明したものと同様の要素には同一の符号を付して詳細な説明は適宜省略する。
以下の説明及び図面において、n
+
、n、n
-
及びp
+
、p
-
の表記は、各不純物濃度の相対的な高低を表す。すなわち、「+」が付されている表記は、「+」及び「-」のいずれも付されていない表記よりも不純物濃度が相対的に高く、「-」が付されている表記は、いずれも付されていない表記よりも不純物濃度が相対的に低いことを示す。これらの表記は、それぞれの領域にp形不純物とn形不純物の両方が含まれている場合には、それらの不純物が補償しあった後の正味の不純物濃度の相対的な高低を表す。
以下で説明する各実施形態について、各半導体領域のp形とn形を反転させて各実施形態を実施してもよい。
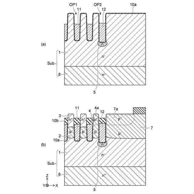
【0008】
図1は、実施形態に係る半導体装置を示す平面図である。図2は、図1の部分IIを拡大した斜視断面図である。図3は、図1のIII-III断面図である。
実施形態に係る半導体装置100は、MOSFETである。図1~図3に示すように、半導体装置100は、n
-
形(第1導電形)ドリフト領域1(第1半導体領域)、p
-
形(第2導電形)ベース領域2(第2半導体領域)、n
+
形ソース領域3(第3半導体領域)、p
-
形半導体領域4(第4半導体領域)、n形半導体領域5(第5半導体領域)、n
+
形ドレイン領域6、p
-
形半導体領域7、第1導電部11、第1絶縁層11a、第2導電部12、第2絶縁層12a、ドレイン電極21(第1電極)、ソース電極22(第2電極)、及びゲートパッド23を含む。なお、図2では、ソース電極22が破線で示されている。
【0009】
実施形態の説明では、XYZ直交座標系を用いる。ドレイン電極21からn
-
形ドリフト領域1に向かう方向をZ方向(第1方向)とする。Z方向に対して垂直であり、相互に直交する二方向をX方向(第2方向)及びY方向(第3方向)とする。また、説明のために、ドレイン電極21からn
-
形ドリフト領域1に向かう方向を「上」と言い、その反対方向を「下」と言う。これらの方向は、ドレイン電極21とn
-
形ドリフト領域1との相対的な位置関係に基づき、重力の方向とは無関係である。
【0010】
図1に示すように、半導体装置100の上面には、ソース電極22及びゲートパッド23が設けられている。ソース電極22とゲートパッド23は、互いに離れ、電気的に分離されている。
(【0011】以降は省略されています)
この特許をJ-PlatPat(特許庁公式サイト)で参照する
関連特許
株式会社東芝
センサ
1か月前
株式会社東芝
モータ
1日前
株式会社東芝
センサ
6日前
株式会社東芝
センサ
6日前
株式会社東芝
固定子
1か月前
株式会社東芝
センサ
1か月前
株式会社東芝
回転電機
3か月前
株式会社東芝
電子機器
3か月前
株式会社東芝
搬送装置
3か月前
株式会社東芝
遮断装置
3か月前
株式会社東芝
金型構造
6日前
株式会社東芝
配線治具
2か月前
株式会社東芝
燃料電池
2か月前
株式会社東芝
立て看板
3か月前
株式会社東芝
制御装置
4か月前
株式会社東芝
判定装置
3か月前
株式会社東芝
ドア構造
1か月前
株式会社東芝
回路素子
1か月前
株式会社東芝
吸音装置
1日前
株式会社東芝
電動送風機
1か月前
株式会社東芝
ラック装置
1か月前
株式会社東芝
半導体装置
3か月前
株式会社東芝
半導体装置
3日前
株式会社東芝
半導体装置
3か月前
株式会社東芝
半導体装置
3日前
株式会社東芝
半導体装置
3日前
株式会社東芝
半導体装置
3日前
株式会社東芝
半導体装置
3日前
株式会社東芝
半導体装置
4か月前
株式会社東芝
半導体装置
3日前
株式会社東芝
半導体装置
4か月前
株式会社東芝
電磁流量計
2か月前
株式会社東芝
半導体装置
13日前
株式会社東芝
半導体装置
3か月前
株式会社東芝
半導体装置
15日前
株式会社東芝
主幹制御器
2か月前
続きを見る
他の特許を見る