TOP
|
特許
|
意匠
|
商標
特許ウォッチ
Twitter
他の特許を見る
10個以上の画像は省略されています。
公開番号
2025140599
公報種別
公開特許公報(A)
公開日
2025-09-29
出願番号
2024040105
出願日
2024-03-14
発明の名称
磁気ディスク装置
出願人
株式会社東芝
,
東芝デバイス&ストレージ株式会社
代理人
弁理士法人酒井国際特許事務所
主分類
G11B
5/596 20060101AFI20250919BHJP(情報記憶)
要約
【課題】ライト動作のターゲットトラックに隣接するトラックのデータを効率的に保護できる磁気ディスク装置を提供すること。
【解決手段】磁気ディスク装置のコントローラは、第1区間に対するライト動作の間、積算オフセット量を計算する積算動作を磁気ヘッドがサーボセクタを通過する毎に実行する。第1区間は、複数のトラックのうちの第1トラックのライト対象の区間である。積算動作は、ライト動作中に磁気ヘッドが通過した全てのサーボセクタのうちの少なくとも最後に磁気ヘッドが通過したサーボセクタを含む2以上のサーボセクタにおける位置決め誤差量を足し合わせることを含む。コントローラは、積算オフセット量に基づき、複数のトラックのうちの第1トラックに隣接する第2トラックのデータを保護する第1保護動作を実行する。。
【選択図】図7
特許請求の範囲
【請求項1】
同心円の複数のトラックを有し、前記複数のトラック上には複数のサーボセクタが間隔を空けて配置されている、磁気ディスクと、
前記磁気ディスクに対してライトおよびリードを行う磁気ヘッドと、
ライト対象の区間である前記複数のトラックのうちの第1トラックの第1区間に対するライト動作の間、積算オフセット量を計算する積算動作を前記磁気ヘッドがサーボセクタを通過する毎に実行し、前記ライト動作は、前記磁気ヘッドが最後に通過したサーボセクタにおける位置決め誤差量が第1の位置決め誤差しきい値の範囲内である場合に実行され、前記積算動作は、前記第1区間に対する前記ライト動作中に前記磁気ヘッドが通過した全てのサーボセクタのうちの少なくとも前記磁気ヘッドが最後に通過したサーボセクタを含む2以上のサーボセクタにおける位置決め誤差量を足し合わせることを含み、前記積算オフセット量に基づき、前記複数のトラックのうちの前記第1トラックに隣接する第2トラックのデータを保護する第1保護動作を実行する、
コントローラと、
を備える磁気ディスク装置。
続きを表示(約 1,200 文字)
【請求項2】
前記積算動作は、前記ライト動作中に前記磁気ヘッドが通過した全てのサーボセクタの位置決め誤差量を積算することである、
請求項1に記載の磁気ディスク装置。
【請求項3】
前記積算動作は、前記ライト動作中に前記磁気ヘッドが通過した全てのサーボセクタのうちの最後に前記磁気ヘッドが通過した、所定数のサーボセクタの位置決め誤差量を積算することである、
請求項1に記載の磁気ディスク装置。
【請求項4】
前記積算動作は、前記ライト動作中に前記磁気ヘッドが通過した全てのサーボセクタのうちの最後に前記磁気ヘッドが通過した、所定数のサーボセクタの位置決め誤差量に対して重み付き加算を行うことである、
請求項1に記載の磁気ディスク装置。
【請求項5】
前記積算動作は、前記ライト動作中に前記磁気ヘッドが通過した全てのサーボセクタの位置決め誤差量のうちの絶対値が第2の位置決め誤差しきい値より大きい位置決め誤差量を積算することであり、
前記第2の位置決め誤差しきい値は前記第1の位置決め誤差しきい値以下の値である、
請求項1に記載の磁気ディスク装置。
【請求項6】
前記積算動作は、前記ライト動作中に前記磁気ヘッドが通過した全てのサーボセクタの位置決め誤差量のうちの絶対値が第2の位置決め誤差しきい値より大きい位置決め誤差量を積算し、積算によって得られた値を位置決め誤差量の絶対値が前記第2の位置決め誤差しきい値より大きいサーボセクタの数で除算することである
請求項1に記載の磁気ディスク装置。
【請求項7】
前記コントローラは、前記積算オフセット量の絶対値が第1の積算値しきい値より大きくなるに応じて前記第1保護動作を実行する、
請求項1に記載の磁気ディスク装置。
【請求項8】
前記第1保護動作は、前記ライト動作を中断し、前記磁気ディスクが一回転した後に前記ライト動作の中断位置から前記ライト動作を再開することである、
請求項7に記載の磁気ディスク装置。
【請求項9】
前記コントローラは、前記ライト動作の中断時には最後に計算した積算オフセット量を記憶して前記積算動作を中断し、前記ライト動作の再開時には、記憶した前記積算オフセット量を初期値として前記積算動作を再開する、
請求項8に記載の磁気ディスク装置。
【請求項10】
前記コントローラは、前記磁気ヘッドがサーボセクタを通過する毎に前記積算オフセット量の絶対値と第1の積算値しきい値とを比較し、前記積算オフセット量の絶対値が前記第1の積算値しきい値より大きくなるに応じて、
前記第1保護動作は前記第1の位置決め誤差しきい値を減少させることである、
請求項7に記載の磁気ディスク装置。
(【請求項11】以降は省略されています)
発明の詳細な説明
【技術分野】
【0001】
本実施形態は、磁気ディスク装置に関する。
続きを表示(約 1,900 文字)
【背景技術】
【0002】
従来、磁気ディスク装置において、ライト動作の際には、ライト先のトラック(ターゲットトラックと表記する)に沿ってライト許可範囲が設定される。磁気ディスク装置は、磁気ヘッドの位置がライト許可範囲を逸脱した場合にはライト動作を停止する。これによってターゲットトラックに隣接するトラックのデータが破壊から保護される。
【先行技術文献】
【特許文献】
【0003】
米国特許第7154690号明細書
米国特許出願公開第2014/0168806号明細書
【発明の概要】
【発明が解決しようとする課題】
【0004】
一つの実施形態は、ライト動作のターゲットトラックに隣接するトラックのデータを効率的に保護できる磁気ディスク装置を提供することを目的とする。
【課題を解決するための手段】
【0005】
一つの実施形態によれば、磁気ディスクと、磁気ヘッドと、コントローラと、を備える。磁気ディスクは、同心円の複数のトラックを有し、複数のトラック上には複数のサーボセクタが間隔を空けて配置されている。磁気ヘッドは、複数のトラックに対してライトおよびリードを行う。コントローラは、第1区間に対するライト動作の間、積算オフセット量を計算する積算動作を磁気ヘッドがサーボセクタを通過する毎に実行する。ライト動作は、磁気ヘッドが最後に通過したサーボセクタにおける位置決め誤差量が第1の位置決め誤差しきい値の範囲内である場合に実行される。第1区間は、複数のトラックのうちの第1トラックのライト対象の区間である。積算動作は、ライト動作中に磁気ヘッドが通過した全てのサーボセクタのうちの少なくとも磁気ヘッドが最後に通過したサーボセクタを含む2以上のサーボセクタにおける位置決め誤差量を足し合わせることを含む。コントローラは、積算オフセット量に基づき、複数のトラックのうちの第1トラックに隣接する第2トラックのデータを保護する第1保護動作を実行する。
【図面の簡単な説明】
【0006】
図1は、第1の実施形態にかかる磁気ディスク装置の構成の一例を示す模式的な図である。
図2は、第1の実施形態にかかる磁気ディスクの構成の一例を示す模式的な図である。
図3は、第1の実施形態の磁気ディスク装置に対するトラックピッチの設定方法の一例を説明するための図である。
図4は、オフセットライトの一例を説明するための図である。
図5は、第1の実施形態にかかる積算オフセット量を計算の開始のタイミングを説明するための図である。
図6は、第1の実施形態にかかる保護動作の開始のタイミングを説明するための図である。
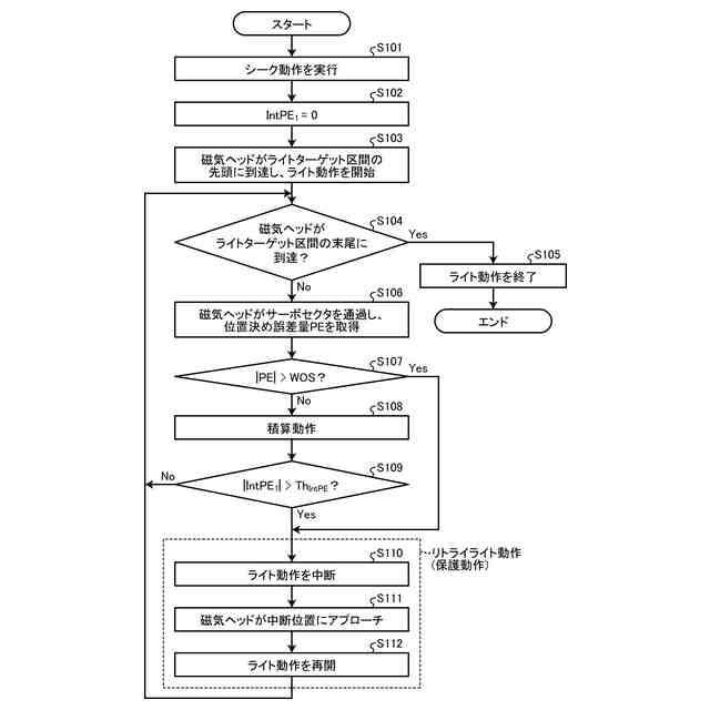
図7は、第1の実施形態にかかる磁気ディスク装置のライト動作の手順を示すフローチャートである。
図8は、変形例2にかかる積算オフセット量の計算方法の具体例を説明するための図である。
図9は、変形例4にかかる磁気ディスク装置の動作のライト動作の手順を示すフローチャートである。
図10は、変形例5にかかる磁気ディスク装置の動作のライト動作の手順を示すフローチャートである。
図11は、第2の実施形態にかかる保護動作を説明するための図である。
【発明を実施するための形態】
【0007】
以下に添付図面を参照して、実施形態にかかる磁気ディスク装置を詳細に説明する。なお、これらの実施形態により本発明が限定されるものではない。
【0008】
(第1の実施形態)
図1は、第1の実施形態にかかる磁気ディスク装置1の構成の一例を示す模式的な図である。
【0009】
磁気ディスク装置1は、ホスト2に接続される。磁気ディスク装置1は、ホスト2から、ライトコマンドやリードコマンドなどの、アクセスコマンドを受信することができる。
【0010】
磁気ディスク装置1は、表面に記録面が形成された磁気ディスク11を備える。磁気ディスク装置1は、アクセスコマンドに応じて磁気ディスク11(より正確には磁気ディスク11の記録面)に対し、データのライトおよびリードを行う。なお、磁気ディスク装置1は、複数枚の磁気ディスク11を有し得るが、実施形態では、説明及び図示の簡略化のため、磁気ディスク装置1は1枚の磁気ディスク11を備えることとしている。
(【0011】以降は省略されています)
この特許をJ-PlatPat(特許庁公式サイト)で参照する
関連特許
株式会社東芝
センサ
1か月前
株式会社東芝
センサ
7日前
株式会社東芝
センサ
7日前
株式会社東芝
センサ
1か月前
株式会社東芝
固定子
1か月前
株式会社東芝
モータ
2日前
株式会社東芝
電子装置
1日前
株式会社東芝
電子機器
3か月前
株式会社東芝
配線治具
2か月前
株式会社東芝
ドア構造
1か月前
株式会社東芝
吸音装置
2日前
株式会社東芝
回路素子
1か月前
株式会社東芝
燃料電池
2か月前
株式会社東芝
搬送装置
3か月前
株式会社東芝
遮断装置
3か月前
株式会社東芝
回転電機
3か月前
株式会社東芝
判定装置
3か月前
株式会社東芝
金型構造
7日前
株式会社東芝
ラック装置
1か月前
株式会社東芝
半導体装置
4日前
株式会社東芝
半導体装置
4日前
株式会社東芝
半導体装置
4日前
株式会社東芝
電動送風機
1か月前
株式会社東芝
電磁流量計
2か月前
株式会社東芝
半導体装置
3か月前
株式会社東芝
半導体装置
14日前
株式会社東芝
粒子加速器
1日前
株式会社東芝
半導体装置
3か月前
株式会社東芝
半導体装置
4日前
株式会社東芝
半導体装置
16日前
株式会社東芝
半導体装置
4日前
株式会社東芝
X線厚み計
2か月前
株式会社東芝
半導体装置
4日前
株式会社東芝
半導体装置
2か月前
株式会社東芝
半導体装置
4日前
株式会社東芝
主幹制御器
2か月前
続きを見る
他の特許を見る