TOP
|
特許
|
意匠
|
商標
特許ウォッチ
Twitter
他の特許を見る
10個以上の画像は省略されています。
公開番号
2025135727
公報種別
公開特許公報(A)
公開日
2025-09-19
出願番号
2024033658
出願日
2024-03-06
発明の名称
砂排出制御装置、砂杭造成システム、及び砂排出制御方法
出願人
株式会社不動テトラ
代理人
個人
,
個人
,
個人
主分類
E02D
3/08 20060101AFI20250911BHJP(水工;基礎;土砂の移送)
要約
【課題】地中に砂杭を造成し地盤を締め固める工法において、排出する砂の量を適切に制御することが可能な砂排出制御装置を提供する。
【解決手段】砂排出制御装置100は、施工パターン情報が格納された記憶部120を備える。また、砂排出制御装置100は、少なくともケーシングパイプの深度と、ケーシングパイプに投入されている砂の量と、に関する情報を含む施工情報を取得する施工情報取得部111を備える。また、砂排出制御装置100は、施工パターン情報と、深度及び砂の量と、に基づいて、施工状態が複数の施工パターンのうち、どの施工パターンに該当するかを判定するパターン判定部112を備える。さらに、砂排出制御装置100は、制御情報を生成する制御情報生成部と、制御情報に基づいて、ケーシングパイプの管内圧力及びエアーの排出を制御する排出制御処理部114を備える。
【選択図】図5
特許請求の範囲
【請求項1】
地中に柱状物を造成することにより地盤を締め固める工法において、前記柱状物を造成するための砂の排出を制御する砂排出制御装置であって、
地中に貫入するケーシングパイプの鉛直方向における下端側先端部の深度と、前記ケーシングパイプから排出された砂の量を示す砂抜量と、に基づいて定められる複数の施工パターンを示す施工パターン情報が格納された記憶部と、
前記工法において用いられる情報であって、少なくとも前記深度と、前記ケーシングパイプに投入されている前記砂の量と、に関する情報を含む施工情報を取得する施工情報取得部と、
前記施工パターン情報と、前記深度及び前記砂の量と、に基づいて、施工状態が前記複数の施工パターンのうち、どの前記施工パターンに該当するかを判定するパターン判定部と、
前記パターン判定部において判定された結果に基づいて、制御情報を生成する制御情報生成部と、
前記制御情報に基づいて、前記ケーシングパイプの管内圧力及びエアーの排出を制御する排出制御処理部と、
を備える砂排出制御装置。
続きを表示(約 1,400 文字)
【請求項2】
複数の前記施工パターンのうち、前記砂抜量が所定の閾値の範囲内である前記施工パターンが目標施工パターンとして定められ、
前記制御情報生成部は、前記施工パターンが前記目標施工パターンとなるような前記制御情報を生成する、請求項1に記載の砂排出制御装置。
【請求項3】
前記制御情報生成部は、過去の施工データにより統計的に求められた情報に基づいて、前記制御情報を生成する、請求項2に記載の砂排出制御装置。
【請求項4】
前記制御情報生成部は、過去の施工データを用いた機械学習により求められた情報に基づいて、前記制御情報を生成する、請求項2に記載の砂排出制御装置。
【請求項5】
前記制御情報には、前記ケーシングパイプに関する前記管内圧力、ジェット、給気、及び/又は排気に関する情報が含まれる、請求項1~4のいずれか一項に記載の砂排出制御装置。
【請求項6】
地中に柱状物を造成することにより地盤を締め固める締固め杭造成装置と、
前記締固め杭造成装置に用いられる施工データを取得する管理計器と、
前記柱状物を造成するための砂の排出を制御する砂排出制御装置と、を備える砂杭造成システムであって、
前記砂排出制御装置は、
地中に貫入するケーシングパイプの鉛直方向における下端側先端部の深度と、前記ケーシングパイプから排出された砂の量を示す砂抜量と、に基づいて定められる複数の施工パターンを示す施工パターン情報が格納された記憶部と、
前記締固め杭造成装置に用いられる情報であって、少なくとも前記深度と、前記ケーシングパイプに投入されている前記砂の量と、に関する情報を含む施工情報を取得する施工情報取得部と、
前記施工パターン情報と、前記深度及び前記砂の量と、に基づいて、施工状態が前記複数の施工パターンのうち、どの前記施工パターンに該当するかを判定するパターン判定部と、
前記パターン判定部において判定された結果に基づいて、制御情報を生成する制御情報生成部と、
前記制御情報に基づいて、前記ケーシングパイプの管内圧力及びエアーの排出を制御する排出制御処理部と、
を有する砂杭造成システム。
【請求項7】
コンピュータによって実行され、地中に柱状物を造成することにより地盤を締め固める工法において、前記柱状物を造成するための砂の排出を制御する砂排出制御方法であって、
前記工法において用いられる情報であって、少なくとも地中に貫入するケーシングパイプの鉛直方向における下端側先端部の深度と、前記ケーシングパイプに投入されている前記砂の量と、に関する情報を含む施工情報を取得し、
前記ケーシングパイプの前記深度と、前記ケーシングパイプから排出された前記砂の量を示す砂抜量と、に基づいて定められる複数の施工パターンを示す施工パターン情報と、前記深度及び前記砂の量と、に基づいて、施工状態が前記複数の施工パターンのうち、どの前記施工パターンに該当するかを判定し、
判定された結果に基づいて、制御情報を生成し、
前記制御情報に基づいて、前記ケーシングパイプの管内圧力及びエアーの排出を制御する、砂排出制御方法。
発明の詳細な説明
【技術分野】
【0001】
本発明は、砂排出制御装置、砂杭造成システム、及び砂排出制御方法に関する。
続きを表示(約 2,600 文字)
【背景技術】
【0002】
従来、地中に砂杭を造成することにより周辺地盤を締め固める工法において、砂や砕石などの粒状体材料を投入したケーシングを所定深度まで貫入させ、ケーシング内の材料を適切に地中に排出するための技術が提案されている。特許文献1には、打戻し方式圧縮砂杭打設工法における砂の排出方法が開示されている。特許文献1に開示された砂の排出方法は、ケーシング内の砂にエアー圧を加えることによる砂の排出に加え、ケーシング先端部の側方からエアージェットを噴出させることにより、効率よく砂を排出させる。
【先行技術文献】
【特許文献】
【0003】
特開2008-308839号公報
【発明の概要】
【発明が解決しようとする課題】
【0004】
地中に砂杭を造成し地盤を締め固める工法において、ケーシングから排出させる砂の量は、使用する材料砂や地盤状況に応じて、適切な量に調整する必要がある。一方で、従来は、熟練したオペレータが、上昇させるケーシングの圧力やエアージェットの操作を行い、排出させる砂の量を調整していた。そのため、熟練したオペレータの技能に頼ることなく、排出させる砂の量を適切な量に調整することができる装置やシステムが必要とされている。
【0005】
本発明は、このような従来技術が有する課題に鑑みてなされたものである。そして本発明の目的は、地中に砂杭を造成し地盤を締め固める工法において、排出する砂の量を適切に制御することが可能な砂排出制御装置を提供することにある。
【課題を解決するための手段】
【0006】
本発明の態様に係る砂排出制御装置は、地中に柱状物を造成することにより地盤を締め固める工法において、柱状物を造成するための砂の排出を制御する砂排出制御装置であって、地中に貫入するケーシングパイプの鉛直方向における下端側先端部の深度と、ケーシングパイプから排出された砂の量を示す砂抜量と、に基づいて定められる複数の施工パターンを示す施工パターン情報が格納された記憶部と、工法において用いられる情報であって、少なくとも深度と、ケーシングパイプに投入されている砂の量と、に関する情報を含む施工情報を取得する施工情報取得部と、施工パターン情報と、深度及び砂の量と、に基づいて、施工状態が複数の施工パターンのうち、どの施工パターンに該当するかを判定するパターン判定部と、パターン判定部において判定された結果に基づいて、制御情報を生成する制御情報生成部と、制御情報に基づいて、ケーシングパイプの管内圧力及びエアーの排出を制御する排出制御処理部と、を備える。
【0007】
本発明の他の態様に係る砂杭造成システムは、地中に柱状物を造成することにより地盤を締め固める締固め杭造成装置と、締固め杭造成装置に用いられる施工データを取得する管理計器と、柱状物を造成するための砂の排出を制御する砂排出制御装置と、を備える砂杭造成システムであって、砂排出制御装置は、地中に貫入するケーシングパイプの鉛直方向における下端側先端部の深度と、ケーシングパイプから排出された砂の量を示す砂抜量と、に基づいて定められる複数の施工パターンを示す施工パターン情報が格納された記憶部と、締固め杭造成装置に用いられる情報であって、少なくとも深度と、ケーシングパイプに投入されている砂の量と、に関する情報を含む施工情報を取得する施工情報取得部と、施工パターン情報と、深度及び砂の量と、に基づいて、施工状態が複数の施工パターンのうち、どの施工パターンに該当するかを判定するパターン判定部と、パターン判定部において判定された結果に基づいて、制御情報を生成する制御情報生成部と、制御情報に基づいて、ケーシングパイプの管内圧力及びエアーの排出を制御する排出制御処理部と、を有する。
【0008】
本発明の他の態様に係る砂排出制御方法は、コンピュータによって実行され、地中に柱状物を造成することにより地盤を締め固める工法において、柱状物を造成するための砂の排出を制御する砂排出制御方法であって、工法において用いられる情報であって、少なくとも地中に貫入するケーシングパイプの鉛直方向における下端側先端部の深度と、ケーシングパイプに投入されている砂の量と、に関する情報を含む施工情報を取得し、ケーシングパイプの深度と、ケーシングパイプから排出された砂の量を示す砂抜量と、に基づいて定められる複数の施工パターンを示す施工パターン情報と、深度及び砂の量と、に基づいて、施工状態が複数の施工パターンのうち、どの施工パターンに該当するかを判定し、判定された結果に基づいて、制御情報を生成し、制御情報に基づいて、ケーシングパイプの管内圧力及びエアーの排出を制御する。
【発明の効果】
【0009】
本発明によれば、地中に砂杭を造成し地盤を締め固める工法において、排出する砂の量を適切に制御することが可能な砂排出制御装置を提供することができる。
【図面の簡単な説明】
【0010】
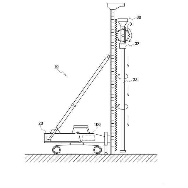
本実施形態に係る砂排出制御装置が適用される締固め杭造成装置の構成を示す図である。
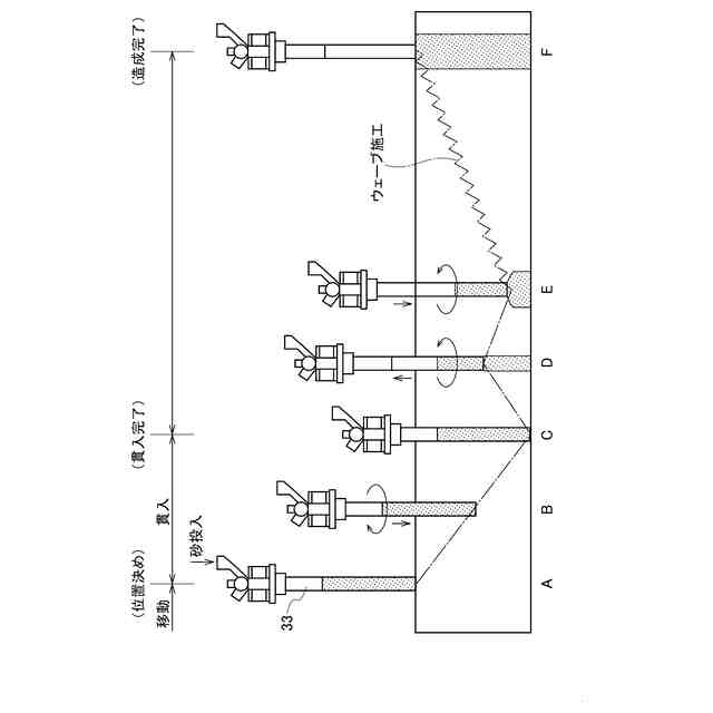
締固め杭造成装置を用いた砂杭打設による締固め工法について説明するための図である。
締固め杭造成装置を用いた砂杭打設によるケーシングパイプの引抜及び締固のタイミングについて説明するための図である。
締固め杭造成装置を用いた砂杭打設における各データの変化について説明するための図である。
本実施形態に係る砂排出制御装置の構成を示すブロック図である。
本実施形態に係る砂排出制御装置の機能的構成を示すブロック図である。
本実施形態に係る砂杭造成システムにおける各パターンについて説明するための図である。
本実施形態に係る砂杭造成システムにおける表示画面の一例を示す図である。
本実施形態に係る砂杭造成システムにおける表示画面の一例を示す図である。
本実施形態に係る砂排出制御装置の処理の一例を示すフローチャートである。
【発明を実施するための形態】
(【0011】以降は省略されています)
この特許をJ-PlatPat(特許庁公式サイト)で参照する
関連特許
個人
鋼管
24日前
FKS株式会社
擁壁
13日前
鈴健興業株式会社
敷板部材
9日前
株式会社クボタ
作業車
11日前
株式会社奥村組
ケーソン工法
16日前
株式会社クボタ
作業車
11日前
株式会社ネクステリア
平板基礎
9日前
個人
擁壁用ブロックおよび擁壁
10日前
株式会社大林組
建物の構造
10日前
株式会社奥村組
ケーソン刃口金物
16日前
株式会社熊谷組
地盤改良方法
5日前
株式会社熊谷組
山留壁用親杭
2日前
株式会社熊谷組
密度計測方法
11日前
株式会社大林組
袋体付き排水パイプ
23日前
株式会社大林組
袋体付き排水パイプ
23日前
大和ハウス工業株式会社
杭抜き先端具
17日前
日立建機株式会社
作業機械
2日前
日立建機株式会社
建設機械
3日前
日立建機株式会社
作業機械
13日前
日立建機株式会社
建設機械
3日前
日立建機株式会社
作業機械
3日前
日立建機株式会社
作業機械
2日前
ヤマト発動機株式会社
浮遊型消波装置
13日前
日立建機株式会社
作業機械
2日前
日立建機株式会社
建設機械
9日前
ゼニヤ海洋サービス株式会社
通船ゲート
23日前
ライト工業株式会社
鉄筋保持用治具
3日前
カナデビア株式会社
サクション基礎
3日前
鹿島建設株式会社
接続方法および接続構造
23日前
株式会社竹内製作所
作業用車両
2日前
株式会社竹内製作所
作業用車両
2日前
JFEスチール株式会社
鋼管矢板の継手構造
13日前
株式会社フジタ
建築物とその施工方法
23日前
株式会社竹内製作所
作業用車両
2日前
株式会社竹内製作所
作業用車両
2日前
JFEスチール株式会社
鋼管矢板の継手構造
3日前
続きを見る
他の特許を見る