TOP
|
特許
|
意匠
|
商標
特許ウォッチ
Twitter
他の特許を見る
公開番号
2025135761
公報種別
公開特許公報(A)
公開日
2025-09-19
出願番号
2024033704
出願日
2024-03-06
発明の名称
発泡シート集合体梱包方法および発泡シート集合体梱包物
出願人
アキレス株式会社
代理人
個人
,
個人
主分類
B65D
81/02 20060101AFI20250911BHJP(運搬;包装;貯蔵;薄板状または線条材料の取扱い)
要約
【課題】多数の小片の発泡シートを効率よく梱包する梱包方法および多数の小片の発泡シートが運搬や保管に適した状態で梱包された梱包物を提供する。
【解決手段】複数の小片に分割された発泡層が多段に積層されてなる発泡シート集合体を形成する発泡シート集合体形成工程と、前記発泡シート集合体形成工程により得られた前記発泡シート集合体を、開口を有し非通気性の袋に当該発泡シート集合体の集合状態を維持したまま収容する収容工程と、前記収容工程により得られた、前記発泡シート集合体を収容した前記袋を前記発泡層の厚み方向に圧縮するとともに前記開口を封止する圧縮封止工程を備えることを特徴とする発泡シート集合体梱包方法。
【選択図】図4
特許請求の範囲
【請求項1】
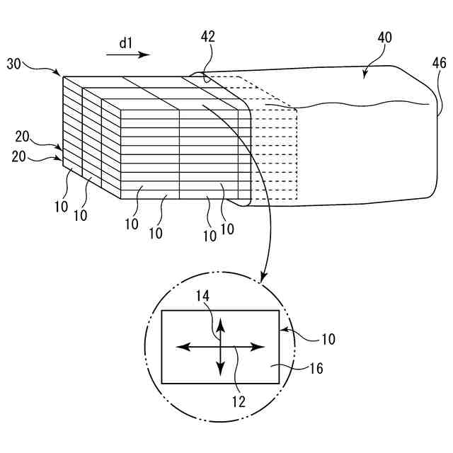
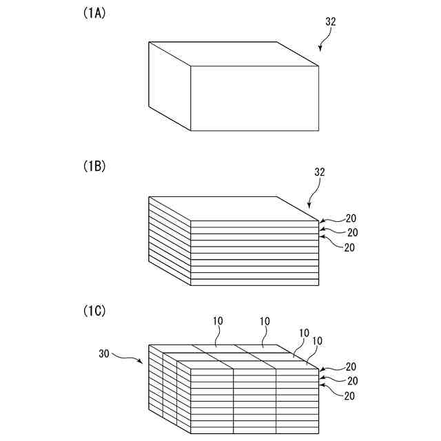
複数の小片に分割された発泡層が多段に積層されてなる発泡シート集合体を形成する発泡シート集合体形成工程と、
前記発泡シート集合体形成工程により得られた前記発泡シート集合体を、開口を有し非通気性の袋に当該発泡シート集合体の集合状態を維持したまま収容する収容工程と、
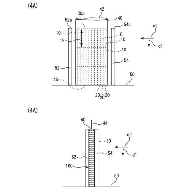
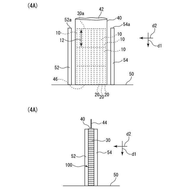
前記収容工程により得られた、前記発泡シート集合体を収容した前記袋を前記発泡層の厚み方向に圧縮するとともに前記開口を封止する圧縮封止工程を備えることを特徴とする発泡シート集合体梱包方法。
続きを表示(約 800 文字)
【請求項2】
前記発泡シート集合体形成工程において、
発泡樹脂ブロックを、一方方向に多段にスライスすることで多段の発泡層を形成するとともに前記一方方向に対し交差方向にカットすることによって各発泡層を前記小片に分割することで、発泡シート集合体を形成する請求項1に記載の発泡シート集合体梱包方法。
【請求項3】
前記発泡層を分割する前記複数の小片のうち、少なくとも前記開口に近接する小片は、平面視において長軸と短軸を有して整然配列されており、
前記収容工程において、
前記長軸が前記袋の深さ方向に沿う向きで、前記発泡シート集合体が前記袋に収容される請求項1または2に記載の発泡シート集合体梱包方法。
【請求項4】
前記圧縮封止工程は、前記開口が上方を向くよう前記袋が配置され実施される請求項1または2に記載の発泡シート集合体梱包方法。
【請求項5】
複数の小片に分割された発泡層が多段に積層されてなる発泡シート集合体と、
前記発泡シート集合体を収容した非通気性の袋と、を有し、
前記袋の内部が減圧された状態で当該袋の開口が封止されていることを特徴とする発泡シート集合体梱包物。
【請求項6】
前記発泡シート集合体は、発泡樹脂ブロックが一方方向において多段にスライスされて形成された多段の前記発泡層を有するとともに前記発泡層が小片に分割されている請求項5に記載の発泡シート集合体梱包物。
【請求項7】
前記発泡層を分割する前記複数の小片のうち、少なくとも前記袋の前記開口に近接する小片は、平面視において長軸と短軸を有して整然配列されており、
前記長軸が前記袋の深さ方向に沿う向きで、前記発泡シート集合体が前記袋に収容されている請求項5または6に記載の発泡シート集合体梱包物。
発明の詳細な説明
【技術分野】
【0001】
本発明は、小片の発泡シートの集合体を梱包する梱包方法および小片の発泡シートの集合体が収容された梱包物に関する。
続きを表示(約 1,900 文字)
【背景技術】
【0002】
従来、マットレスや自動車内装材などに用いられるサイズの大きい発泡シートは、保管の際の空間効率や輸送効率を勘案し圧縮して梱包される場合があった。
【0003】
たとえば、特許文献1には、マットレス等に用いられる、合成樹脂発泡体からなる一枚のクッション体を圧縮して圧縮体を形成し、当該圧縮体を巻き回して渦巻き状に巻き取った状態で圧縮梱包する圧縮梱包方法が開示されている。
また特許文献2には、自動車の内装材として用いられる軟質多孔板を一枚ずつ厚み方向に積み重ねてなる積み重ね物を非通気性の袋に収納し、真空引きにするとともにプレスして軟質多孔板の厚みを圧縮してなる包装物および包装方法が開示されている。
【先行技術文献】
【特許文献】
【0004】
特開2017-105513号公報
特開平7-52978号公報
【発明の概要】
【発明が解決しようとする課題】
【0005】
ところで発泡シートは、上述するマットレスや自動車内装材などに限らず、様々な用途に用いられている。たとえば、店頭に並べられる肉や魚などの生鮮食料品はトレーに載置されパッケージされる場合がある。このような場合、肉や魚等の生鮮食料品とトレーとの間に緩衝材として小片の発泡シートが敷かれることが知られる。
このような小片の発泡シートは、上述する従来の梱包方法のように、一枚ごとに巻き回して梱包し、あるいは一枚ずつ厚み方向に積み重ねてなる積み重ね物を梱包することは現実的ではなく、多数の小片の発泡シートを効率よく梱包することが困難であった。そのため、小片の発泡シートに関する保管や運送を勘案した梱包方法および梱包物の提供が求められていた。
【0006】
本発明は、上記課題を鑑みなされたものであり、多数の小片の発泡シートを効率よく梱包する方法および多数の小片の発泡シートが運搬や保管に適した状態で梱包された梱包物を提供する。
【課題を解決するための手段】
【0007】
本発明の発泡シート集合体梱包方法は、複数の小片に分割された発泡層が多段に積層されてなる発泡シート集合体を形成する発泡シート集合体形成工程と、上記発泡シート集合体形成工程により得られた上記発泡シート集合体を、開口を有し非通気性の袋に当該発泡シート集合体の集合状態を維持したまま収容する収容工程と、上記収容工程により得られた、上記発泡シート集合体を収容した上記袋を上記発泡層の厚み方向に圧縮するとともに上記開口を封止する圧縮封止工程を備えることを特徴とする。
【0008】
また本発明の発泡シート集合体梱包物は、複数の小片に分割された発泡層が多段に積層されてなる発泡シート集合体と、上記発泡シート集合体を収容した非通気性の袋と、を有し、上記袋の内部が減圧された状態で当該袋の開口が封止されていることを特徴とする発泡シート集合体梱包物。
小片に分割された発泡層が多段に積層されてなる発泡シート集合体と、上記発泡シート集合体を収容した非通気性の袋とを有し、当該袋の内部が減圧され封止されていることを特徴とする。
【発明の効果】
【0009】
本発明の発泡シート集合体梱包方法は、小片に分割された発泡層が多段に積層されてなる発泡シート集合体を袋に収容して圧縮するとともに封止するため、多数の小片の発泡シートを効率よく梱包することができる。
また本発明の発泡シート集合体梱包物は、多数の発泡シートが嵩を減量した状態で梱包されているため、多数の小片の発泡シートの運搬や保管の効率を改善することができる。
【図面の簡単な説明】
【0010】
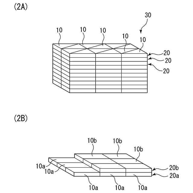
1A~1Cは、本発明の発泡シート集合体梱包方法における発泡シート集合体形成工程の一実施態様を説明する説明図である。
2Aおよび2Bは、本発明の発泡シート集合体梱包方法における発泡シート集合体形成工程の異なる実施態様を説明する説明図である。
本発明の発泡シート集合体梱包方法における収容工程の一実施態様を説明する説明図であり、併せて1つの小片の拡大平面図を示している。
4Aおよび4Bは、本発明の発泡シート集合体梱包方法における圧縮封止工程の一実施態様を説明する工程説明図である。
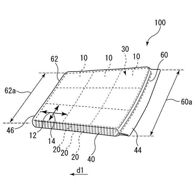
本発明の発泡シート集合体梱包物の一実施態様を示す斜視図である。
【発明を実施するための形態】
(【0011】以降は省略されています)
この特許をJ-PlatPat(特許庁公式サイト)で参照する
関連特許
アキレス株式会社
壁紙
今日
アキレス株式会社
履物
23日前
アキレス株式会社
断熱材
1か月前
アキレス株式会社
生分解性樹脂フィルム
21日前
アキレス株式会社
燻蒸用生分解性樹脂シート
1か月前
株式会社竹中工務店
可搬パーテーション
2か月前
アキレス株式会社
泥濘地歩行用板材の補助気柱枠およびその製造方法
7日前
アキレス株式会社
発泡シート集合体梱包方法および発泡シート集合体梱包物
13日前
個人
箱
11か月前
個人
ゴミ箱
11か月前
個人
収容箱
2か月前
個人
コンベア
4か月前
個人
段ボール箱
6か月前
個人
ゴミ収集器
6か月前
個人
容器
8か月前
個人
段ボール箱
6か月前
個人
宅配システム
6か月前
個人
土嚢運搬器具
7か月前
個人
パウチ補助具
11か月前
個人
楽ちんハンド
4か月前
個人
バンド
1か月前
個人
角筒状構造体
4か月前
個人
お薬の締結装置
5か月前
個人
包装容器
13日前
個人
閉塞装置
9か月前
個人
コード類収納具
7か月前
個人
廃棄物収容容器
1か月前
個人
蓋閉止構造
3か月前
個人
把手付米袋
3か月前
個人
蓋閉止構造
3か月前
個人
貯蔵サイロ
6か月前
個人
積み重ね用補助具
1か月前
株式会社和気
包装用箱
8か月前
株式会社コロナ
梱包材
4か月前
個人
ゴミ処理機
8か月前
三甲株式会社
容器
5か月前
続きを見る
他の特許を見る