TOP
|
特許
|
意匠
|
商標
特許ウォッチ
Twitter
他の特許を見る
公開番号
2025135771
公報種別
公開特許公報(A)
公開日
2025-09-19
出願番号
2024033721
出願日
2024-03-06
発明の名称
樹脂粒子、樹脂粒子の製造方法およびトナー
出願人
株式会社リコー
代理人
個人
主分類
G03G
9/097 20060101AFI20250911BHJP(写真;映画;光波以外の波を使用する類似技術;電子写真;ホログラフイ)
要約
【課題】環境負荷が抑えられ、ポリエチレンテレフタレートまたはポリブチレンテレフタレート成分を用いた場合においても、帯電性に優れ、高湿度環境下においても優れた画像品質を有する画像を形成することができる樹脂粒子を提供する。
【解決手段】ポリエチレンテレフタレートまたはポリブチレンテレフタレートを含む母粒子と外添剤とを含有し、前記母粒子のBET比表面積が0.8~1.4m
2
/gであり、前記外添剤は少なくとも平均粒子径が100nm以上の微粒子Aと平均粒子径が10~50nmの微粒子Bの2種を含み、前記微粒子AとBの含有量比率(質量比)A/Bが0.5~1.4である樹脂粒子によって上記課題を解決した。
【選択図】図1
特許請求の範囲
【請求項1】
ポリエチレンテレフタレートまたはポリブチレンテレフタレートを含む母粒子と外添剤とを含有する樹脂粒子であって、
前記母粒子のBET比表面積が0.8~1.4m
2
/gであり、
前記外添剤は少なくとも平均粒子径が100nm以上の微粒子Aと平均粒子径が10~50nmの微粒子Bの2種を含み、前記微粒子AとBの含有量比率(質量比)A/Bが0.5~1.4であることを特徴とする樹脂粒子。
続きを表示(約 670 文字)
【請求項2】
前記母粒子が、非晶質樹脂、結晶性樹脂および離型剤をさらに含むことを特徴とする請求項1に記載の樹脂粒子。
【請求項3】
前記樹脂粒子の全質量に対するポリエチレンテレフタレートまたはポリブチレンテレフタレートの含有量が30質量%以上であることを特徴とする請求項1に記載の樹脂粒子。
【請求項4】
前記母粒子は、コアシェル構造を有し、シェル部にポリエチレンテレフタレートまたはポリブチレンテレフタレートが含まれることを特徴とする請求項1に記載の樹脂粒子。
【請求項5】
請求項1に記載の樹脂粒子を製造する方法であって、
少なくともポリエチレンテレフタレートまたはポリブチレンテレフタレートを含む樹脂を有機溶媒に溶解または分散させた溶解液を作製する工程、前記溶解液に水を添加して、油中水型分散液から水中油型分散液に転相させる工程、前記水中油型分散液の微粒子を凝集させる工程、および外添剤を前記母粒子の付着させる工程を含む製造方法。
【請求項6】
請求項1に記載の樹脂粒子を含有するトナー。
【請求項7】
請求項6に記載のトナーを収容したトナー収容容器。
【請求項8】
静電潜像担持体と、前記静電潜像担持体上に静電潜像を形成する静電潜像形成部と、前記静電潜像担持体に形成された前記静電潜像をトナーを用いて現像してトナー像を形成する現像部とを有し、前記トナーが、請求項6に記載のトナーであることを特徴とする、画像形成装置。
発明の詳細な説明
【技術分野】
【0001】
本発明は、樹脂粒子、樹脂粒子の製造方法およびトナーに関する。
続きを表示(約 1,600 文字)
【背景技術】
【0002】
樹脂粒子は、オフィス等、様々な場所において、複合機(MFP)及びプリンタ等の画像形成装置のトナーとして広く利用されている。トナーには、環境への負荷低減を図るため、例えば、トナー自体の低温定着性向上による消費電力の低減、製造時のエネルギー削減、結着樹脂へのバイオマス(植物)由来樹脂の使用、結着樹脂へのリサイクル原料の使用等が検討されている。特に、省資源、省エネルギー及び資源のリサイクル等の必要性が重要視されている点から、結着樹脂へのリサイクル原料の使用の要求が高まっている。
【0003】
リサイクル原料を用いて製造した結着樹脂を含むトナーとして、例えば、脱重合されたPETポリオールを含むアモルファスポリエステルトナー樹脂と、脱重合された再生PETポリオール及びバイオベースのポリエステル又はポリ酸を含む第2アモルファス樹脂と、脱重合された再生PETポリオールを含む結晶性樹脂とを含むトナー粒子が開示されている(特許文献1参照)。
【発明の概要】
【発明が解決しようとする課題】
【0004】
しかしながら、特許文献1のトナー粒子では、ポリエチレンテレフタレートまたはポリブチレンテレフタレート成分を含むため、帯電性に不具合や吸湿性が高いなどトナー粒子の特性に影響を与え、画像品質が悪化するという問題があった。
【0005】
本発明は、環境負荷が抑えられ、ポリエチレンテレフタレートまたはポリブチレンテレフタレート成分を用いた場合においても、帯電性に優れ、高湿度環境下においても優れた画像品質を有する画像を形成することができる樹脂粒子を提供することを目的とする。
【課題を解決するための手段】
【0006】
上記課題は、下記構成1)により解決される。
1) ポリエチレンテレフタレートまたはポリブチレンテレフタレートを含む母粒子と外添剤とを含有する樹脂粒子であって、
前記母粒子のBET比表面積が0.8~1.4m
2
/gであり、
前記外添剤は少なくとも平均粒子径が100nm以上の微粒子Aと平均粒子径が10~50nmの微粒子Bの2種を含み、前記微粒子AとBの含有量比率(質量比)A/Bが0.5~1.4であることを特徴とする樹脂粒子。
【発明の効果】
【0007】
本発明によれば、環境負荷が抑えられ、ポリエチレンテレフタレートまたはポリブチレンテレフタレート成分を用いた場合においても、帯電性に優れ、高湿度環境下においても優れた画像品質を有する画像を形成することができる樹脂粒子を提供することができる。
【図面の簡単な説明】
【0008】
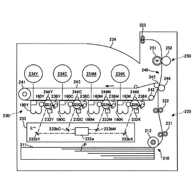
図1は、本発明に関する画像形成装置の一例を示す概略図である。
図2は、本発明に関するプロセスカートリッジの一例を示す概略図である。
【発明を実施するための形態】
【0009】
以下、本発明の実施の形態について、詳細に説明する。なお、実施形態は以下の記述によって限定されるものではなく、本発明の要旨を逸脱しない範囲において適宜変更可能である。また、本明細書において数値範囲を示す「~」は、別段の断わりがない限り、その前後に記載された数値を下限値及び上限値として含むことを意味する。
【0010】
<樹脂粒子>
一実施形態に係る樹脂粒子について説明する。一実施形態に係る樹脂粒子は、ポリエチレンテレフタレート(PET)またはポリブチレンテレフタレート(PBT)を含む母粒子と外添剤とを含有する。一実施形態に係る樹脂粒子は、PET又はPBTの他に、非晶質樹脂、結晶性樹脂および離型剤をさらに含むことが好ましく、必要に応じて、その他の成分を含有してもよい。
(【0011】以降は省略されています)
この特許をJ-PlatPat(特許庁公式サイト)で参照する
関連特許
株式会社リコー
画像形成装置
7日前
株式会社リコー
画像形成装置
4日前
株式会社リコー
映像表示装置
25日前
株式会社リコー
画像形成装置
4日前
株式会社リコー
画像形成装置
15日前
株式会社リコー
画像形成装置
23日前
株式会社リコー
印刷システム
4日前
株式会社リコー
感熱記録媒体
1日前
株式会社リコー
液体塗布装置
8日前
株式会社リコー
画像形成装置
22日前
株式会社リコー
画像形成装置
今日
株式会社リコー
画像形成装置
4日前
株式会社リコー
印刷応答補償機構
8日前
株式会社リコー
拡張アンテナ装置
7日前
株式会社リコー
投薬管理システム
23日前
株式会社リコー
生体情報測定装置
1日前
株式会社リコー
情報処理システム
25日前
株式会社リコー
画像投射システム
15日前
株式会社リコー
画像形成システム
今日
株式会社リコー
液体を吐出する装置
1日前
株式会社リコー
マーキングシステム
7日前
株式会社リコー
電極及びその製造方法
4日前
株式会社リコー
電極及びその製造方法
2日前
株式会社リコー
多孔質構造体の製造方法
4日前
株式会社リコー
測定装置および測定方法
24日前
株式会社リコー
測定装置および測定方法
24日前
株式会社リコー
測定装置および測定方法
24日前
株式会社リコー
定着装置及び画像形成装置
14日前
株式会社リコー
定着装置及び画像形成装置
8日前
株式会社リコー
塗装システム、及び塗装方法
4日前
株式会社リコー
センサ素子及びセンサアレイ
14日前
株式会社リコー
ファイル分析・保存システム
4日前
株式会社リコー
センサ素子及びセンサアレイ
14日前
株式会社リコー
液吐出装置、及び液吐出方法
8日前
株式会社リコー
測定装置および状態測定方法
24日前
株式会社リコー
液体塗布装置および洗浄方法
4日前
続きを見る
他の特許を見る