TOP
|
特許
|
意匠
|
商標
特許ウォッチ
Twitter
他の特許を見る
10個以上の画像は省略されています。
公開番号
2025135799
公報種別
公開特許公報(A)
公開日
2025-09-19
出願番号
2024033773
出願日
2024-03-06
発明の名称
多孔質シリコン材料、蓄電デバイス及び多孔質シリコン材料の製造方法
出願人
株式会社豊田中央研究所
代理人
弁理士法人アイテック国際特許事務所
主分類
C01B
33/02 20060101AFI20250911BHJP(無機化学)
要約
【課題】多孔質シリコン材料の充放電特性をより向上する。
【解決手段】本開示の多孔質シリコン材料は、SiとAlと遷移金属元素Mとを含み、窒素吸着による比表面積が30cm
2
/g以下であり、粒子状であり表面に炭素被覆層を有するものである。
【選択図】図1
特許請求の範囲
【請求項1】
SiとAlと遷移金属元素Mとを含み、
窒素吸着による比表面積が30cm
2
/g以下であり、
粒子状であり表面に炭素被覆層を有する、
多孔質シリコン材料。
続きを表示(約 1,000 文字)
【請求項2】
前記炭素被覆層は、厚さが1nm以上500nm以下の範囲である、請求項1に記載の多孔質シリコン材料。
【請求項3】
前記炭素被覆層は、シリコン粒子の外周面に形成されている、請求項1又は2に記載の多孔質シリコン材料。
【請求項4】
前記遷移金属元素Mは、Crであり、
CrSi
2
、Cr(Si,Al)
2
及びAl
13
Cr
4
Si
4
のうち1以上を含む、請求項1又は2に記載の多孔質シリコン材料。
【請求項5】
前記炭素被覆層は、黒鉛を含む、請求項1又は2に記載の多孔質シリコン材料。
【請求項6】
正極活物質を含む正極と、
請求項1又は2に記載の多孔質シリコン材料を負極活物質として含む負極と、
前記正極と前記負極との間に介在しリチウムイオンを伝導するイオン伝導媒体と、
を備えた蓄電デバイス。
【請求項7】
基本組成式をAl
100-x-y
Si
x
M
y
(但し、10≦x≦40、0<y≦5、0<x/y≦0.2を満たす)とする母合金溶湯を急冷することでSiと、Alと、遷移金属シリサイドと遷移金属アルミニウムとアルミニウム遷移金属シリサイドのうち1以上を含む導電相に相分離させ、Al成分を選択除去することにより多孔質前駆体を作製する多孔体工程と、
前記多孔質前駆体と炭化水素ガスとを共存し、室温から650℃以上850℃以下の温度範囲へ加熱して熱CVDを行い前記多孔質前駆体の外表面に炭素被覆層を形成する形成工程と、
を含む多孔質シリコン材料の製造方法。
【請求項8】
前記形成工程では、黒鉛を含む前記炭素被覆層を形成する、請求項7に記載の多孔質シリコン材料の製造方法。
【請求項9】
前記形成工程では、厚さが1nm以上500nm以下の範囲の前記炭素被覆層を形成する、請求項7又は8に記載の多孔質シリコン材料の製造方法。
【請求項10】
前記形成工程では、多孔質シリコン材料の全体に対しての炭素量が0.1質量%以上20質量%以下の範囲の前記炭素被覆層を形成する、請求項7又は8に記載の多孔質シリコン材料の製造方法。
発明の詳細な説明
【技術分野】
【0001】
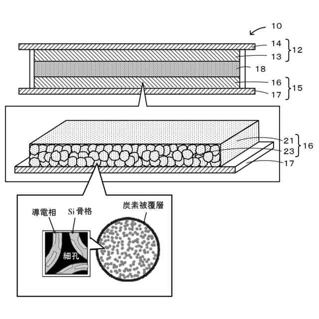
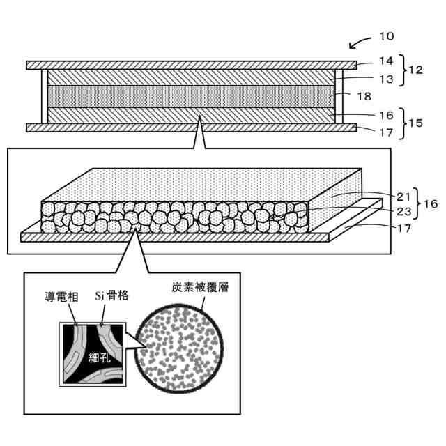
本明細書では、多孔質シリコン材料、蓄電デバイス及び多孔質シリコン材料の製造方法を開示する。
続きを表示(約 1,800 文字)
【背景技術】
【0002】
従来、蓄電デバイスに用いられる多孔質シリコン材料としては、SiとAlとCrとの全体を100at%としたときに、Crを1at%以上20at%以下の範囲で含み、Alを40at%以上90at%以下の範囲で含み、残部をSiとする原料を溶融し急冷凝固させシリコン合金の前駆体を得る前駆体工程と、シリコン合金に含まれるAl成分を除去して多孔質シリコン材料を得る多孔化工程とを含む製造方法によって作製されたものが挙げられる(例えば、特許文献1など参照)。この多孔質シリコン材料では、Siを含むものにおいて、充放電特性の低下をより抑制することができる。
【先行技術文献】
【特許文献】
【0003】
特開2023-92861号公報
【発明の概要】
【発明が解決しようとする課題】
【0004】
シリコン負極は、現在実用化されている黒鉛負極と比べて10倍以上の理論容量を持つが、充放電時の膨張収縮が大きいためサイクル特性に劣るという欠点がある。特許文献1の多孔質シリコン材料では、AlやCrなどを含むものとして、その強度を高め、充放電特性の低下をより抑制することができるが、まだ十分でなく更なる改良が望まれていた。
【0005】
本開示は、このような課題に鑑みなされたものであり、多孔質シリコン材料の充放電特性をより向上することができる多孔質シリコン材料、蓄電デバイス及び多孔質シリコン材料の製造方法を提供することを主目的とする。
【課題を解決するための手段】
【0006】
上述した目的を達成するために鋭意研究したところ、本発明者らは、AlとSiと遷移金属元素Mとを含む多孔質材料において、比表面積をより低減しつつ、その外表面に炭素被覆層を設けるものとすることによって、粒子状の多孔質シリコン材料の充放電特性をより向上することができることを見いだし、本開示の多孔質シリコン材料、蓄電デバイス及び多孔質シリコン材料の製造方法を完成するに至った。
【0007】
即ち、本開示の多孔質シリコン材料は、
SiとAlと遷移金属元素Mとを含み、
窒素吸着による比表面積が30cm
2
/g以下であり、
粒子状であり表面に炭素被覆層を有するものである。
【0008】
本開示の蓄電デバイスは、
正極活物質を含む正極と、
上述した多孔質シリコン材料を負極活物質として含む負極と、
前記正極と前記負極との間に介在しリチウムイオンを伝導するイオン伝導媒体と、
を備えたものである。
【0009】
本開示の多孔質シリコン材料の製造方法は、
基本組成式をAl
100-x-y
Si
x
M
y
(但し、10≦x≦40、0<y≦5、0<x/y≦0.2を満たす)とする母合金溶湯を急冷することでSiと、Alと、遷移金属シリサイドと遷移金属アルミニウムとアルミニウム遷移金属シリサイドのうち1以上を含む導電相に相分離させ、Al成分を選択除去することにより多孔質前駆体を作製する多孔体工程と、
前記多孔質前駆体と炭化水素ガスとを共存し、室温から650℃以上850℃以下の温度範囲へ加熱して熱CVDを行い前記多孔質前駆体の外表面に炭素被覆層を形成する形成工程と、
を含むものである。
【発明の効果】
【0010】
本開示は、多孔質シリコン材料の充放電特性をより向上することができる。このような効果が得られる理由は以下のように推察される。例えば、Siを活物質とする電極では、黒鉛電極に比してより大きな容量を得ることができる一方、充放電時のSiの体積変化によって、レート特性や容量維持率が低下することがある。これに対して、多孔体粒子の外表面に炭素被覆層を設け、比表面積をより適切に低減させると、粒子の形状変化をより抑制することができ、更にSi粒子の抵抗値が低くなるので、サイクル特性に加えてレート特性も改善することができる。このため、充放電時の膨張収縮を緩和し、例えば、充放電サイクルの容量維持率や充放電効率などの充放電特性をより向上することができるものと推察される。
【図面の簡単な説明】
(【0011】以降は省略されています)
この特許をJ-PlatPat(特許庁公式サイト)で参照する
関連特許
株式会社北川鉄工所
炭酸化装置
1か月前
東西電工株式会社
オゾン発生装置
1か月前
公立大学法人大阪
硫化物
22日前
個人
発酵槽装置
14日前
三菱重工業株式会社
水素製造装置
1か月前
株式会社小糸製作所
水分解装置
3日前
株式会社小糸製作所
水素発生装置
3日前
光宇應用材料股ふん有限公司
低炭素水素の製造方法
27日前
日本化学工業株式会社
リン酸バナジウムリチウムの製造方法
1か月前
株式会社フクハラ
酸化カルシウム生成装置及び生成方法
24日前
太陽化学株式会社
多孔質シリカ、及びその製造方法
14日前
株式会社INPEX
水素発生方法
1か月前
学校法人五島育英会
機械用部材および機械用部材の製造方法
1か月前
浅田化学工業株式会社
アルミナゲルおよびその製造方法
23日前
トヨタ自動車株式会社
光触媒を用いた水素ガス製造装置
22日前
トヨタ自動車株式会社
光触媒を用いた水素ガス製造装置
21日前
DOWAテクノロジー株式会社
水酸化リチウムの製造方法
1か月前
トヨタ自動車株式会社
二酸化炭素の利用方法、及び利用システム
13日前
株式会社ジェイテクト
水素生成装置
13日前
デゾン・ジャパン株式会社
酸素濃度調整システム
7日前
南海化学株式会社
塩基性塩化アルミニウム含有組成物
3日前
日本化学工業株式会社
コアシェル型負熱膨張材およびその製造方法
7日前
南海化学株式会社
塩基性塩化アルミニウム含有組成物
3日前
デンカ株式会社
窒化ホウ素粉末及び樹脂組成物
13日前
トヨタ自動車株式会社
ガス生成システム
22日前
デンカ株式会社
窒化ホウ素粉末及び樹脂組成物
13日前
JFEエンジニアリング株式会社
バイオガス中の二酸化炭素液化システム
24日前
積水化学工業株式会社
酸素発生剤
24日前
国立大学法人長岡技術科学大学
ハイブリッド粒子分散体及びその製造方法
21日前
トヨタ自動車株式会社
シリコンクラスレートIIの製造方法
7日前
一般社団法人鈴木テクノロジー
水素の生成方法及び水素生成用鉄材
1か月前
日揮触媒化成株式会社
研磨用シリカ系粒子分散液およびその製造方法
7日前
水澤化学工業株式会社
チャバザイト型ゼオライト
1か月前
大成建設株式会社
炭酸カルシウムの製造方法
1か月前
株式会社東芝
水素吸排出デバイス、および水素吸排出モジュール
3日前
日本化学工業株式会社
リン酸コバルトリチウムの製造方法
15日前
続きを見る
他の特許を見る