TOP
|
特許
|
意匠
|
商標
特許ウォッチ
Twitter
他の特許を見る
10個以上の画像は省略されています。
公開番号
2025135509
公報種別
公開特許公報(A)
公開日
2025-09-18
出願番号
2024033413
出願日
2024-03-05
発明の名称
発酵槽装置
出願人
個人
,
有限会社山川製作所
代理人
個人
主分類
C01B
3/02 20060101AFI20250910BHJP(無機化学)
要約
【課題】太陽光の強さに極力左右されない定常的で、効率的な水素生成を行えるようにした光合成細菌を用いた水素生成発酵槽装置を提供する。
【解決手段】可視光線を透過可能な筐体12内に柱状の培養容器14と制御容器15が設けられ、培養容器14内には光合成細菌を含む分解物質が収納されるとともに、この光合成細菌の菌床となる部材19が設置され、制御容器内には少なくとも培養容器を照射する発光灯25があり、上記筐体12内に上記培養容器を所定の温度範囲に保つための保温水が流動していることを特徴とする発酵槽装置を提供するものである。
【選択図】図2
特許請求の範囲
【請求項1】
可視光線を透過可能な筐体内に設置された柱状の培養容器と制御容器を設け、
上記培養容器内には光合成細菌を含む分解物質とこの光合成細菌の菌床となる部材が収納されるとともに上記分解物質に水分を供給する手段が設けられ、
上記制御容器内には上記培養容器内の光合成細菌を照射する発光灯が設けられ、
上記筐体内に上記培養容器を所定の温度範囲に保つための保温水を流動させることにより、上記培養容器から水素を生成するようにした発酵槽装置。
続きを表示(約 680 文字)
【請求項2】
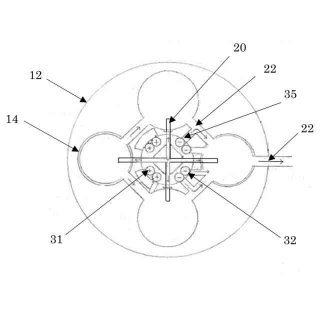
上記筐体、培養容器及び制御容器は円柱構造とされ、上記制御容器は上記筐体の中心部に設置され、その制御容器を囲むように複数の培養容器が配置された請求項1に記載の発酵槽装置。
【請求項3】
上記筐体、培養容器及び制御容器は、同心円状に配置された三層構造であり、中心部に制御容器が、その外側部に上記培養容器が、この培養容器の外側部に上記筐体が配置された請求項1に記載の発酵槽装置。
【請求項4】
上記菌床部材は網状のナイロンフィルターよりなり、このナイロンフィルターが培養容器内に所定の形状に張り巡らされた請求項1に記載の発酵槽装置。
【請求項5】
上記菌床部材は繊維素材で作られた球体よりなり、この球体が培養容器内に充填された請求項1に記載の発酵槽装置。
【請求項6】
上記培養容器内には網状チューブが敷設され、この網状チューブの上端部から上記分解物質と水分とが供給され、上記培養容器内に上記分解物質と水分を補充できるようにした請求項4または請求項5に記載の発酵槽装置。
【請求項7】
上記筐体および/または上記培養容器の外周面に赤色フィルムを添付した請求項1に記載の発酵槽装置。
【請求項8】
上記発光灯は赤色灯とされた請求項7の発酵槽装置。
【請求項9】
上記制御容器内には水を電気分解する装置が設けられ、この電気分解装置から発生する水素が上記培養容器から発生する水素とともに取り出されるようにした請求項1に記載の発酵槽装置。
発明の詳細な説明
【技術分野】
【0001】
本発明は、水素を生成する光合成細菌を用いた発酵槽装置に関するものであり、特に燃料電池を駆動するため光合成細菌の水素発生効率を改善した発酵槽装置に関するものである。
続きを表示(約 1,700 文字)
【背景技術】
【0002】
近年光合成細菌を用いた水素生成技術は、光合成細菌の研究開発が進んだことがあり、著しい進歩を見せている。光合成細菌を用いた水素生成は、化石燃料に依存しないことや水素生成反応が常温で進むので特殊な発酵槽装置を必要としないことなど多くの利点が挙げられている。
【0003】
しかし、このような利点があるにもかかわらず、光合成細菌を用いた水素生成施設の実用化は進んでいないのが実情である。その主たる原因は水素生成効率の低さにある。光合成細菌の増殖には光エネルギーの連続的な照射が不可欠であるとともに、その光合成細菌の増殖に適した温度管理と生育環境を整えなければならない。
【0004】
このため従来より光合成細菌の水素生成効率をあげるためにさまざまな工夫がなされてきた。非特許文献1には、細菌への光エネルギーの供給として太陽光集光装置からの太陽光を光ファイバーで誘導するリアクターが開示されているが、この方式では光ファイバーを通しているためリアクター全体に光を照射できるものの、十分な光エネルギーが得られないし、太陽光の得られない夜間はもちろん、太陽光の弱い曇天や雨天のときには水素の発生が著しく低下するという問題がある。
【0005】
特許文献1には、発酵槽をジャケットで被い、このジャケット内に冷却水を流し、発酵槽を一定温度に保つ技術が開示されている。しかし、発酵槽の水素生成効率を上げるためには温度管理だけでは十分な効果を期待できない。
【先行技術文献】
【特許文献】
【0006】
特開2001-299327号
【非特許文献】
【0007】
水素エネルギーシステム誌Vol.20,No.1-2,1995「海洋光合成微生物による水素生産」
【発明の概要】
【発明が解決しようとする課題】
【0008】
本発明は、このような問題点を解決し、燃料電池に使用できるように太陽光の強さに極力左右されない定常的で、効率的な水素生成を行えるようにした光合成細菌を用いた水素生成発酵槽装置を提供するものである。
【課題を解決するための手段】
【0009】
本発明の発酵槽装置によれば、可視光線を透過可能な筐体内に柱状の培養容器と制御容器が設けられ、培養容器内には光合成細菌を含む分解物質が収納されるとともに、この光合成細菌の菌床となる部材が設置され、制御容器内には少なくとも培養容器を照射する発光灯があり、上記筐体内に上記培養容器を所定の温度範囲に保つための保温水が流動していることを特徴とする発酵槽装置を提供するものである。
【図面の簡単な説明】
【0010】
図1は本発明による発酵槽装置の第1の実施例の外観立面図である。
図2は本発明による発酵槽装置の第1の実施例の縦断面図である。
図3は本発明による発酵槽装置の第1の実施例における第1図のA-A’面における横断面図である。
図4は本発明による発酵槽装置の第1の実施例における第1図のB-B’面における横断面図である。
図5は本発明による発酵槽装置の第2の実施例の縦断面図である。
図6は本発明による発酵槽装置の第2の実施例における第5図のC-C’面における横断面図である。
図7は本発明による発酵槽装置の第2の実施例における第5図のD-D’面における横断面図である。
図8は本発明による発酵槽装置の第3の実施例の外観立面図である。
図9は本発明による発酵槽装置の第3の実施例の縦断面図である。
図10は本発明による発酵槽装置の第3の実施例における第8図のE-E’面における横断面図である。
図11は本発明による発酵槽装置を使用した家庭内給電給湯システムの全体図である。
【発明を実施するための形態】
【実施例】
(【0011】以降は省略されています)
この特許をJ-PlatPat(特許庁公式サイト)で参照する
関連特許
株式会社北川鉄工所
炭酸化装置
1か月前
個人
発酵槽装置
17日前
公立大学法人大阪
硫化物
25日前
三菱重工業株式会社
水素製造装置
1か月前
株式会社小糸製作所
水分解装置
6日前
株式会社小糸製作所
水素発生装置
6日前
光宇應用材料股ふん有限公司
低炭素水素の製造方法
1か月前
日本化学工業株式会社
リン酸バナジウムリチウムの製造方法
1か月前
株式会社フクハラ
酸化カルシウム生成装置及び生成方法
27日前
太陽化学株式会社
多孔質シリカ、及びその製造方法
17日前
学校法人五島育英会
機械用部材および機械用部材の製造方法
1か月前
トヨタ自動車株式会社
光触媒を用いた水素ガス製造装置
25日前
トヨタ自動車株式会社
光触媒を用いた水素ガス製造装置
24日前
浅田化学工業株式会社
アルミナゲルおよびその製造方法
26日前
DOWAテクノロジー株式会社
水酸化リチウムの製造方法
1か月前
株式会社ジェイテクト
水素生成装置
16日前
トヨタ自動車株式会社
二酸化炭素の利用方法、及び利用システム
16日前
トヨタ自動車株式会社
ガス生成システム
25日前
デゾン・ジャパン株式会社
酸素濃度調整システム
10日前
デンカ株式会社
窒化ホウ素粉末及び樹脂組成物
16日前
日本化学工業株式会社
コアシェル型負熱膨張材およびその製造方法
10日前
南海化学株式会社
塩基性塩化アルミニウム含有組成物
6日前
南海化学株式会社
塩基性塩化アルミニウム含有組成物
6日前
デンカ株式会社
窒化ホウ素粉末及び樹脂組成物
16日前
日揮触媒化成株式会社
シリカ微粒子分散液およびその製造方法
2日前
トヨタ自動車株式会社
シリコンクラスレートIIの製造方法
10日前
積水化学工業株式会社
酸素発生剤
27日前
国立大学法人長岡技術科学大学
ハイブリッド粒子分散体及びその製造方法
24日前
一般社団法人鈴木テクノロジー
水素の生成方法及び水素生成用鉄材
1か月前
JFEエンジニアリング株式会社
バイオガス中の二酸化炭素液化システム
27日前
株式会社東芝
水素吸排出デバイス、および水素吸排出モジュール
6日前
水澤化学工業株式会社
チャバザイト型ゼオライト
1か月前
日揮触媒化成株式会社
研磨用シリカ系粒子分散液およびその製造方法
10日前
日本化学工業株式会社
リン酸コバルトリチウムの製造方法
18日前
宇部マテリアルズ株式会社
炭酸カルシウムの製造方法
1か月前
パナソニックIPマネジメント株式会社
水素生成装置
25日前
続きを見る
他の特許を見る