TOP
|
特許
|
意匠
|
商標
特許ウォッチ
Twitter
他の特許を見る
公開番号
2025136196
公報種別
公開特許公報(A)
公開日
2025-09-19
出願番号
2024034474
出願日
2024-03-07
発明の名称
ガスタービン起動方法、及び、ガスタービン
出願人
三菱重工業株式会社
代理人
SSIP弁理士法人
主分類
F02C
7/26 20060101AFI20250911BHJP(燃焼機関;熱ガスまたは燃焼生成物を利用する機関設備)
要約
【課題】起動時におけるエミッション性能の向上と燃焼振動の抑制とを両立する。
【解決手段】本願は、燃焼室に燃料を噴射するための複数の燃料噴射ノズルを有する燃焼器を有するガスタービンを起動するためのガスタービン起動方法に関する。本方法では、起動装置によってガスタービンに連結された発電機を駆動することにより、前記ガスタービンを起動し、複数の燃料噴射ノズルのうち一部の燃料噴射ノズルから燃料を噴射することにより、ガスタービンの回転数を増加させる。ガスタービンの回転数が、ガスタービンに燃焼振動が発生する回転数範囲の上限回転数より大きい基準回転数以上に達した場合、起動装置が停止される。
【選択図】図6
特許請求の範囲
【請求項1】
燃焼室に燃料を噴射するための複数の燃料噴射ノズルを有する燃焼器を有するガスタービンを起動するためのガスタービン起動方法であって、
起動装置によって前記ガスタービンに連結された発電機を駆動することにより、前記ガスタービンを起動する工程と、
前記複数の燃料噴射ノズルのうち一部の燃料噴射ノズルから前記燃料を噴射することにより、前記ガスタービンの回転数を増加させる工程と、
前記ガスタービンの回転数が、前記ガスタービンに燃焼振動が発生する回転数範囲の上限回転数より大きい基準回転数以上に達した場合、前記起動装置を停止させる工程と、
を備える、ガスタービン起動方法。
続きを表示(約 640 文字)
【請求項2】
前記基準回転数は、前記タービンの定格回転数の90%以上である、請求項1に記載のガスタービン起動方法。
【請求項3】
前記基準回転数は、前記定格回転数である、請求項2に記載のガスタービン起動方法。
【請求項4】
前記一部の燃料噴射ノズルの数は、前記複数の燃料噴射ノズルの数の半数以下である、請求項1又は2に記載のガスタービン起動方法。
【請求項5】
前記起動装置は前記発電機を電動機として駆動するためのサイリスタ起動装置である、請求項1又は2に記載のガスタービン起動方法。
【請求項6】
燃焼室に燃料を噴射するための複数の燃料噴射ノズルを有する燃焼器を有するガスタービンであって、
前記ガスタービンに連結された発電機を駆動することにより、前記ガスタービンを起動するための起動装置と、
前記燃焼器を制御するための燃焼器制御部と、
前記起動装置を制御するための起動装置制御部と、
を備え、
前記燃焼器制御部は、前記起動装置によって前記ガスタービンが起動された後、前記複数の燃料噴射ノズルのうち一部の燃料噴射ノズルから前記燃料を噴射するように前記燃焼器を制御し、
前記起動装置制御部は、前記ガスタービンの回転数が、前記ガスタービンに燃焼振動が発生する回転数範囲の上限回転数より大きい基準回転数以上に達した場合、前記起動装置を停止するように制御する、ガスタービン。
発明の詳細な説明
【技術分野】
【0001】
本開示は、ガスタービン起動方法、及び、ガスタービンに関する。
続きを表示(約 2,000 文字)
【背景技術】
【0002】
燃焼器で燃料を燃焼させて生成した燃焼ガスを用いてタービンを駆動可能なガスタービンが知られている。ガスタービンの燃焼器では、燃料供給系統から供給された燃料を複数の燃料噴射ノズルから燃焼室に噴射し、燃焼用空気と混合燃焼することにより、燃焼ガスの生成が行われる。
【0003】
この種のガスタービンでは、環境性能として、窒素酸化物(NOx)等の排出量を低減する、いわゆるエミッション性能を向上することが求められている。これに対して特許文献1では、部分負荷運転時において、燃焼器が備える複数の燃料噴射ノズルのうち一部の燃料噴射ノズルから燃料噴射を行うことにより、燃料噴射ノズルの一本当たりの燃料噴射量を増加させ、燃焼温度を上昇させることで窒素酸化物の排出量を低減することが提案されている。
【先行技術文献】
【特許文献】
【0004】
特開2006-145073号公報
【発明の概要】
【発明が解決しようとする課題】
【0005】
近年、ガスタービンの起動時においても、このようなエミッション性能の重要性が高まっている。その解決手法の1つとして、上記特許文献1に開示された部分負荷運転時における技術を、ガスタービンの起動時に適用することが考えられる。しかしながら、ガスタービンの起動時に、燃焼器が備える複数の燃料噴射ノズルのうち一部の燃料噴射ノズルから燃料噴射を行うと燃焼温度が上昇する。そのため、ガスタービンの起動時に回転数が昇速して比較的高回転数な運転領域に達した際に、燃焼振動が生じやすくなるおそれがある。
【0006】
本願の少なくとも一実施形態は上述の事情に鑑みなされたものであり、起動時におけるエミッション性能の向上と燃焼振動の抑制とを両立可能なガスタービン起動方法、及び、ガスタービンを提供することを目的とする。
【課題を解決するための手段】
【0007】
本開示の少なくとも一実施形態に係るガスタービン起動方法は、上記課題を解決するために、
燃焼室に燃料を噴射するための複数の燃料噴射ノズルを有する燃焼器を有するガスタービンを起動するためのガスタービン起動方法であって、
起動装置によって前記ガスタービンに連結された発電機を駆動することにより、前記ガスタービンを起動する工程と、
前記複数の燃料噴射ノズルのうち一部の燃料噴射ノズルから前記燃料を噴射することにより、前記ガスタービンの回転数を増加させる工程と、
前記ガスタービンの回転数が、前記ガスタービンに燃焼振動が発生する回転数範囲の上限回転数より大きい基準回転数以上に達した場合、前記起動装置を停止させる工程と、
を備える。
【0008】
本開示の少なくとも一実施形態に係るガスタービンは、上記課題を解決するために、
燃焼室に燃料を噴射するための複数の燃料噴射ノズルを有する燃焼器を有するガスタービンであって、
前記ガスタービンに連結された発電機を駆動することにより、前記ガスタービンを起動するための起動装置と、
前記燃焼器を制御するための燃焼器制御部と、
前記起動装置を制御するための起動装置制御部と、
を備え、
前記燃焼器制御部は、前記起動装置によって前記ガスタービンが起動された後、前記複数の燃料噴射ノズルのうち一部の燃料噴射ノズルから前記燃料を噴射するように前記燃焼器を制御し、
前記起動装置制御部は、前記ガスタービンの回転数が、前記ガスタービンに燃焼振動が発生する回転数範囲の上限回転数より大きい基準回転数以上に達した場合、前記起動装置を停止するように制御する。
【発明の効果】
【0009】
本開示の少なくとも一実施形態によれば、起動時におけるエミッション性能の向上と燃焼振動の抑制とを両立可能なガスタービン起動方法、及び、ガスタービンを提供できる。
【図面の簡単な説明】
【0010】
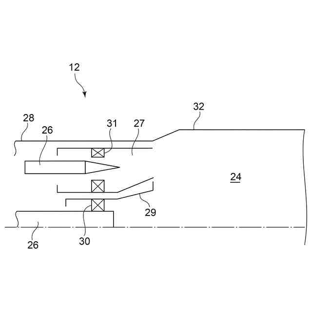
一実施形態に係るガスタービン発電設備の概略構成図である。
は図1の燃焼器の概略構成を示す縦断面図である。
図2に示す燃焼器を下流側から示す図である。
図1のガスタービン発電設備を制御するための制御装置のブロック構成図である。
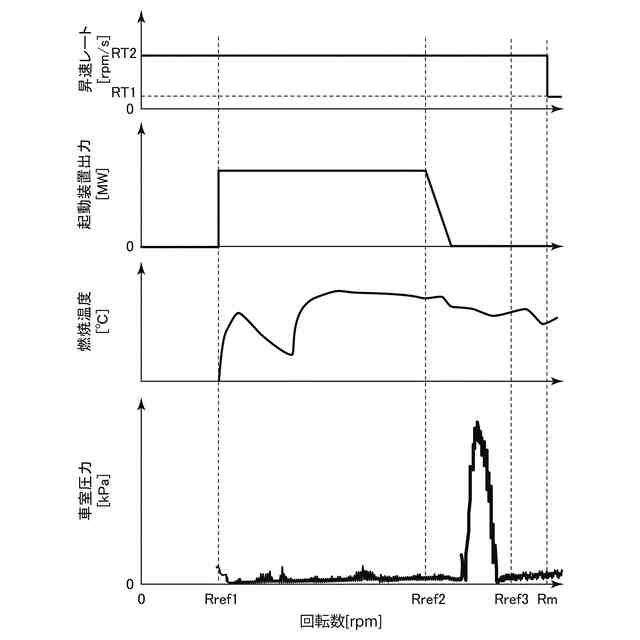
参考技術に係るガスタービン起動方法の実施時における各パラメータの推移を示すタイミングチャートである。
図4の制御装置によって実施されるガスタービン起動方法の実施時における各パラメータの推移を示すタイミングチャートである。
【発明を実施するための形態】
(【0011】以降は省略されています)
この特許をJ-PlatPat(特許庁公式サイト)で参照する
関連特許
本田技研工業株式会社
車両
2日前
本田技研工業株式会社
車両
2日前
本田技研工業株式会社
内燃機関
3日前
株式会社クボタ
作業車両
3日前
本田技研工業株式会社
内燃機関
2日前
本田技研工業株式会社
始動制御装置
2日前
本田技研工業株式会社
始動制御装置
2日前
朝日電装株式会社
スロットルグリップ装置
13日前
個人
流体式推力方向制御装置
13日前
トヨタ自動車株式会社
閾値の設定装置
13日前
トヨタ自動車株式会社
エンジン制御装置
9日前
日産自動車株式会社
内燃機関
9日前
株式会社デンソートリム
エンジン制御装置
9日前
本田技研工業株式会社
可変ファンネル装置
2日前
日産自動車株式会社
内燃機関
9日前
本田技研工業株式会社
内燃機関の吸気構造
3日前
大阪瓦斯株式会社
エンジンシステム
2日前
マツダ株式会社
エンジン
3日前
本田技研工業株式会社
EGRバルブ制御装置
13日前
トヨタ自動車株式会社
エンジン制御装置
13日前
トヨタ自動車株式会社
インジェクタの制御装置
11日前
トヨタ自動車株式会社
内燃機関の燃料供給装置
13日前
トヨタ自動車株式会社
内燃機関の燃料供給装置
9日前
ヤンマーホールディングス株式会社
エンジン装置
11日前
ヤンマーホールディングス株式会社
エンジン装置
11日前
ヤンマーホールディングス株式会社
エンジン装置
11日前
本田技研工業株式会社
内燃機関の制御装置
3日前
ヤンマーホールディングス株式会社
エンジン装置
11日前
大阪瓦斯株式会社
発電設備、及び発電方法
11日前
ヤンマーホールディングス株式会社
エンジン装置
11日前
ヤンマーホールディングス株式会社
エンジン装置
11日前
ヤンマーホールディングス株式会社
エンジン装置
11日前
本田技研工業株式会社
内燃機関の制御装置
3日前
愛三工業株式会社
燃料供給装置
3日前
マツダ株式会社
エンジンの制御装置
3日前
トヨタ自動車株式会社
内燃機関の燃料噴射制御装置
11日前
続きを見る
他の特許を見る