TOP
|
特許
|
意匠
|
商標
特許ウォッチ
Twitter
他の特許を見る
公開番号
2025129064
公報種別
公開特許公報(A)
公開日
2025-09-03
出願番号
2025027386
出願日
2025-02-21
発明の名称
情報処理装置、及びプログラム
出願人
国立大学法人 東京大学
代理人
個人
主分類
G06T
19/00 20110101AFI20250827BHJP(計算;計数)
要約
【課題】比較的簡便な方法で、三次元モデルの情報を利用した、現実感のある情報を提供できる情報処理装置及びプログラムを提供する。
【解決手段】建造物の三次元モデルの情報を含む三次元地域モデル情報と、当該建造物の所在する地域を移動しつつ撮像した広角画像データとを取得し、当該広角画像データを撮像したカメラの移動の軌跡を表す情報を取得し、当該軌跡上での広角画像データの推定撮像位置を推定する。また建造物の三次元モデルを所定の三次元の仮想空間に配置し、当該仮想空間内に設定した仮想カメラの視点からの仮想空間のレンダリング画像と広角画像データとの比較に基づいて、広角画像データを撮像したカメラの移動の軌跡に対応する仮想空間内の仮想カメラの位置姿勢情報を決定する。
【選択図】図1
特許請求の範囲
【請求項1】
建造物の三次元モデルの情報を含む三次元地域モデル情報を取得するモデル取得手段と、
当該建造物の所在する地域を移動しつつ撮像した広角画像データを取得する画像取得手段と、
前記取得した広角画像データを撮像したカメラの前記移動の軌跡を表す情報を取得し、当該軌跡上での広角画像データの推定撮像位置を推定する推定位置取得手段と、
前記建造物の三次元モデルを所定の三次元の仮想空間に配置し、当該仮想空間内に設定した仮想カメラの視点からの前記仮想空間のレンダリング画像と、前記広角画像データとの比較に基づいて、前記広角画像データを撮像したカメラの移動の軌跡に対応する前記仮想空間内の仮想カメラの位置姿勢情報を決定する決定手段と、
を有し、前記広角画像データと、当該広角画像データに対応して決定された前記仮想空間の座標情報と、前記取得された三次元地域モデル情報とが、所定の処理に供される情報処理装置。
続きを表示(約 1,900 文字)
【請求項2】
請求項1に記載の情報処理装置であって、
前記決定手段は、レンダリング画像に描画された建造物の形状と、前記広角画像データに撮像された建造物の形状とを比較して、前記広角画像データを撮像したカメラの移動の軌跡に対応する前記仮想空間内の仮想カメラの位置姿勢情報を決定する情報処理装置。
【請求項3】
請求項1に記載の情報処理装置であって、
前記所定の処理は、前記仮想空間に、ユーザの操作により前記仮想空間内を移動可能な三次元オブジェクトを配し、前記決定手段が決定した広角画像データを撮像したカメラの移動の軌跡に対応する前記仮想空間内の仮想カメラの位置姿勢情報に基づいて当該三次元オブジェクトをレンダリングする仮想カメラを設定して、前記三次元オブジェクトをレンダリングし、当該仮想カメラの位置姿勢に対応する前記広角画像データに基づいて、前記レンダリングの結果の画像の画素値の少なくとも一部を設定して出力する処理を含む情報処理装置。
【請求項4】
請求項3に記載の情報処理装置であって、
前記三次元オブジェクトの前記仮想空間内での移動範囲が、前記建造物の三次元モデルによって規制される情報処理装置。
【請求項5】
請求項1に記載の情報処理装置であって、
前記所定の処理は、さらに前記仮想空間に、少なくとも一種類の三次元オブジェクトを配し、前記広角画像データの推定撮像位置に基づいて当該三次元オブジェクトをレンダリングする仮想カメラの位置及び角度を設定して前記三次元オブジェクトを含む仮想空間をレンダリングして、当該仮想カメラの位置姿勢に対応する前記広角画像データに基づいて、前記レンダリングの結果の画像の画素値の少なくとも一部を設定して出力する処理を含む情報処理装置。
【請求項6】
請求項5に記載の情報処理装置であって、
前記所定の処理においてさらに、前記仮想空間に、ユーザの操作により前記仮想空間内を移動可能な種類の三次元オブジェクトを配する処理を含む情報処理装置。
【請求項7】
請求項6に記載の情報処理装置であって、
前記ユーザの操作により前記仮想空間内を移動可能な種類の三次元オブジェクトの前記仮想空間内での移動範囲が、前記建造物の三次元モデルによって規制される情報処理装置。
【請求項8】
建造物の三次元モデルの情報を含む三次元地域モデル情報と、当該建造物の所在する地域を移動しつつ撮像した広角画像データと、前記広角画像データを撮像したカメラの移動の軌跡を表す情報を用いて決定される所定の三次元の仮想空間内の仮想のカメラの位置姿勢情報であって、前記建造物の三次元モデルを当該仮想空間に配置し、前記位置姿勢情報に基づいて設定されたカメラの視点からの前記仮想空間のレンダリング画像と、前記広角画像データのいずれかである注目広角画像データとを重ね合わせ表示したときに、前記レンダリング画像内の前記三次元モデルに基づく建造物のレンダリング結果と、前記注目広角画像データに撮像されている建造物とが一致するよう決定された位置姿勢情報と、を含む対象情報を受け入れる受入手段と、
前記仮想空間を設定して、当該仮想空間に前記対象情報に含まれる前記建造物の三次元モデルを配するとともに、所定の三次元オブジェクトを配し、前記対象情報に含まれる仮想のカメラの位置姿勢情報に基づいて設定した仮想カメラを視点として、当該仮想空間をレンダリングした画像を出力するレンダリング手段と、
を含む情報処理装置。
【請求項9】
コンピュータを、
建造物の三次元モデルの情報を含む三次元地域モデル情報を取得するモデル取得手段と、
当該建造物の所在する地域を移動しつつ撮像した広角画像データを取得する画像取得手段と、
前記取得した広角画像データを撮像したカメラの前記移動の軌跡を表す情報を取得し、当該軌跡上での広角画像データの推定撮像位置を推定する推定位置取得手段と、
前記建造物の三次元モデルを所定の三次元の仮想空間に配置し、当該仮想空間内に設定した視点からの前記仮想空間のレンダリング画像と、前記広角画像データとの比較に基づいて、前記広角画像データを撮像したカメラの移動の軌跡に対応する前記仮想空間内の座標情報を決定する決定手段と、
として機能させ、
前記広角画像データと、当該広角画像データに対応して決定された前記仮想空間の座標情報と、前記取得された三次元地域モデル情報とを、所定の処理に供するプログラム。
発明の詳細な説明
【技術分野】
【0001】
本発明は、三次元地域モデル情報を利用する情報処理装置、及びプログラムに関する。
続きを表示(約 1,700 文字)
【背景技術】
【0002】
近年、建造物の三次元モデルの情報を含む三次元地域モデル情報が広く公開され、その種々の利用例が考えられている(非特許文献1)。
【先行技術文献】
【非特許文献】
【0003】
国土交通省、“Project PLATEAU 全国56都市の3D都市モデルのオープンデータ化を完了”、[online]、令和3年8月6日、 [令和6年2月8日検索]、インターネット<URL:https://www.mlit.go.jp/report/press/toshi03_hh_000078.html>
【発明の概要】
【発明が解決しようとする課題】
【0004】
しかしながら、三次元モデルの情報は、基本的に幾何学的情報であるため、現実感のある情報を提供できないのが現状である。そこで、現実の空間の写真を用いて、上記三次元モデルの表面にテクスチャとして貼り付ける方法も考えられるが、多数の建造物の三次元モデルの形状に合わせて一つ一つテクスチャ画像を用意することは現実的でない。
【0005】
本発明は上記実情に鑑みて為されたもので、比較的簡便な方法で、三次元モデルの情報を利用した、現実感のある情報を提供できる情報処理装置及びプログラムを提供することを目的の一つとする。
【課題を解決するための手段】
【0006】
上記従来例の問題点を解決する本発明の一態様は、情報処理装置であって、建造物の三次元モデルの情報を含む三次元地域モデル情報を取得するモデル取得手段と、当該建造物の所在する地域を移動しつつ撮像した広角画像データを取得する画像取得手段と、前記取得した広角画像データを撮像したカメラの前記移動の軌跡を表す情報を取得し、当該軌跡上での広角画像データの推定撮像位置を推定する推定位置取得手段と、前記建造物の三次元モデルを所定の三次元の仮想空間に配置し、当該仮想空間内に設定した仮想カメラの視点からの前記仮想空間のレンダリング画像と、前記広角画像データとの比較に基づいて、前記広角画像データを撮像したカメラの移動の軌跡に対応する前記仮想空間内の仮想カメラの位置姿勢情報を決定する決定手段と、を有し、前記広角画像データと、当該広角画像データに対応して決定された前記仮想空間の座標情報と、前記取得された三次元地域モデル情報とが、所定の処理に供されることとしたものである。
【発明の効果】
【0007】
本発明によると、移動しつつ撮像した広角画像データを利用して、比較的簡便な方法で、三次元モデルの情報を利用した、現実感のある情報を提供できる。
【図面の簡単な説明】
【0008】
本発明の実施の形態に係る情報処理装置の構成例を表すブロック図である。
本発明の実施の形態に係る情報処理装置の例を表す機能ブロック図である。
本発明の実施の形態に係る情報処理装置による位置合わせの処理の例を表す説明図である。
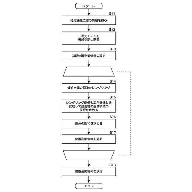
本発明の実施の形態に係る情報処理装置の動作例を表すフローチャート図である。
本発明の実施の形態に係る情報処理装置のもう一つの動作例を表すフローチャート図である。
【発明を実施するための形態】
【0009】
本発明の実施の形態について図面を参照しながら説明する。本発明の実施の形態に係る情報処理装置1は、図1に例示するように、制御部11と、記憶部12と、操作部13と、表示部14と、インタフェース部15とを含んで構成される。
【0010】
制御部11は、CPU(プロセッサ)等のプログラム制御デバイスであり、記憶部12に格納されたプログラムに従って動作する。本実施の形態の一例では、この制御部11は、記憶部12に格納されたプログラムに従って動作することで、建造物の三次元モデルの情報を含む、都市モデルなどの三次元地域モデル情報を取得する。またこの制御部11は、当該建造物の所在する地域を移動しつつ撮像した広角画像データを取得する。
(【0011】以降は省略されています)
この特許をJ-PlatPat(特許庁公式サイト)で参照する
関連特許
国立大学法人 東京大学
ガス処理方法
2日前
国立大学法人 東京大学
担持金属触媒
16日前
国立大学法人 東京大学
コンパレータ回路
6日前
国立大学法人 東京大学
推定装置、及びプログラム
17日前
国立大学法人 東京大学
読出回路及び磁気メモリ装置
16日前
国立大学法人 東京大学
接着性細胞の浮遊培養用基材
2日前
NTT株式会社
圧力センサ
17日前
国立大学法人 東京大学
ドローンを用いた配送システム
2日前
太平洋セメント株式会社
セメント組成物
16日前
国立大学法人 東京大学
情報処理システム、情報処理方法及びプログラム
16日前
NTT株式会社
通信システム、方法及びプログラム
2日前
NTT株式会社
通信システム、方法及びプログラム
2日前
NTT株式会社
座屈剥離構造の予測装置および予測方法
2日前
NTT株式会社
電子署名システム、方法及びプログラム
2日前
国立大学法人 東京大学
マイクロ粒子
4日前
国立大学法人 東京大学
アデノ随伴ウイルスセロタイプ9に対するアプタマー及びその使用
6日前
国立大学法人 東京大学
ゼオライトの加熱方法、反応方法、反応生成物の製造方法、および触媒
6日前
清水建設株式会社
土壌資材、土壌資材の設計方法および土壌資材の製造方法
6日前
学校法人日本大学
ファン装置、空調用室外機及び給湯ヒートポンプ用室外機
16日前
国立大学法人 東京大学
信号処理回路、半導体ピクセル検出器、情報処理方法、プログラム、情報処理装置、情報処理システム及び装置
16日前
国立大学法人 東京大学
crRNA、タイプI CRISPR-Casシステム、標的DNAを編集する方法、標的DNAが編集された細胞を製造する方法、標的DNAを検出する方法、及びキット
2日前
個人
フラワーコートA
1か月前
個人
地球保全システム
4日前
個人
工程設計支援装置
1か月前
個人
冷凍食品輸出支援構造
1か月前
個人
介護情報提供システム
2か月前
個人
為替ポイント伊達夢貯
1か月前
個人
設計支援システム
2か月前
個人
携帯情報端末装置
1か月前
個人
設計支援システム
2か月前
個人
表変換編集支援システム
24日前
個人
知財出願支援AIシステム
1か月前
個人
結婚相手紹介支援システム
1か月前
株式会社カクシン
支援装置
2か月前
個人
行動時間管理システム
26日前
個人
パスワード管理支援システム
24日前
続きを見る
他の特許を見る