TOP
|
特許
|
意匠
|
商標
特許ウォッチ
Twitter
他の特許を見る
公開番号
2025125494
公報種別
公開特許公報(A)
公開日
2025-08-27
出願番号
2024135485
出願日
2024-08-14
発明の名称
超音波モータシステム
出願人
国立大学法人 東京大学
,
株式会社新生工業
代理人
弁理士法人平和国際特許事務所
主分類
H02N
2/16 20060101AFI20250820BHJP(電力の発電,変換,配電)
要約
【課題】超音波モータの動作を良好にする。
【解決手段】超音波モータシステム1は、超音波モータ10と、超音波モータ10を動作させるように超音波モータ10に交流電圧を印加するように構成されたモータ駆動回路60とを備える。モータ駆動回路60は、前記交流電圧の周波数である駆動周波数と、前記駆動周波数の周期的な基準信号と前記交流電圧との位相差を意味する駆動電圧の位相とを変化させることで、超音波モータ10の動作状態を変更させるように構成されている。
【選択図】図1
特許請求の範囲
【請求項1】
超音波モータと、
前記超音波モータを動作させるように前記超音波モータに交流電圧を印加するように構成されたモータ駆動回路と
を備え、
前記モータ駆動回路は、前記交流電圧の周波数である駆動周波数と、前記駆動周波数の周期的な基準信号と前記交流電圧との位相差を意味する駆動電圧の位相とを変化させることで、前記超音波モータの動作状態を変更させるように構成されている、
超音波モータシステム。
続きを表示(約 1,800 文字)
【請求項2】
前記超音波モータの状態に関する状態情報を取得するセンサと、
前記超音波モータの目標とする状態に関する目標情報と前記状態情報とを取得し、当該目標情報と当該状態情報とに基づいて最適な前記駆動周波数と前記駆動電圧の位相とを決定し、当該最適な駆動周波数と駆動電圧の位相とに関する制御指令値を前記モータ駆動回路に出力するように構成された制御装置と
をさらに備える、請求項1に記載の超音波モータシステム。
【請求項3】
前記制御装置は、前記目標情報及び前記状態情報の入力に対して前記最適な駆動周波数と駆動電圧の位相とを出力するように構成された学習済みモデルを搭載している、請求項2に記載の超音波モータシステム。
【請求項4】
超音波モータを動作させるように当該超音波モータに印加する交流電圧を制御して、前記超音波モータの動作を制御する制御装置であって、
前記超音波モータの状態に関する状態情報と前記超音波モータの目標とする状態に関する目標情報とを取得し、
前記交流電圧の周波数である駆動周波数と、前記駆動周波数の周期的な基準信号と前記交流電圧との位相差を意味する駆動電圧の位相とについて、前記目標情報と前記状態情報とに基づいて最適な前記駆動周波数と前記駆動電圧の位相とを決定し、
前記最適な駆動周波数と駆動電圧の位相とに関する制御指令値を出力する
ように構成されている、制御装置。
【請求項5】
超音波モータを動作させるように当該超音波モータに印加する交流電圧を制御して、前記超音波モータの動作を制御する制御方法であって、
前記交流電圧の周波数である駆動周波数と、前記駆動周波数の周期的な基準信号と前記交流電圧との位相差を意味する駆動電圧の位相とを変化させることで、前記超音波モータの動作状態を変更させることを含む、
超音波モータの制御方法。
【請求項6】
コンピュータに超音波モータを動作させるように当該超音波モータに印加する交流電圧を制御して前記超音波モータの動作を制御させるための制御プログラムであって、前記コンピュータに、
前記超音波モータの状態に関する状態情報と前記超音波モータの目標とする状態に関する目標情報とを取得することと、
前記交流電圧の周波数である駆動周波数と、前記駆動周波数の周期的な基準信号と前記交流電圧との位相差を意味する駆動電圧の位相とについて、前記目標情報と前記状態情報とに基づいて最適な前記駆動周波数と前記駆動電圧の位相とを決定することと、
前記最適な駆動周波数と駆動電圧の位相とに関する制御指令値を出力することと
を実行させるための制御プログラム。
【請求項7】
前記最適な前記駆動周波数と前記駆動電圧の位相とを決定することは、前記目標情報及び前記状態情報の入力に対して前記最適な前記駆動周波数と前記駆動電圧の位相とを出力するように構成された学習済みモデルを用いて行われる、請求項6に記載の制御プログラム。
【請求項8】
超音波振動体を振動させるように前記超音波振動体に交流電圧を印加するように構成された駆動回路を備える駆動装置であって、
前記駆動回路は、前記交流電圧の周波数である駆動周波数と、前記駆動周波数の周期的な基準信号と前記交流電圧との位相差を意味する駆動電圧の位相とを変化させることで、前記超音波振動体の動作状態を変更させるように構成されている、
超音波振動体用の駆動装置。
【請求項9】
前記超音波振動体の状態に関する状態情報と前記超音波振動体の目標とする状態に関する目標情報とを取得し、当該状態情報と当該目標情報とに基づいて最適な前記駆動周波数と前記駆動電圧の位相とを決定し、当該最適な駆動周波数と駆動電圧の位相とに関する制御指令値を前記駆動回路に出力するように構成された制御装置をさらに備える、請求項8に記載の駆動装置。
【請求項10】
請求項8又は9に記載の駆動装置と、
前記超音波振動体を備える超音波機器と
を備える超音波機器システム。
(【請求項11】以降は省略されています)
発明の詳細な説明
【技術分野】
【0001】
本発明は、超音波モータシステム、超音波振動体の駆動装置等に関する。
続きを表示(約 1,600 文字)
【背景技術】
【0002】
超音波モータは、小型で高トルクが得られ、高静粛であり、非通電時に大きな保持力が得られるなど、多くの利点を有する。一方で、モータ自体が非線形特性を有し、動作に多くのパラメータが関連することなどから、その制御は比較的難しい。このため、超音波モータの制御について、種々の検討がなされている。例えば、特許文献1には、深層強化学習により得られた学習済みモデルを用いて、超音波モータの制御のための制御信号を生成することなどが開示されている。また、例えば、特許文献2には、遺伝的アルゴリズムの実行によって決定したニューラルネットワークの出力を超音波モータの制御に活用することなどが開示されている。
【先行技術文献】
【特許文献】
【0003】
国際公開第2023/068370号
国際公開第2007/049412号
【発明の概要】
【発明が解決しようとする課題】
【0004】
本発明は、超音波モータを含む超音波機器の動作を良好にすることを目的とする。
【課題を解決するための手段】
【0005】
本発明の一態様によれば、超音波モータシステムは、超音波モータと、前記超音波モータを動作させるように前記超音波モータに交流電圧を印加するように構成されたモータ駆動回路とを備え、前記モータ駆動回路は、前記交流電圧の周波数である駆動周波数と、前記駆動周波数の周期的な基準信号と前記交流電圧との位相差を意味する駆動電圧の位相とを変化させることで、前記超音波モータの動作状態を変更させるように構成されている。
【発明の効果】
【0006】
本発明によれば、超音波モータを含む超音波機器の動作を良好にできる。
【図面の簡単な説明】
【0007】
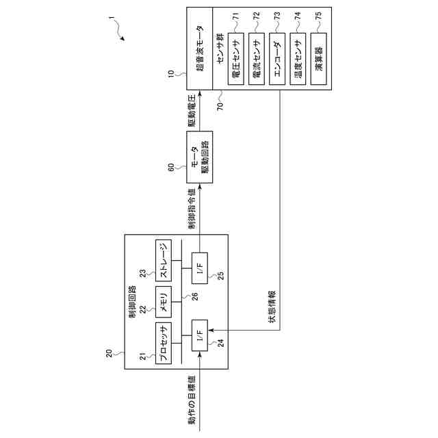
図1は、一実施形態に係る超音波モータシステムの構成例の概略を示すブロック図である。
図2は、一実施形態に係る進行波型の超音波モータの構成例の概略を示す図である。
図3は、超音波モータのステータの振動振幅と駆動周波数との関係の一例を示す図である。
図4は、超音波モータの回転数の調整について説明するための模式図であり、(a)は従来の駆動周波数のみを変更する場合を模式的に示す図であり、(b)は一実施形態に係る駆動周波数と駆動電圧の位相とを変更する場合を模式的に示す図である。
図5は、ステータの振動振幅に比例する電流値を目標値とするための、超音波モータの駆動周波数及び駆動電圧の位相の時間変化と、そのときに得られる電流の時間変化とに関する数値解析の結果の一例を示す図である。
図6は、制御装置による超音波モータの制御に係る動作の一例の概略を示すフローチャートである。
【発明を実施するための形態】
【0008】
一実施形態について図面を参照して説明する。本実施形態は、超音波モータシステムに関する。この超音波モータシステムは、超音波モータを含み、当該超音波モータの動作が適切に制御されるように構成されている。
【0009】
[システム構成]
図1は、本実施形態に係る超音波モータシステム1の構成例の概略を示すブロック図である。超音波モータシステム1は、超音波モータ10と、制御装置20と、モータ駆動回路60と、センサ群70とを備える。
【0010】
〈超音波モータの構成の概略〉
超音波モータ10は、超音波振動によって動作するどのような方式の超音波モータでもよいが、本実施形態では、振動型アクチュエータの一形態である回転型の進行波方式の超音波モータである。図2は、本実施形態に係る超音波モータ10の構成例の概略を示す図である。図2は、超音波モータ10の構造が見えるように、各部が切断された状態を示している。
(【0011】以降は省略されています)
この特許をJ-PlatPat(特許庁公式サイト)で参照する
関連特許
国立大学法人 東京大学
ガス処理方法
11日前
国立大学法人 東京大学
担持金属触媒
25日前
国立大学法人 東京大学
せん妄判定方法
1か月前
国立大学法人 東京大学
コンパレータ回路
15日前
国立大学法人 東京大学
ビーム追従システム
6日前
国立大学法人 東京大学
光学装置及びレーザー
3か月前
国立大学法人 東京大学
超音波モータシステム
1か月前
国立大学法人 東京大学
超音波モータシステム
1か月前
国立大学法人 東京大学
超音波モータシステム
1か月前
AGC株式会社
組成物
3か月前
国立大学法人 東京大学
結晶、及びその製造方法
2か月前
国立大学法人 東京大学
肝臓オルガノイド成熟培地
5日前
国立大学法人 東京大学
推定装置、及びプログラム
26日前
国立大学法人 東京大学
テラヘルツ帯同期検波回路
1か月前
NTT株式会社
圧力センサ
26日前
国立大学法人 東京大学
接着性細胞の浮遊培養用基材
11日前
国立大学法人 東京大学
テラヘルツ波帯位相変調回路
1か月前
国立大学法人 東京大学
嗅覚受容体の応答感度増強剤
2か月前
国立大学法人 東京大学
読出回路及び磁気メモリ装置
25日前
国立大学法人 東京大学
ドローンを用いた配送システム
11日前
国立大学法人 東京大学
情報処理装置、及びプログラム
1か月前
住友化学株式会社
原子力電池
4か月前
株式会社アイシン
有機酸除去方法
3か月前
国立大学法人 東京大学
光デバイス及びコヒーレント受信器
1か月前
積水化学工業株式会社
酸素発生剤
1か月前
ダイキン工業株式会社
層及び構造体
3か月前
古河電気工業株式会社
超電導モータ
1か月前
国立大学法人 東京大学
皮膚微生物叢を制御するための溶菌剤
3か月前
国立大学法人 東京大学
ホウ素含有化合物及びそれを含む医薬
2か月前
国立大学法人 東京大学
通信装置、制御方法、及びプログラム
5日前
国立大学法人 東京大学
静電容量式センサ及びロボットシステム
1か月前
国立大学法人 東京大学
肝臓オルガノイドを増殖させるための培地
4か月前
太平洋セメント株式会社
セメント組成物
25日前
国立大学法人 東京大学
手指アシスト装置および関節動作支援方法
1か月前
国立大学法人 東京大学
ガス成分検知装置及びガス成分計測システム
1か月前
国立大学法人 東京大学
学習プログラム、情報処理装置及び学習方法
今日
続きを見る
他の特許を見る