TOP
|
特許
|
意匠
|
商標
特許ウォッチ
Twitter
他の特許を見る
公開番号
2025136825
公報種別
公開特許公報(A)
公開日
2025-09-19
出願番号
2024035700
出願日
2024-03-08
発明の名称
人数計数装置、人数計数方法及びプログラム
出願人
日本電気株式会社
代理人
個人
主分類
G07B
15/00 20110101AFI20250911BHJP(チェック装置)
要約
【課題】駅を利用する人物の移動目的を低コストで調査できる人数計数装置、人数計数方法及びプログラムを提供できる。
【解決手段】本開示の人数計数装置10は、取得部11、判別部12、計数部13及び出力部14を備える。取得部11は、駅に設置された改札を通過する人物を含む画像を取得する。判別部12は、画像に含まれる人物の移動目的を判別する。計数部13は、移動目的ごとに当該人物の数を計数する。出力部14は、移動目的ごとの当該人物の数を出力する。
【選択図】図1
特許請求の範囲
【請求項1】
駅に設置された改札を通過する人物を含む画像を取得する取得部と、
前記画像に含まれる前記人物の移動目的を判別する判別部と、
前記移動目的ごとに前記人物の数を計数する計数部と、
前記移動目的ごとの前記人物の数を出力する出力部と、を備える
人物計数装置。
続きを表示(約 1,100 文字)
【請求項2】
前記画像に含まれる前記人物の個人情報を特定する特定部をさらに備え、
前記出力部は、
前記人物の個人情報と前記人物の移動目的とを紐づけた情報を出力する
請求項1に記載の人物計数装置。
【請求項3】
前記出力部は、
前記移動目的ごとの前記人物の数を表示装置に表示する
請求項1に記載の人物計数装置。
【請求項4】
前記出力部は、
前記移動目的ごとの前記人物の数を外部装置に送信する
請求項1に記載の人物計数装置。
【請求項5】
前記改札は複数あり、
前記計数部は、
前記複数の改札のそれぞれについて、前記移動目的ごとに前記人物の数を計数する
請求項1に記載の人物計数装置。
【請求項6】
前記個人情報が特定された人物の行先を特定する特定部をさらに備え、
前記計数部は、
前記行先ごとに前記個人情報が特定された人物の数を計数し、
前記出力部は、
前記行先ごとの前記個人情報が特定された人物の数を出力する
請求項2に記載の人物計数装置。
【請求項7】
前記個人情報が特定された人物の利用する駅構内の施設を特定する特定部をさらに備え、
前記計数部は、
前記利用される駅構内の施設ごとに前記個人情報が特定された人物の数を計数し、
前記出力部は、
前記利用される駅構内の施設ごとの前記個人情報が特定された人物の数を出力する
請求項2に記載の人物計数装置。
【請求項8】
前記移動目的ごとの前記人物の数に基づいて、前記駅を利用する人物に対するサービス情報を生成するサービス生成部をさらに備え、
前記出力部は、
前記サービス情報を出力する
請求項1に記載の人物計数装置。
【請求項9】
駅に設置された改札を通過する人物を含む画像を取得し、
前記画像に含まれる前記人物の移動目的を判別し、
前記移動目的ごとに前記人物の数を計数し、
前記移動目的ごとの前記人物の数を出力する
人物計数方法。
【請求項10】
駅に設置された改札を通過する人物を含む画像を取得し、
前記画像に含まれる前記人物の移動目的を判別し、
前記移動目的ごとに前記人物の数を計数し、
前記移動目的ごとの前記人物の数を出力する処理をコンピュータに実行させる
プログラム。
発明の詳細な説明
【技術分野】
【0001】
本発明は、人数計数装置、人数計数方法及びプログラムに関する。
続きを表示(約 1,500 文字)
【背景技術】
【0002】
特許文献1には、駅の改札に入場する利用者のICカードから属性を取得し、所定の属性を持つ利用者(例えば男性)の数と、所定の属性を持たない利用者(例えば女性)の数とを算出する技術が開示されている。
【先行技術文献】
【特許文献】
【0003】
特開2015-225620号公報
【発明の概要】
【発明が解決しようとする課題】
【0004】
駅を利用する人物の移動目的(例:通勤・通学目的やプライベート目的)に関する情報は、様々なサービス(例えば、駅広告や駅構内の店舗での商品の販売等)に付加価値をつけることができるため、求められている。しかしながら、特許文献1に係る技術では、駅を利用する人物の数を算出するだけで人物の移動目的を調査できない。そのため、当該技術では、当該移動目的の調査をするとなると、人手で行う必要があるが、その場合には工数がかかり、コストがかかるという課題があった。
【0005】
本開示は、そのような技術を鑑みることによって、駅を利用する人物の移動目的を低コストで調査できる人数計数装置、人数計数方法及びプログラムを提供することを目的とする。
【課題を解決するための手段】
【0006】
本開示の人数計数装置は、
駅に設置された改札を通過する人物を含む画像を取得する取得部と、
前記画像に含まれる前記人物の移動目的を判別する判別部と、
前記移動目的ごとに前記人物の数を計数する計数部と、
前記移動目的ごとの前記人物の数を出力する出力部と、を備える。
【0007】
本開示の人数計数方法は、
駅に設置された改札を通過する人物を含む画像を取得し、
前記画像に含まれる前記人物の移動目的を判別し、
前記移動目的ごとに前記人物の数を計数し、
前記移動目的ごとの前記人物の数を出力する。
【0008】
本開示のプログラムは、
駅に設置された改札を通過する人物を含む画像を取得し、
前記画像に含まれる前記人物の移動目的を判別し、
前記移動目的ごとに前記人物の数を計数し、
前記移動目的ごとの前記人物の数を出力する処理をコンピュータに実行させる。
【発明の効果】
【0009】
本開示によって、駅を利用する人物の移動目的を低コストで調査できる人数計数装置、人数計数方法及びプログラムを提供できる。
【図面の簡単な説明】
【0010】
本実施形態に係る人数計数装置10の構成の一例を示すブロック図である。
本実施形態に係る人数計数システム2の構成の一例を示すブロック図である。
本実施形態に係る人数計数システム2における人物の改札A1~改札A3への入場時の動作の一例を示すフローチャートである。
本実施形態に係る人数計数装置20によって算出される改札A1~改札A3における人数計数結果の一例を示す図である。
本実施形態に係る人数計数システム3の構成の一例を示すブロック図である。
本実施形態に係る人数計数システム3の人数計数装置30における人物の改札A1~改札A3への入場時の動作の一例を示すフローチャートである。
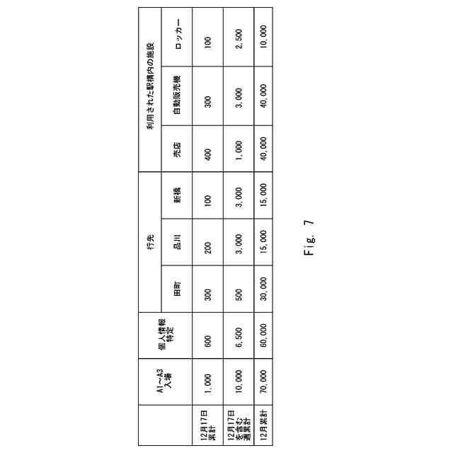
本実施形態に係る人数計数装置30によって算出される改札A1~改札A3における人数計数結果の一例を示す図である。
本実施形態に係るコンピュータ1000の構成の一例を示すブロック図である。
【発明を実施するための形態】
(【0011】以降は省略されています)
この特許をJ-PlatPat(特許庁公式サイト)で参照する
関連特許
日本電気株式会社
分析装置
5日前
日本電気株式会社
マルチバンドバラン
23日前
日本電気株式会社
量子回路装置と制御方法
5日前
日本電気株式会社
通信装置および通信方法
1日前
日本電気株式会社
送信装置および通信装置
1日前
日本電気株式会社
量子回路装置と制御方法
5日前
日本電気株式会社
検知装置および検知方法
5日前
日本電気株式会社
分析方法および分析システム
2日前
日本電気株式会社
端末装置および無線通信方法
16日前
日本電気株式会社
機器冷却装置及びその冷却方法
17日前
日本電気株式会社
共振器及びそれを備えた導波回路
3日前
日本電気株式会社
プログラム、算出装置、及び方法
17日前
日本電気株式会社
ピーク抑圧装置及びピーク抑圧方法
15日前
日本電気株式会社
推定装置、推定方法及びプログラム
8日前
日本電気株式会社
推定装置、推定方法及びプログラム
8日前
日本電気株式会社
システム及びマイグレーション方法
5日前
日本電気株式会社
波長可変レーザ装置及びその構成方法
1日前
日本電気株式会社
画像管理システムおよび画像管理方法
3日前
日本電気株式会社
推定装置、推定方法、及び、記録媒体
2日前
日本電気株式会社
処理装置、処理方法、及びプログラム
5日前
日本電気株式会社
注文端末、注文受付方法及びプログラム
1日前
日本電気株式会社
管理システム、管理方法及びプログラム
15日前
日本電気株式会社
通信装置、通信方法及び通信プログラム
2日前
日本電気株式会社
通信システム及びパケット順序補正方法
16日前
日本電気株式会社
予測システム、予測方法及びプログラム
8日前
日本電気株式会社
処理システム、処理方法およびプログラム
8日前
日本電気株式会社
管理装置、管理方法および管理プログラム
3日前
日本電気株式会社
画像選択装置、画像選択方法及び記憶媒体
3日前
日本電気株式会社
情報処理システム、処理方法、プログラム
5日前
日本電気株式会社
映像伝送装置、映像伝送方法、プログラム
5日前
日本電気株式会社
情報処理装置、情報処理方法、プログラム
3日前
日本電気株式会社
映像処理装置、映像処理方法、プログラム
5日前
日本電気株式会社
性能監視装置、性能監視方法、プログラム
1日前
日本電気株式会社
通信システム、通信方法及び、プログラム
1日前
日本電気株式会社
監視システム、監視方法、およびプログラム
2日前
日本電気株式会社
処理システム、処理方法、およびプログラム
3日前
続きを見る
他の特許を見る