TOP
|
特許
|
意匠
|
商標
特許ウォッチ
Twitter
他の特許を見る
10個以上の画像は省略されています。
公開番号
2025143704
公報種別
公開特許公報(A)
公開日
2025-10-02
出願番号
2024043076
出願日
2024-03-19
発明の名称
推定装置、推定方法、及び、記録媒体
出願人
日本電気株式会社
代理人
個人
,
個人
,
個人
主分類
B64G
3/00 20060101AFI20250925BHJP(航空機;飛行;宇宙工学)
要約
【課題】宇宙空間から地上を撮像可能な機能を有する宇宙物体の姿勢を確実に推定することが可能な推定装置等を提供する。
【解決手段】推定装置において、特徴量生成手段は、宇宙空間から地上を撮像することが可能な撮像機能を有する宇宙物体を観測することにより得られた観測データを用いて特徴量を生成する。姿勢推定手段は、特徴量の入力に応じ、宇宙物体の姿勢が複数の姿勢のうちのいずれに該当するかを示す推定結果を出力するように学習された推定モデルを用い、観測データが得られた際の宇宙物体の姿勢を推定する。
【選択図】図3
特許請求の範囲
【請求項1】
宇宙空間から地上を撮像することが可能な撮像機能を有する宇宙物体を観測することにより得られた観測データを用いて特徴量を生成する特徴量生成手段と、
前記特徴量の入力に応じ、前記宇宙物体の姿勢が複数の姿勢のうちのいずれに該当するかを示す推定結果を出力するように学習された推定モデルを用い、前記観測データが得られた際の前記宇宙物体の姿勢を推定する姿勢推定手段と、
を有する推定装置。
続きを表示(約 1,300 文字)
【請求項2】
前記宇宙物体は、太陽光から得られた電力を蓄積して利用することが可能な充電機能をさらに有し、
前記推定モデルは、前記特徴量の入力に応じ、前記宇宙物体の姿勢が撮像状態及び充電状態を含む前記複数の姿勢のうちのいずれに該当するかを示す推定結果を出力するように学習されている請求項1に記載の推定装置。
【請求項3】
前記宇宙物体は、地球の低軌道帯を周回する衛星であり、
前記観測データには、前記宇宙物体が地上に設けられた観測施設の観測範囲の内部に入ったタイミングから、前記宇宙物体が当該観測範囲の外部へ出たタイミングまでの期間において得られた観測値として、前記観測施設から照射された電磁波が前記宇宙物体において反射された際の電磁波の強度に応じた値が少なくとも含まれている請求項1に記載の推定装置。
【請求項4】
前記観測値には、前記観測施設から前記宇宙物体までの距離、当該距離の変化に応じて得られた距離変化率、前記宇宙物体の水平方向の位置に対応する角度、及び、前記宇宙物体の上方向の位置に対応する角度のうちの少なくとも1つが更に含まれている請求項3に記載の推定装置。
【請求項5】
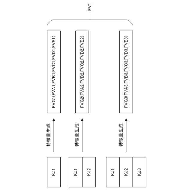
前記特徴量生成手段は、前記観測データの複数の観測時刻各々に紐づけられた複数の観測値を用いて前記特徴量を生成する請求項1に記載の推定装置。
【請求項6】
前記特徴量生成手段は、前記観測データに含まれる一の観測時刻に対応する前記特徴量を、前記観測データにおける当該一の観測時刻以前に得られた各観測値を用いて生成する請求項5に記載の推定装置。
【請求項7】
前記複数の観測値には、地上に設けられた観測施設から照射された電磁波が前記宇宙物体において反射された際の電磁波の強度に応じた値が少なくとも含まれている請求項5に記載の推定装置。
【請求項8】
前記推定モデルは、前記観測データを用いて生成された前記特徴量と、前記観測データに含まれる前記特徴量の生成に用いられた観測値と、の入力に応じて前記推定結果を出力するように学習されている請求項1に記載の推定装置。
【請求項9】
コンピュータが実行する推定方法であって、
宇宙空間から地上を撮像することが可能な撮像機能を有する宇宙物体を観測することにより得られた観測データを用いて特徴量を生成し、
前記特徴量の入力に応じ、前記宇宙物体の姿勢が複数の姿勢のうちのいずれに該当するかを示す推定結果を出力するように学習された推定モデルを用い、前記観測データが得られた際の前記宇宙物体の姿勢を推定する推定方法。
【請求項10】
宇宙空間から地上を撮像することが可能な撮像機能を有する宇宙物体を観測することにより得られた観測データを用いて特徴量を生成し、
前記特徴量の入力に応じ、前記宇宙物体の姿勢が複数の姿勢のうちのいずれに該当するかを示す推定結果を出力するように学習された推定モデルを用い、前記観測データが得られた際の前記宇宙物体の姿勢を推定する処理をコンピュータに実行させるプログラムを記録した記録媒体。
発明の詳細な説明
【技術分野】
【0001】
本開示は、宇宙物体の姿勢の推定に利用可能な技術に関する。
続きを表示(約 1,100 文字)
【背景技術】
【0002】
人工衛星等の宇宙物体の姿勢の推定に利用可能な技術が提案されている。
【0003】
具体的には、例えば、特許文献1には、様々なレーダからのレーダ断面統計を使用して、低軌道常在宇宙物体の姿勢安定性を推定する観点が開示されている。
【先行技術文献】
【特許文献】
【0004】
特表2022-522170号公報
【発明の概要】
【発明が解決しようとする課題】
【0005】
しかし、特許文献1に開示された技術によれば、例えば、宇宙空間から地上を撮像可能な機能を有する宇宙物体の姿勢を正しく推定できない場合がある、という課題が生じている。
【0006】
本開示の1つの目的は、宇宙空間から地上を撮像可能な機能を有する宇宙物体の姿勢を確実に推定することが可能な推定装置を提供することにある。
【課題を解決するための手段】
【0007】
本開示の一つの観点では、推定装置は、宇宙空間から地上を撮像することが可能な撮像機能を有する宇宙物体を観測することにより得られた観測データを用いて特徴量を生成する特徴量生成手段と、前記特徴量の入力に応じ、前記宇宙物体の姿勢が複数の姿勢のうちのいずれに該当するかを示す推定結果を出力するように学習された推定モデルを用い、前記観測データが得られた際の前記宇宙物体の姿勢を推定する姿勢推定手段と、を有する。
【0008】
本開示の他の観点では、コンピュータが実行する推定方法は、宇宙空間から地上を撮像することが可能な撮像機能を有する宇宙物体を観測することにより得られた観測データを用いて特徴量を生成し、前記特徴量の入力に応じ、前記宇宙物体の姿勢が複数の姿勢のうちのいずれに該当するかを示す推定結果を出力するように学習された推定モデルを用い、前記観測データが得られた際の前記宇宙物体の姿勢を推定する。
【0009】
本開示のさらに他の観点では、記録媒体は、宇宙空間から地上を撮像することが可能な撮像機能を有する宇宙物体を観測することにより得られた観測データを用いて特徴量を生成し、前記特徴量の入力に応じ、前記宇宙物体の姿勢が複数の姿勢のうちのいずれに該当するかを示す推定結果を出力するように学習された推定モデルを用い、前記観測データが得られた際の前記宇宙物体の姿勢を推定する処理をコンピュータに実行させるプログラムを記録する。
【発明の効果】
【0010】
本開示によれば、宇宙空間から地上を撮像可能な機能を有する宇宙物体の姿勢を確実に推定することが可能となる。
【図面の簡単な説明】
(【0011】以降は省略されています)
この特許をJ-PlatPat(特許庁公式サイト)で参照する
関連特許
日本電気株式会社
分析装置
11日前
日本電気株式会社
光集積回路素子
今日
日本電気株式会社
レーザモジュール
1日前
日本電気株式会社
超伝導量子回路装置
1日前
日本電気株式会社
受信器および通信装置
2日前
日本電気株式会社
通信装置および通信方法
7日前
日本電気株式会社
量子回路装置と制御方法
11日前
日本電気株式会社
送信装置および通信装置
7日前
日本電気株式会社
検知装置および検知方法
11日前
日本電気株式会社
システム、装置及び方法
1日前
日本電気株式会社
量子回路装置と制御方法
11日前
日本電気株式会社
光伝送システムおよび方法
3日前
日本電気株式会社
分析方法および分析システム
8日前
日本電気株式会社
制御装置、プログラム及び方法
1日前
日本電気株式会社
兆候検知装置および兆候検知方法
3日前
日本電気株式会社
共振器及びそれを備えた導波回路
9日前
日本電気株式会社
演算処理装置および演算処理方法
3日前
日本電気株式会社
推定装置、推定方法及びプログラム
14日前
日本電気株式会社
放送用システムおよび字幕作成方法
3日前
日本電気株式会社
システム及びマイグレーション方法
11日前
日本電気株式会社
推定装置、推定方法及びプログラム
1日前
日本電気株式会社
推定装置、推定方法及びプログラム
14日前
日本電気株式会社
波長可変レーザ装置及びその構成方法
7日前
日本電気株式会社
ソーナー装置、通信方法、プログラム
3日前
日本電気株式会社
処理装置、処理方法、及びプログラム
11日前
日本電気株式会社
推定装置、推定方法、及び、記録媒体
8日前
日本電気株式会社
情報処理装置、制御方法及び記憶媒体
1日前
日本電気株式会社
画像管理システムおよび画像管理方法
9日前
日本電気株式会社
通信装置、通信方法及び通信プログラム
8日前
日本電気株式会社
注文端末、注文受付方法及びプログラム
7日前
日本電気株式会社
学習装置、学習方法及び学習プログラム
1日前
日本電気株式会社
判別装置、判別方法、およびプログラム
3日前
日本電気株式会社
予測システム、予測方法及びプログラム
14日前
日本電気株式会社
映像伝送装置、映像伝送方法、プログラム
11日前
日本電気株式会社
動作認識装置、動作認識方法、プログラム
3日前
日本電気株式会社
情報処理システム、処理方法、プログラム
11日前
続きを見る
他の特許を見る