TOP
|
特許
|
意匠
|
商標
特許ウォッチ
Twitter
他の特許を見る
公開番号
2025145952
公報種別
公開特許公報(A)
公開日
2025-10-03
出願番号
2024046479
出願日
2024-03-22
発明の名称
性能監視装置、性能監視方法、プログラム
出願人
日本電気株式会社
代理人
個人
,
個人
,
個人
,
個人
主分類
G06F
11/30 20060101AFI20250926BHJP(計算;計数)
要約
【課題】ウェブサービスを行うアプリケーションの応答性能劣化に対する早期の解決を図る。
【解決手段】本開示の性能監視装置100は、ウェブサービスを提供するサーバの応答時間と、予め設定された複数の監視項目におけるサーバの性能を表す各性能情報と、を取得する取得部121と、応答時間が予め設定された応答基準を超えている場合に、応答時間と各性能情報との相関をそれぞれ算出する算出部122と、相関の算出結果に応じて、相関の算出に用いた性能情報と性能情報に対応する監視項目とを少なくとも含む通知を行う通知部123と、を備える。
【選択図】図5
特許請求の範囲
【請求項1】
ウェブサービスを提供するサーバの応答時間と、予め設定された複数の監視項目における前記サーバの性能を表す各性能情報と、を取得する取得部と、
前記応答時間が予め設定された応答基準を超えている場合に、前記応答時間と各前記性能情報との相関をそれぞれ算出する算出部と、
前記相関の算出結果に応じて、前記相関の算出に用いた前記性能情報と当該性能情報に対応する前記監視項目とを少なくとも含む通知を行う通知部と、
を備えた性能監視装置。
続きを表示(約 2,000 文字)
【請求項2】
請求項1に記載の性能監視装置であって、
前記取得部は、複数の前記サーバの前記応答時間をそれぞれ取得すると共に、複数の前記サーバの複数の前記監視項目における各前記性能情報をそれぞれ取得し、
前記算出部は、前記応答基準を超えている前記サーバの前記応答時間と、各前記性能情報と、の前記相関をそれぞれ算出し、
前記通知部は、前記相関の算出結果に応じて、前記相関の算出に用いた前記性能情報と、当該性能情報に対応する前記監視項目及び前記サーバと、の情報を少なくとも含む通知を行う通知部と、
性能監視装置。
【請求項3】
請求項2に記載の性能監視装置であって、
前記算出部は、前記相関の算出に用いた、前記応答時間と当該応答時間に対応する前記サーバ、並びに、前記性能情報と当該性能情報に対応する前記監視項目及び前記サーバ、の情報を少なくとも含む履歴情報を記録し、
前記通知部は、前記履歴情報に基づいて、前記相関の算出に用いた前記性能情報と、当該性能情報に対応する前記監視項目及び前記サーバと、の情報を少なくとも含む通知を行う、
性能監視装置。
【請求項4】
請求項3に記載の性能監視装置であって、
前記算出部は、前記履歴情報に、前記サーバの前記応答時間が前記応答基準を超えたときの時刻情報を関連付けて記憶し、
前記通知部は、前記履歴情報に関連付けられた前記時刻情報に基づいて当該履歴情報が予め設定された基準により新規に生じたと判断した場合に、当該履歴情報に含まれる前記性能情報と、当該性能情報に対応する前記監視項目及び前記サーバと、の情報を少なくとも含む通知を行う、
性能監視装置。
【請求項5】
請求項4に記載の性能監視装置であって、
前記通知部は、前記履歴情報における前記応答時間に対応する前記サーバが時刻の経過に伴い変化した場合に、当該履歴情報に含まれる前記性能情報と、当該性能情報に対応する前記監視項目及び前記サーバと、の情報を少なくとも含む通知を行う、
性能監視装置。
【請求項6】
請求項4に記載の性能監視装置であって、
前記通知部は、前記履歴情報における前記性能情報に対応する前記サーバ又は前記監視項目が時刻の経過に伴い変化した場合に、当該履歴情報に含まれる前記性能情報と、当該性能情報に対応する前記監視項目及び前記サーバと、の情報を少なくとも含む通知を行う、
性能監視装置。
【請求項7】
ウェブサービスを提供するサーバの応答時間と、予め設定された複数の監視項目における前記サーバの性能を表す各性能情報と、を取得し、
前記応答時間が予め設定された応答基準を超えている場合に、前記応答時間と各前記性能情報との相関をそれぞれ算出し、
前記相関の算出結果に応じて、前記相関の算出に用いた前記性能情報と当該性能情報に対応する前記監視項目とを少なくとも含む通知を行う、
性能監視方法。
【請求項8】
請求項7に記載の性能監視方法であって、
複数の前記サーバの前記応答時間をそれぞれ取得すると共に、複数の前記サーバの複数の前記監視項目における各前記性能情報をそれぞれ取得し、
前記応答基準を超えている前記サーバの前記応答時間と、各前記性能情報と、の前記相関をそれぞれ算出し、
前記相関の算出結果に応じて、前記相関の算出に用いた前記性能情報と、当該性能情報に対応する前記監視項目及び前記サーバと、の情報を少なくとも含む通知を行う、
性能監視方法。
【請求項9】
請求項8に記載の性能監視方法であって、
前記相関の算出に用いた、前記応答時間と当該応答時間に対応する前記サーバ、並びに、前記性能情報と当該性能情報に対応する前記監視項目及び前記サーバ、の情報を少なくとも含む履歴情報を記録し、
前記履歴情報に基づいて、前記相関の算出に用いた前記性能情報と、当該性能情報に対応する前記監視項目及び前記サーバと、の情報を少なくとも含む通知を行う、
性能監視方法。
【請求項10】
ウェブサービスを提供するサーバの応答時間と、予め設定された複数の監視項目における前記サーバの性能を表す各性能情報と、を取得し、
前記応答時間が予め設定された応答基準を超えている場合に、前記応答時間と各前記性能情報との相関をそれぞれ算出し、
前記相関の算出結果に応じて、前記相関の算出に用いた前記性能情報と当該性能情報に対応する前記監視項目とを少なくとも含む通知を行う、
処理をコンピュータに実行させるためのプログラム。
発明の詳細な説明
【技術分野】
【0001】
本開示は、性能監視装置、性能監視方法、プログラムに関する。
続きを表示(約 2,000 文字)
【背景技術】
【0002】
近年、企業により、クラウドコンピューティングを用いたサービス提供が普及している。一方で、ネットワークを介してウェブサービスを行っている企業にとっては、サービス提供を行うアプリケーションの応答性能劣化は顧客満足度の低下に繋がり、事業機会の損失ひいては売上低下に繋がるため、深刻な問題となる。このため、特許文献1に記載のように、アプリケーションの性能を監視し、アラートを通知することが行われている。具体的に、特許文献1では、リクエストに対するアプリケーションの応答時間を計測し、応答時間が基準値を超えた超過リクエストに応じて、アラートを通知することとしている。
【先行技術文献】
【特許文献】
【0003】
国際公開2015/136624号
【発明の概要】
【発明が解決しようとする課題】
【0004】
しかしながら、上述した特許文献1に記載の技術では、アラートの通知を受けた場合であっても、その原因を特定することは困難である。その結果、ウェブサービスを行うアプリケーションの応答性能劣化に対する早期の解決を図ることができない、という問題が生じる。
【0005】
このため、本開示の目的は、上述した課題である、ウェブサービスを行うアプリケーションの応答性能劣化に対する早期の解決を図ることができない、ことを解決することにある。
【課題を解決するための手段】
【0006】
本開示の一形態である性能監視装置は、
ウェブサービスを提供するサーバの応答時間と、予め設定された複数の監視項目における前記サーバの性能を表す各性能情報と、を取得する取得部と、
前記応答時間が予め設定された応答基準を超えている場合に、前記応答時間と各前記性能情報との相関をそれぞれ算出する算出部と、
前記相関の算出結果に応じて、前記相関の算出に用いた前記性能情報と当該性能情報に対応する前記監視項目とを少なくとも含む通知を行う通知部と、
を備えた、
という構成をとる。
また、本開示の一形態である性能監視方法は、
ウェブサービスを提供するサーバの応答時間と、予め設定された複数の監視項目における前記サーバの性能を表す各性能情報と、を取得し、
前記応答時間が予め設定された応答基準を超えている場合に、前記応答時間と各前記性能情報との相関をそれぞれ算出し、
前記相関の算出結果に応じて、前記相関の算出に用いた前記性能情報と当該性能情報に対応する前記監視項目とを少なくとも含む通知を行う、
という構成をとる。
また、本開示の一形態であるプログラムは、
ウェブサービスを提供するサーバの応答時間と、予め設定された複数の監視項目における前記サーバの性能を表す各性能情報と、を取得し、
前記応答時間が予め設定された応答基準を超えている場合に、前記応答時間と各前記性能情報との相関をそれぞれ算出し、
前記相関の算出結果に応じて、前記相関の算出に用いた前記性能情報と当該性能情報に対応する前記監視項目とを少なくとも含む通知を行う、
処理をコンピュータに実行させる、
という構成をとる。
【発明の効果】
【0007】
本開示は、以上のように構成されることにより、ウェブサービスを行うアプリケーションの応答性能劣化に対する早期の解決を図ることができる。
【図面の簡単な説明】
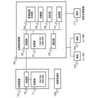
【0008】
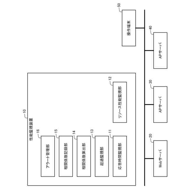
本開示にかかる性能監視システムの構成を示すブロック図である。
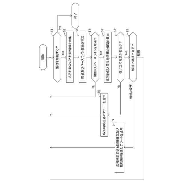
本開示にかかる性能監視装置の処理動作を示すフローチャートである。
本開示にかかる性能監視装置による処理の様子を示す図である。
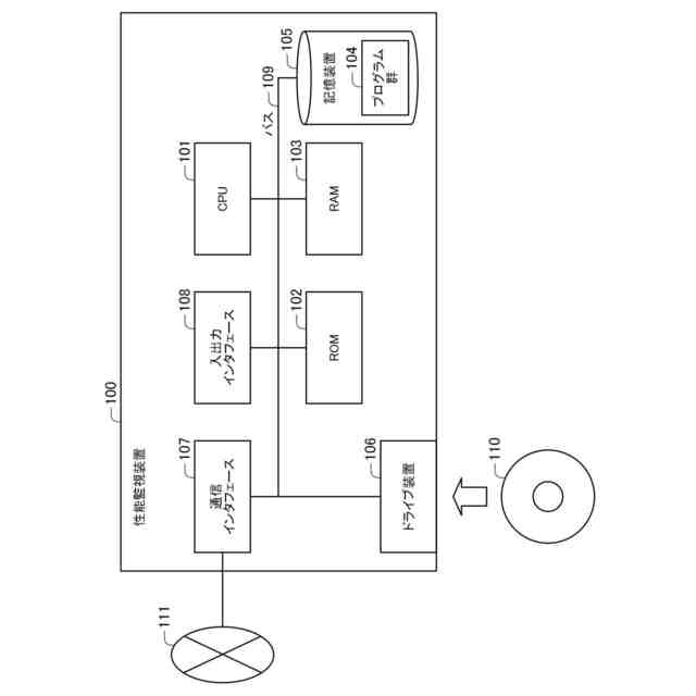
本開示にかかる性能監視装置のハードウェア構成を示すブロック図である。
本開示にかかる性能監視装置の構成を示すブロック図である。
【発明を実施するための形態】
【0009】
<第1の実施形態>
本開示の第1の実施形態について、図面を参照して説明する。なお、図面はいずれの実施形態においても関連しうる。
【0010】
本実施形態における性能監視システムは、ウェブサービスを行うアプリケーションを構成するWeb3層であるWebサーバ(ウェブサーバ)20、APサーバ(アプリケーションサーバ)30、DBサーバ(データベースサーバ)40、を監視対象とし、応答性能劣化のアラートを通知する機能を有する。但し、性能監視システムによる監視対象は、上述したサーバに限定されず、いかなるウェブサービスを提供するサーバやサーバ群であってもよい。
(【0011】以降は省略されています)
この特許をJ-PlatPat(特許庁公式サイト)で参照する
関連特許
日本電気株式会社
分析装置
9日前
日本電気株式会社
学習装置
1か月前
日本電気株式会社
学習装置
1か月前
日本電気株式会社
原子発振器
1か月前
日本電気株式会社
超伝導量子回路
29日前
日本電気株式会社
マルチバンドバラン
27日前
日本電気株式会社
受信器および通信装置
今日
日本電気株式会社
送信装置および通信装置
5日前
日本電気株式会社
検知装置および検知方法
9日前
日本電気株式会社
量子回路装置と制御方法
9日前
日本電気株式会社
量子回路装置と制御方法
9日前
日本電気株式会社
通信装置および通信方法
5日前
日本電気株式会社
光伝送システムおよび方法
1日前
日本電気株式会社
分析方法および分析システム
6日前
日本電気株式会社
端末装置および無線通信方法
20日前
日本電気株式会社
機器冷却装置及びその冷却方法
21日前
日本電気株式会社
共振器及びそれを備えた導波回路
7日前
日本電気株式会社
処理装置、方法、及びプログラム
1か月前
日本電気株式会社
TS合成装置および放送システム
1か月前
日本電気株式会社
プログラム、算出装置、及び方法
21日前
日本電気株式会社
兆候検知装置および兆候検知方法
1日前
日本電気株式会社
演算処理装置および演算処理方法
1日前
日本電気株式会社
放送用システムおよび字幕作成方法
1日前
日本電気株式会社
ピーク抑圧装置及びピーク抑圧方法
19日前
日本電気株式会社
リング共振器、およびその製造方法
1か月前
日本電気株式会社
リング共振器、およびその製造方法
1か月前
日本電気株式会社
システム及びマイグレーション方法
9日前
日本電気株式会社
推定装置、推定方法及びプログラム
12日前
日本電気株式会社
推定装置、推定方法及びプログラム
12日前
日本電気株式会社
推定装置、推定方法、及び、記録媒体
6日前
日本電気株式会社
画像管理システムおよび画像管理方法
7日前
日本電気株式会社
ソーナー装置、通信方法、プログラム
1日前
日本電気株式会社
処理装置、処理方法、及びプログラム
9日前
日本電気株式会社
波長可変レーザ装置及びその構成方法
5日前
日本電気株式会社
通信装置、通信方法及び通信プログラム
6日前
日本電気株式会社
通信システム及びパケット順序補正方法
20日前
続きを見る
他の特許を見る