TOP
|
特許
|
意匠
|
商標
特許ウォッチ
Twitter
他の特許を見る
10個以上の画像は省略されています。
公開番号
2025146377
公報種別
公開特許公報(A)
公開日
2025-10-03
出願番号
2024047117
出願日
2024-03-22
発明の名称
通信装置および通信方法
出願人
日本電気株式会社
代理人
個人
主分類
H04L
43/0823 20220101AFI20250926BHJP(電気通信技術)
要約
【課題】通信経路のリンク状態を推定し、リンク状態に好適に対応することができる通信装置を実現する。
【解決手段】通信装置は、通信によって受信した信号に対して信号処理を行うことにより、エラーを検出する信号処理部と、少なくともエラーの持続時間に基づいて、通信経路のリンク状態を推定する推定部と、リンク状態に関する情報を通知する通知部と、を備える。
【選択図】図1
特許請求の範囲
【請求項1】
通信によって受信した信号に対して信号処理を行うことにより、エラーを検出する信号処理手段と、
少なくとも前記エラーの持続時間に基づいて、通信経路のリンク状態を推定する推定手段と、
前記リンク状態に関する情報を通知する通知手段と、を備える、
通信装置。
続きを表示(約 1,100 文字)
【請求項2】
前記推定手段は、前記エラーの持続時間および前記エラーの発生頻度に基づいて、前記通信経路のリンク状態を推定する、
請求項1に記載の通信装置。
【請求項3】
前記推定手段は、障害がない場合の帯域から、前記エラーの持続時間に前記エラーの発生頻度を乗算した値、を差し引いた値を、前記通信における有効帯域とし、
前記通知手段は、前記有効帯域を通知する、
請求項2に記載の通信装置。
【請求項4】
前記推定手段は、前記通信を利用するアプリケーションの種別と、前記リンク状態とから、当該アプリケーションによる前記通信経路の使用の可否を推定する、
請求項1に記載の通信装置。
【請求項5】
前記通信は、空間光通信であり、
前記通信装置はさらに、前記空間光通信によって受信した光信号を電気信号に変換する光学処理手段を備え、
前記信号処理手段は、前記電気信号に対して信号処理を行うことにより、エラーを検出する、
請求項1~4のいずれか1項に記載の通信装置。
【請求項6】
通信によって受信した信号に対して信号処理を行うことにより、エラーを検出することと、
少なくとも前記エラーの持続時間に基づいて、通信経路のリンク状態を推定することと、
前記リンク状態に関する情報を通知することと、を含む、
通信方法。
【請求項7】
前記通信経路のリンク状態を推定することにおいて、前記エラーの持続時間および前記エラーの発生頻度に基づいて、前記通信経路のリンク状態を推定する、
請求項6に記載の通信方法。
【請求項8】
前記通信経路のリンク状態を推定することにおいて、障害がない場合の帯域から、前記エラーの持続時間に前記エラーの発生頻度を乗算した値、を差し引いた値を、前記通信における有効帯域とし、
前記リンク状態を通知することにおいて、前記有効帯域を通知する、
請求項7に記載の通信方法。
【請求項9】
前記通信経路のリンク状態を推定することにおいて、前記通信を利用するアプリケーションの種別と、前記リンク状態とから、当該アプリケーションによる前記通信経路の使用の可否を推定する、
請求項6に記載の通信方法。
【請求項10】
前記通信は、空間光通信であり、
前記空間光通信によって受信した光信号を電気信号に変換することをさらに含み、
前記エラーを検出することにおいて、前記電気信号に対して信号処理を行うことにより、エラーを検出する、
請求項6~9のいずれか1項に記載の通信方法。
発明の詳細な説明
【技術分野】
【0001】
本開示は、通信装置および通信方法に関する。
続きを表示(約 1,200 文字)
【背景技術】
【0002】
近年、伝送媒体を光とする空間光通信が注目されてきている。空間光通信は、外乱の影響を受けやすく、外乱によって通信品質が低下するといった状況が発生する。これに関連する技術として、下記の特許文献1に開示された発明を挙げることができる。
【0003】
下記の特許文献には、受信した1つまたは複数の測定値および受信した表示に基づいて、複数のコンポーネントの状態を推定し、受信した表示と複数のコンポーネントの推定された状態を使用して、受信電力量が所定の時間間隔内に最小受信電力を下回る可能性が高いと判断された場合、アウトバウンド信号のデータ速度を調整するための複数の調整技術のうちの調整技術を選択し、選択した調整技術を使用して通信システムの所定のコンポーネントを調整し、アウトバウンド信号のデータ速度を変更する、通信システムが開示されている。
【先行技術文献】
【特許文献】
【0004】
特表2022-508332号
【発明の概要】
【発明が解決しようとする課題】
【0005】
従来の方式において、フェージング周波数の高い障害をリンクダウン判定した場合、回線リンクダウン時間が長くなる、またはフラッピングが発生してネットワークが不安定になるといった問題がある。
【0006】
また、上記の特許文献1では、受信電力量が所定の時間間隔内に最小受信電力を下回る可能性が高いと判断された場合、アウトバウンド信号のデータ速度を調整するための複数の調整技術のうちの調整技術を選択するという手法が採用されている。しかしながら、通信経路のリンク状態を推定し、それに対応するといった手法は採られていない。
【0007】
本開示は、上記の問題に鑑みてなされたものであり、その一例示的目的は、通信経路のリンク状態を推定し、リンク状態に好適に対応することが可能な技術を提供することにある。
【課題を解決するための手段】
【0008】
本開示の一例示的側面に係る通信装置は、通信によって受信した信号に対して信号処理を行うことにより、エラーを検出する信号処理手段と、少なくとも前記エラーの持続時間に基づいて、通信経路のリンク状態を推定する推定手段と、前記リンク状態に関する情報を通知する通知手段と、を備える。
【0009】
本開示の一例示的側面に係る通信方法は、通信によって受信した信号に対して信号処理を行うことにより、エラーを検出することと、少なくとも前記エラーの持続時間に基づいて、通信経路のリンク状態を推定することと、前記リンク状態に関する情報を通知することと、を含む。
【発明の効果】
【0010】
本開示の一例示的側面によれば、通信経路のリンク状態を推定し、リンク状態に好適に対応することができるという一例示的効果を奏する。
【図面の簡単な説明】
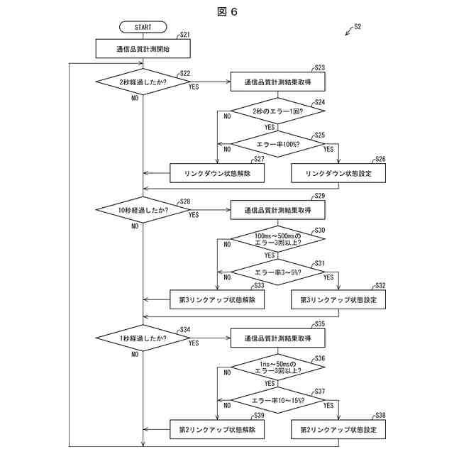
(【0011】以降は省略されています)
この特許をJ-PlatPat(特許庁公式サイト)で参照する
関連特許
日本電気株式会社
分析装置
4日前
日本電気株式会社
マルチバンドバラン
22日前
日本電気株式会社
検知装置および検知方法
4日前
日本電気株式会社
送信装置および通信装置
今日
日本電気株式会社
量子回路装置と制御方法
4日前
日本電気株式会社
量子回路装置と制御方法
4日前
日本電気株式会社
通信装置および通信方法
今日
日本電気株式会社
分析方法および分析システム
1日前
日本電気株式会社
端末装置および無線通信方法
15日前
日本電気株式会社
機器冷却装置及びその冷却方法
16日前
日本電気株式会社
共振器及びそれを備えた導波回路
2日前
日本電気株式会社
プログラム、算出装置、及び方法
16日前
日本電気株式会社
システム及びマイグレーション方法
4日前
日本電気株式会社
推定装置、推定方法及びプログラム
7日前
日本電気株式会社
推定装置、推定方法及びプログラム
7日前
日本電気株式会社
ピーク抑圧装置及びピーク抑圧方法
14日前
日本電気株式会社
波長可変レーザ装置及びその構成方法
今日
日本電気株式会社
処理装置、処理方法、及びプログラム
4日前
日本電気株式会社
推定装置、推定方法、及び、記録媒体
1日前
日本電気株式会社
画像管理システムおよび画像管理方法
2日前
日本電気株式会社
予測システム、予測方法及びプログラム
7日前
日本電気株式会社
注文端末、注文受付方法及びプログラム
今日
日本電気株式会社
通信装置、通信方法及び通信プログラム
1日前
日本電気株式会社
通信システム及びパケット順序補正方法
15日前
日本電気株式会社
管理システム、管理方法及びプログラム
14日前
日本電気株式会社
情報処理装置、情報処理方法、プログラム
2日前
日本電気株式会社
画像選択装置、画像選択方法及び記憶媒体
2日前
日本電気株式会社
映像処理装置、映像処理方法、プログラム
4日前
日本電気株式会社
管理装置、管理方法および管理プログラム
2日前
日本電気株式会社
通信システム、通信方法及び、プログラム
今日
日本電気株式会社
処理システム、処理方法およびプログラム
7日前
日本電気株式会社
マルチコアファイバ増幅器及び光増幅方法
22日前
日本電気株式会社
性能監視装置、性能監視方法、プログラム
今日
日本電気株式会社
映像伝送装置、映像伝送方法、プログラム
4日前
日本電気株式会社
情報処理システム、処理方法、プログラム
4日前
日本電気株式会社
処理システム、処理方法、およびプログラム
4日前
続きを見る
他の特許を見る